Материал: 4809

Внимание! Если размещение файла нарушает Ваши авторские права, то обязательно сообщите нам

16

признакам - только по длинам, только по диаметрам или комплексно - по длинам и по диаметрам.

При сортировке по размерным признакам длина и диаметр бревен определяются датчиками длины и датчиками диаметра, которые обычно расположены непосредственно у мест сброски и автоматически обмеривают проходящие мимо них бревна. Команда на сброску подается при совпадении результатов замера с размерами бревен, сбрасываемых в данный лесонакопитель. Поэтому сортировка по размерным признакам может осуществляться автоматически, без участия оператора.

Конструкции продольных сортировочных транспортеров. На сортировке круглых лесоматериалов в основном применяют цепные транспортеры. Применение канатных транспортеров ограничено.

Цепной транспортер ЛТ-86 является автоматизированным. Он имеет длину секции 130 м, оборудован гравитационными бревносбрасывателями односторонней сброски и командным аппаратом.

Транспортер ЛТ-86 выпускается в двух исполнениях: первое - для бревен диаметром до 1 м и длиной 1,6-6,5 м со скоростью цепи 0,85 м/с и мощностью двигателя 30 кВт; второе - для бревен диаметром до 0,6 и длиной 4,0- 7,5 м при скорости цепи около 1,3 м/с и мощностью двигателя 40 кВт. Он имеет тяговую разборную цепь с гравитационными бревносбрасывателями.

Транспортеры Б-22У-1 и ЛТ-44 длиной, соответственно, 120 и 130 м можно использовать на сортировке и транспортировании бревен. При автоматизированной сортировке на этих транспортерах применяют рычажные бревносбрасыватели.

Транспортер Б-22У-1 выпускается с цепью из круглой стали, и может сортировать бревна диаметром до 0,9 м и длиной 2,7-10 м при скорости цепи около 0,7 м/с.

Транспортер ЛТ-44 имеет тяговую разборную цепь, движущуюся со скоростью 0,7 или 0,8 м/с в зависимости от конструкции привода и может сортировать бревна диаметром до 1 м и длиной 2-10 м.

Транспортер ЛТ-182 снабжен механизмом двухсторонней сброски сортируемых бревен.

Канатный транспортер ТТС-1 длиной 250 м предназначен для сортировки и транспортирования бревен диаметром до 1 м и длиной 4-Юм при скорости каната 0,7-0,95 м/с. Транспортер оборудован канатоведущим шкивом с кулачковыми канатозахватами.

Вдоль эстакад транспортеров всех типов устраивают пешеходные мостики. У многосекционных транспортеров стыки секций размещены в закрытых будках, что создает благоприятные условия для обслуживания приводного устройства предыдущей секции и натяжного - последующей и защищает их от атмосферных осадков.

На береговых складах иногда применяют секционные транспортеры ЛТ-20. Отдельная секция представляет собой металлическую раму, на которой смонтированы приводное и натяжное устройства, цепь с траверсами и бревносбрасыватель. Последний установлен в конце секции и состоит из

17

двух шнеков, сидящих на горизонтальных валах. Когда бревно, подлежащее сброске на данной секции, оказывается над шнеками, включается их привод, они поворачиваются и, смещая бревно в поперечном направлении, сбрасывают его с транспортера. При изменении направления вращения шнеков бревно сбрасывают на другую сторону транспортера. Длина секции 6,8 м; скорость движения цепи 0,64 м/с; размер сортируемых бревен: длина 1,6…8 м, диаметр до 0,6 м; мощность двигателя привода 4 кВт.

При автоматизированной сортировке транспортер обслуживают операторы - по одному на командный аппарат, а также рабочий, который наблюдает за состоянием механизмов и систематически смазывает направляющие для скользящих траверс. При ручной сортировке каждые два-три лесонакопителя обслуживает один рабочий.

Принцип работы продольного сортировочного лесотранспортера (рис. 10) следующий: с приемного транспортера 1 раскряжевочной установки сортименты скатываются на сортировочный транспортер 2. В начале транспортера размещена кабина 4 оператора с пультом управления. Сортименты рассортировываются по лесонакопителям 3.

Рис. 10. Схема расположения на складе продольного сортировочного лесотранспортера

3 Сортировка на поперечных транспортерах.

Поперечные транспортеры применяют для автоматической сортировки как круглых лесоматериалов, так и досок. Характерной особенностью большинства поперечных сортировочных транспортеров является гравитационная сброска лесоматериалов, без использования бревносбрасывателей.

Сортировку на поперечных транспортерах можно выполнять по размерным признакам, по размерным и качественным признакам, а также по схемам раскроя. В последнем случае транспортер перемещает не отдельные сортименты, а раскряжеванные по определенной схеме хлысты.

Основными элементами поперечных сортировочных установок являются: поперечный транспортер, торцевыравнивающее устройство, лесонакопители или отводящие устройства, а также командный аппарат в тех случаях, когда сортировка производится по любым признакам или по схемам раскроя.

По конструктивному исполнению поперечные сортировочные установки подразделяют на установки с загрузкой нижних или верхних ветвей тягового устройства.

18

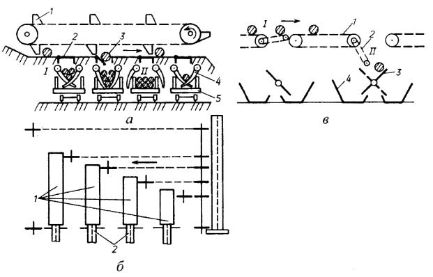
На поперечную сортировочную установку с загрузкой нижних ветвей транспортера (рис. 11, а) сортименты поступают по наклонной площадке, захватываются толкателями 1 и перемещаются в направлении, указанном стрелкой. На пути сортиментов расположены люки, в которые переваливаются соответствующие сортименты. Число люков зависит от дробности сортировки. При сортировке по размерным признакам люки постоянно открыты, но имеют разную длину, увеличивающуюся в направлении движения сортиментов.

Для сортировки по размерным и качественным признакам люки перекрываются автоматически управляемыми затворами 2 и имеют одинаковую длину. Если сортимент должен быть сброшен, затвор открывается, и сортимент 3 проваливается в люк. При этом остальные люки закрыты, а затворы служат опорами проходящим сортиментам.

Рис. 11. Схемы поперечных сортировочных транспортеров: а - с загрузкой нижних ветвей тягового устройства: 1 - толкатели; 2 - затворы; 3 - сортимент; б - с загрузкой верхних ветвей: 1 - люки; 2 - выносные транспортеры; в - с загрузкой верхних ветвей: 1 - секция основная; 2 - секция короткая; 3 - распределитель

Для сортировочной установки, работающей с загрузкой верхних ветвей (рис. 11, б), используется многоцепной поперечный транспортер без захватных устройств. Число цепей и их взаимное расположение зависят от дробности сортировки и разницы в длинах сортиментов. Перед подачей на сортировочную установку торцы сортиментов с одной стороны выравниваются. На пути движения сортиментов расположены открытые люки 1, имеющие раз-

19

ную длину. Сортировка осуществляется по возрастающим длинам. Сброшенные в люки сортименты поступают на выносные транспортеры 2. Разновидностью сортировочных установок с загрузкой верхних ветвей является вариант, изображенный на рис. 4, в. Поперечный многоцепной транспортер состоит из секций 1. Места сброски располагаются между основными секциями; они перекрыты короткими секциями 2, которые также являются поперечными транспортерами. Секции 2 при помощи пневмоили гидропривода могут поворачиваться в вертикальной плоскости. Для пропуска сортимента секция 2 занимает положение I. Если сортимент должен быть сброшен, то привод секции 2 автоматически включается, устанавливая ее в положение II, сортимент скатывается, попадая на распределитель 3, находящийся на горизонтальной оси. Распределитель может занимать два положения (изображенные сплошной линией и пунктиром) в зависимости от того, на какой из выносных продольных транспортеров 4 должен поступить сортимент. Данную установку можно применять для сортировки по любым признакам.

Как самостоятельный транспортирующий механизм поперечные транспортеры применяются сравнительно редко. Обычно они используются в качестве транспортирующего узла механизма или установки (например поперечной сортировочной). На рис. 12 изображена схема такой установки, предназначенной для сортировки рудничной стойки по длинам.

Сортировка происходит следующим образом. Рудничная стойка подается к сортировочной установке продольным транспортером 1 и автоматическим сбрасывателем 2 сталкивается на рольганг 3 с винтовыми роликами, которые, сообщая стойке поперечное перемещение, подают ее в продольном направлении до упора в ограничитель 4. Вследствие этого левые (по ходу движения) торцы стоек выравниваются. С винтовых роликов стойки переходят на цепи поперечного транспортера 5 и перемещаются ими мимо открытых люков № 1, № 2, № 3 и № 4 (последний на рисунке не показан; боковые стенки люков условно сняты), каждый из которых предназначен к приему стойки определенной длины. Цепи поперечного транспортера - пластинчатые, без захватных приспособлений. Их расположение по ширине транспортера соответствует длинам сортиментов.

При подходе к месту сброски стойка опирается только на две цепи - крайнюю левую (по ходу движения) и цепь, звездочка которой установлена на краю люка. Продвинувшись вперед, стойка теряет правую опору и падает в люк. При скатывании по плоскости А правый конец стойки встречается с плоскостью Б, имеющей уклон в обратном направлении. В результате этого стойка разворачивается на 90° в направлении, указанном сплошной стрелкой, и попадает в зазор между плоскостями А и Б, указанный пунктирной стрелкой (см. люк № 3). Оказавшись затем на наклонной плоскости В, расположенной под зазором, стойка скатывается по ней в карман-накопитель 6.

Сортировка осуществляется по возрастающим длинам. В люк № 1 поступают наиболее короткие кряжи; кряжи следующей ступени длины проходят над люком № 1, но сбрасываются в люк № 2 и т. д. Самые длинные стой-

20

ки перемещаются в конец поперечного транспортера и скатываются по наклонной площадке 7 в карман-накопитель.

Рис.12. Установка для поперечной сортировки рудничной стойки

Поперечные транспортеры, применяемые на сортировке, бывают двухили многоцепные. Транспортеры с загрузкой нижней ветви часто имеют две цепи, соединенные между собой толкателями, которые перекрывают транспортер по всей ширине. При загрузке верхних ветвей применяют многоцепные транспортеры. Число и взаимное расположение цепей должно быть таким, чтобы отрезки любых длин, выровненные по одноименным торцам, опирались минимум на две цепи. Для поперечных транспортеров применяют пластинчатые цепи, к которым удобно крепить захватные устройства; в тех случаях, когда захватные устройства не нужны, используют цепи из круглой стали.

Скорость цепей, в зависимости от требуемой производительности, составляет 0,2-0,5 м/с. Расстояние между захватными устройствами должно быть увязано с частотой поступления (шт./с) сортиментов на транспортер.