Материал: 4809

Внимание! Если размещение файла нарушает Ваши авторские права, то обязательно сообщите нам

6

Траверсы закрепляют на цепи (или канате) на равных расстояниях друг от друга. Они служат опорами, на которые укладывают транспортируемые лесоматериалы. Конструкция траверс должна обеспечивать надежную фиксацию груза, его ориентацию относительно продольной оси транспортера, возможно меньшее сопротивление движению и удобство сброски. Расстояние между ними должно быть несколько меньше половины длины самого короткого сортимента (принимается обычно 0,8…1,6 м); у цепных транспортеров оно должно быть кратным двойному шагу звеньев.

Траверсы горизонтальных транспортеров изготавливают плоскими (при ручной сброске) или имеющими седлообразное ребро 1 (1, д), обеспечивающее ориентацию круглых лесоматериалов по оси транспортера. Для наклонных участков транспортеров применяют траверсы с шипами (0, е), препятствующими сползанию бревен под действием собственного веса.

По характеру движения траверсы бывают скользящие (1, д) и на катках (1, е). Скользящие траверсы перемещаются по гладким, обычно деревянным направляющим. В качестве направляющих для траверс на катках применяют рельсы легких типов. Траверсы присоединяют к цепи из круглой стали соединительными звеньями (1, ж), а к тяговым разборным цепям валиками с выступающими наружу (за головки) нарезным концам. К канатам траверсы крепят зажимными скобами 2 (1, д).

Привод транспортера состоит из двигателя, редуктора и ведущей звездочки (для цепей) или канатоведущего шкива. Привод устанавливают на бетонном основании в конце груженой ветви транспортера.

Конструкция ведущих элементов цепных транспортеров зависит от типа цепи. Для длиннозвенных цепей из круглой стали применяют ведущие колеса с зубьями или с углублениями для звеньев цепи. Зубчатые звездочки бывают литыми или имеют вставные зубья (рис. 2 а). Вставные зубья 3 размещают в пазах корпуса 1 и закрепляют в них клиньями 2 или винтами. Преимущество звездочек со вставными зубьями заключается в возможности увеличения их шага и быстрой замены износившихся или поломанных зубьев. Число зубьев звездочек бывает от шести до восьми. Для пластинчатых цепей применяют многогранные ведущие колеса (рис. 2, б). Поперечному смещению цепи препятствуют реборды, размещаемые по обеим сторонам колес.

Для канатных транспортеров применяют канатоведущие шкивы с зажимными устройствами (рис. 2, в) и с резиновой футеровкой (рис. 2, г). Зажимное устройство (рис. 2, в) состоит из двух кулачков 4, сидящих на оси 2. Кулачки размещены в пазах обода шкива 1. Канат 5, огибающий шкив, размещается между захватами кулачков. Под действием радиального усилия каната кулачки поворачиваются вокруг оси 2, и зажимают канат. По мере удаления от точки набегания тягового устройства на шкив радиальное усилие каната уменьшается, захваты под действием соединяющей их пружины 6 раскрываются, освобождая канат. В нижнем положении кулачки удерживаются от выпадания накладками 5. Зажим каната кулачками резко увеличивает его сцепление со шкивом, что позволяет передавать значительные тяговые

7

усилия при малом угле обхвата шкива. Однако, при использовании шкивов с зажимными устройствами, канат быстро изнашивается.

Значительно лучшие условия эксплуатации каната создаются при использовании шкивов с резиновой футеровкой 2, накладываемой на желобчатый обод шкива 3 (рис. 2, г). Для закрепления футеровки на ободе служат накладки 1. Величина окружного усилия, развиваемого шкивом с резиновой футеровкой, достаточна для привода канатных лесотранспортеров длиной до 300 м.

Натяжные приспособления предназначены для сообщения тяговому устройству предварительного (монтажного) натяжения, которое необходимо для его плавного хода, создания нужной силы трения между тяговым устройством и ведущим шкивом (канатные транспортеры), а также устранения чрезмерного провисания тягового устройства между опорами.

Предварительное натяжение тягового устройства транспортера достигается увеличением межосевого расстояния между ведущим и направляющим колесами при помощи винтовых или грузовых натяжных устройств. Величину хода натяжного устройства канатных транспортеров принимают равной 1…1,5 % их длины.

Рис. 2. Ведущие звездочки и колеса: а - для цепи из круглой стали: 1 - корпус; 2 - паз; 3 - вставной зуб; б - для пластинчатой цепи; в - канатоведущий шкив с зажимными устройствами: 1 - шкив; 2 - оси; 3 -канат; 4 - кулачки; 5 - накладки; б - пружина; г - канатоведущий шкив с резиновой облицовкой: 1 - накладки; 2 - футеровка; 3 – шкив

8

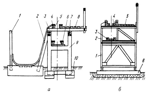
Эстакады транспортеров выполняют на железобетонных опорах или на деревянных стойках с железобетонным фундаментом, а также на блочном бесфундаментном основании. Железобетонные опоры 9 (рис. 3), расположенные друг от друга на расстоянии около 6 м, устанавливают на железобетонные фундаментные подушки 10. Пролеты между опорами перекрывают железобетонными соединительными балками 7, на которых укладывают деревянные поперечины 3. Траверсы тягового устройства перемещаются по верхним 5 и нижним 6 направляющим брусьям с антифрикционными накладками 4. На консольной части поперечин 3, устраивают настил 8 для прохода рабочих, а со стороны сброски располагают лесонакопители, в которых между покатами 2 и стойками 1 формируют пачки бревен, сброшенных с транспортера.

Используются эстакады, смонтированные из блочных бесфундаментных секций заводского изготовления. Секция (рис. 3, б) представляет собой пространственную конструкцию, состоящую из рамной опоры 1 и пролетного строения 2. Блок 2 имеет посадочные места для размещения крепления нижних 3 и верхних 4 направляющих брусьев, настила 5. Блоки секций и сами секции соединены между собой болтами. Секции устанавливают на деревянные или бетонные брусья 6, несколько заглубленные в слой дренирующего грунта (песка).

Рис. 3 Эстакады: а - эстакада на железобетонных опорах: 1 - стойка; 2 - покат; 3 - поперечина; 4 - направляющие доски; 5 - верхние направляющие брусья; б - нижние направляющие брусья; 7 -соединительная балка; 8 - настил; 9 - опора; 10 - подушка; 6 - блочная конструкция секции эстакады: 1 - рама; 2 - пролетное строение; 3 - верхние направляющие брусья; 4 -нижние направляющие брусья; 5 - настил; 6 - бетонный или деревянный брус

9

Высоту эстакады сортировочных транспортеров обычно принимают 2- 2,5 м. При выкатке бревен из воды транспортер имеет наклонный участок, угол подъема которого не должен превышать 25° во избежание сползания бревен под действием собственного веса.

Вдоль транспортера устраивают лесонакопители. Это емкости, по которым рассортировываются бревна, сбрасываемые с транспортера. Вместимость лесонакопителей должна соответствовать грузоподъемности по- грузочно-штабелевочного механизма. Лесонакопители располагают с одной или с обеих сторон транспортера. Двустороннее расположение лесонакопителей позволяет почти вдвое уменьшить длину транспортера, но требует применения бревносбрасысателей, способных производить сброску на обе его стороны.

Конструкция лесонакопителей должна обеспечивать полную их загрузку без применения ручного труда на исправление перекосов бревен, выравнивание их торцов и поперечную перекатку.

Порядок расположения лесонакопителей вдоль транспортера должен соотвествовать размещению на складе цехов переработки. Например, такие цеха, как лесопильный и шпалорезный, располагают в конце лесотранспортера. Здесь же должны находиться лесонакопители для пиловочника и шпальных бревен.

При автоматизированной сортировке сброска бревен осуществляется бревносбрасывателями, которые разделяют на две основные группы: гравитационные и с принудительным сталкиванием бревен (рычажные). Устройство сбрасывателей должно отвечать следующим основным требованиям: высокая точность сброски, определяемая разбросом торцов бревен, сброшенных в лесонакопитель; возможность сброски бревен, различных по диаметру и длине; минимальные разрывы между торцами бревен, поступающих по транспортеру; минимальное усилие сброски без резких динамических нагрузок на сбрасыватель; удобство монтажа и обслуживания; надежность работы.

Классификация бревносбрасывателей приведена на рис. 4. Гравитационная сброска осуществляется при условиях, позволяющих

бревну скатиться с транспортера в поперечном направлении. Это достигается либо опрокидыванием тех опор, на которых лежит бревно (тип А-I, а, б), либо опусканием той секции направляющих, на которой в момент сброски находятся опоры, несущие сбрасываемое бревно (тип А- II). Гравитационные бревносбрасыватели типа A-I в свою очередь подразделяют на два типа: с односторонней сброской (тип A-I, а) и со сброской на обе стороны транспортера (тип A-I, б).

10

Рис. 4 Классификация бревносбрасывателей

Бревносбрасыватели с принудительным сталкиванием в зависимости от характера движения рычагов делят на сбрасыватели с поступательновозвратным и круговым движением рычагов. Бревносбрасыватели с посту- пательно-возвратным движением рычагов в свою очередь подразделяют на сбрасыватели с поворотными и прямолинейно движущимися рычагами. Поворотные рычаги располагают в вертикальной или горизонтальной плоскостях. Вертикальное расположение рычагов позволяет создать конструкцию бревносбрасывателя для односторонней (рис. 5) и двусторонней сброски.