Материал: 4809

Внимание! Если размещение файла нарушает Ваши авторские права, то обязательно сообщите нам

11

Рис. 5. Бревносбрасыватели с поворотными в вертикальной плоскости рычагами: 1 - рама; 2 - сбрасывающее устройство; 3 - ось; 4 - планка; 5 - пневмоцилиндр; 6 - пневмоклапан; 7 - электромагнит; 8 – тяга, 9 и 10 - гибкие шланги; 11 - пневмомагистраль

Бревносбрасыватели с прямолинейным движением рычагов используют на сортировке менее широко (рис. 6); обычно их применяют в цехах переработки.

а)

б)

Рис. 6. Бревносбрасыватели с поступательно-возвратным движением прямолинейно движущихся рычагов: а) с постоянной скоростью движения рычагов: 1 - статор; 2 - ротор; 3 - винт; 4 - упор; 5 - сбрасываемое бревно; б) с переменной скоростью движения рычагов: 1 - электродвигатель; 2 - редуктор; 3 - цепная передача; 4 - вал; 5 - маховик; 5 - кривошип; 7 - толкатель

12

Бревносбрасыватели с круговым движением рычагов подразделяют на полноповоротные и шаговые (рис.7 ). Полноповоротные бревносбрасыватели выполняют рабочий цикл, совершая полный оборот. Первая половина оборота является рабочим ходом, вторая - холостым. При поворачивании рычаги постепенно отжимают бревно в поперечном направлении до полной сброски. Холостой ход полноповоротных бревносбрасывателей (над тяговым устройством) совершается в направлении движения транспортера, что обеспечивает небольшие разрывы между торцами бревен. Недостатком шаговых сбрасывателей является их громоздкость, особенно при использовании для сброски бревен большого диаметра.

Рис.7. Бревносбрасыватели с круговым движением рычагов шагового типа: 1 - рама; 2 - трехлепестковый рычаг; 3 - вал; 4 - подшипники; 5 - наконечник с фиксатором; 6 - муфта обгона; 7 - тяга; 8 - пневмоцилиндр; 9 - пневмоклапан; 10 - электромагнит

Гравитационные бревносбрасыватели устанавливают на тяговом органе лесотранспортеров, а бревносбрасыватели с принудительным сталкиванием бревен устанавливают на станине лесотранспортеров напротив лесонакопителей.

Гравитационные бревносбрасыватели, получили наиболее широкое применение. Их преимуществами являются отсутствие привода, так как для сброски используется потенциальная энергия самого бревна, малое время сброски, в связи, с чем снижается разброс торцов бревен, возможность подачи бревен на транспортер с минимальными разрывами между торцами.

Бревносбрасыватель для односторонней сброски (рис. 8, а) размещен на скользящей траверсе 1 и представляет собой седлообразную опору, состоящую из подвижной 2 и неподвижной 6 частей. Подвижная часть удерживается в транспортном положении защелкой 4, сидящей на оси 5. Против каждого накопителя по другую сторону лесотранспортера расположены ударные механизмы. При выходе бревна на место сброски включается электромагнит 10 ударного механизма, который поворачивает коромысло 9; при

13

этом штанга 8 ударяет по хвостовикам защелок тех опор, на которых находится сбрасываемое бревно. Вследствие этого подвижные части опор выводятся из зацепления с защелками и, поворачиваясь вокруг осей 3, опрокидываются под действием веса бревна, которое скатывается с лесотранспортера. Для возврата защелок служат пружины 7. Опрокинутые опоры устанавливаются в транспортное положение и входят в зацепление с защелками при помощи направляющих уголков. Гравитационные бревносбрасыватели подобного типа могут обеспечивать двустороннюю сброску. Для этой цели обе части седлообразной опоры делают опрокидывающимися и оборудуют своими защелками, а ударные механизмы располагают по обеим сторонам транспортера.

Рис. 8. Схемы гравитационных бревносбрасывателей: а - с внутренним зацеплением; б - с внешней опорой

Применяют также гравитационные бревносбрасыватели (рис. 8, б), у которых механизм опрокидывания седлообразной опоры имеет другое конструктивное решение. Опора 6 шарнирно присоединена к кронштейну траверсы тягового устройства. Опрокидыванию опоры под действием веса бревна препятствует горизонтальная полка уголка 4, о которую опирается ролик 5. Опорный уголок размещен вдоль всего транспортера со стороны, противоположной сброске. Он состоит из поворотных и неподвижных секций. Поворотные секции, сидящие на осях 7, расположены против лесонакопителей; неподвижные размещены между ними. Каждую поворотную секцию уголка

14

удерживают от опрокидывания два запорных механизма 2. При выходе бревна на место сброски от следящей системы поступает команда к электромагнитам 9 запорных механизмов той поворотной секции, против которой оказалось бревно. Сердечники электромагнитов ударяют по бойкам 1; рычаги 8 при этом поворачиваются и выходят из зацепления с защелками 3. В результате опоры опрокидываются и бревно скатывается по ним в лесонакопитель. Детали запорного механизма и секция опорного уголка после сброски возвращаются в исходное положение под действием собственного веса. Опрокинутые опоры устанавливаются в транспортное положение в начале транспортера отклоняющим устройством, которое заводит ролик 5 под опорный уголок. Недостатком рассмотренного сбрасывателя является увеличение сопротивления движению тягового устройства из-за дополнительных сил трения, возникающих между роликом и опорным уголком, а также между траверсами и направляющими от реакции опорного уголка.

При принудительной сброске рычажными сбрасывателями к бревну должно быть приложено усилие, обеспечивающее его поперечное перемещение и сброску с транспортера.

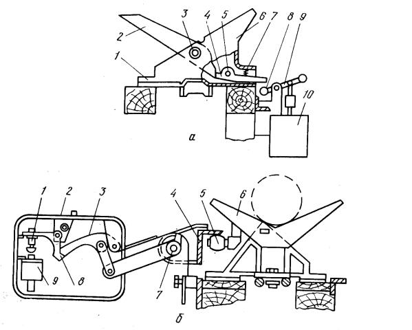
Процесс принудительной сброски рассмотрим на примере бревносбрасывателя БС-2М (рис. 9, а). Он состоит из двух рычагов 3, связанных тягой 2, и упора 8. Для лучшего сцепления с бревном на концах рычагов находятся зазубренные наконечники 1. Планка 7 соединена тягой 6 с ближним рычагом. Упор и планка свободно сидят на общей вертикальной оси. К планке шарнирно присоединена защелка 12, которая в исходном положении опирается на сердечник электромагнита 11. Бревна, не подлежащие сброске в данный штабель, проходят мимо, поворачивая только упор, возвращающийся в исходное положение пружиной 10. Если бревно должно быть сброшено, то при подходе его к упору включается электромагнит 11 и выталкивает сердечник. Вследствие этого защелка поднимается и при повороте упора сцепляется с ним, увлекая за собой планку 7, которая через тягу 6 поворачивает оба рычага 3. Бревно сбрасывается. Холостой ход рычагов осуществляется пружинами 5. Во время рабочего хода кулачок, имеющийся на втулке планки 7, действует на конечный выключатель 9. Нормально закрытые контакты выключателя размыкаются и отключают электромагнит 11. При сброске бревен с седлообразных опор рычаги могут поворачиваться в вертикальной плоскости вокруг осей 4.

Сброска бревна при активном участии упора происходит только в том случае, когда рычаги при встрече с бревном не врезаются в него, а скользят по его боковой поверхности в продолжении всего процесса сброски. Обычно же в момент встречи рычаги врезаются в бревно, создавая сопротивление его продольному перемещению. При этом бревно притормаживается, пробуксовывая по транспортеру. Часть кинетической энергии бревна, соответствующая снижению скорости его продольного перемещения, расходуется на поворот рычагов, их упругую деформацию и преодоление сопротивления сброски. В этом случае упор обеспечивает только встречу рычагов с бревном и не играет активной роли при сброске. Бревносбрасыватели БС-2М способны

15

сбрасывать бревна диаметром 0,1…0,6 м и длиной 2,7…13 м с межторцовыми разрывами не менее 1 м.

На производстве хорошо зарекомендовали себя сегментные бревносбрасыватели, имеющие привод смешанного типа. Бревносбрасыватель (рис. 9, б) состоит из двух рычагов 1 сегментной формы, сидящих на вертикальных валах 4, являющихся ведомыми валами конических редукторов 3. Боковая поверхность сегментов имеет заостренные ребра для лучшего сцепления с бревном. Конические редукторы взаимосвязаны карданным валом 5. Привод бревносбрасывателя включает в себя электродвигатель 9 мощностью 0,8 кВт и редуктор 8, выходной вал которого через кулачковую 7 и фрикционную 6 муфты соединен с редуктором ближнего сегмента. В момент, когда бревно выходит на место сброски, электродвигатель включается, поворачивает сегменты в направлении по стрелке и прижимает их к бревну с усилием, при котором заостренные ребра врезаются в его боковую поверхность. С этого момента на вращение сегментов, в основном, расходуется кинетическая энергия бревна, которое, продолжая двигаться поступательно (направление движения бревна показано стрелкой), одновременно отжимается сегментами в поперечном направлении и сбрасывается в лесонакопитель. Перед завершением полного оборота срабатывает конечный выключатель 2, в результате чего происходит отключение и затормаживание электродвигателя. Рассмотренный бревносбрасыватель имеет марку ЛР-142, он может сбрасывать бревна диаметром 0,12…0,80 м и длиной 3…10 м при межторцовых разрывах 0,1 м.

Рис. 9. Схемы рычажных бревносбрасывателей: а - с приводом от сбрасываемого бревна; б - со смешанным приводом

Сортировка круглых лесоматериалов может быть: полной; при которой учитываются размерные и породные признаки сортиментов; по размерным