Материал: 415

Внимание! Если размещение файла нарушает Ваши авторские права, то обязательно сообщите нам

Таблица 10

Размеры стального цилиндра в миллиметрах

D

d

d1

H

H1

87

75

73

75

70

170

150

148

150

120

Порядок определения:

1.При испытании щебня (гравия), состоящего из смеси двух или более смежных фракций, исходный материал рассеивают на стандартные фракции и каждую фракцию испытывают отдельно. Щебень (гравий) фракции от 5 до 10, св. 10 до 20 или св. 20 до 40 мм просеивают через два сита с отверстиями, соответствующими наибольшей (D) и наименьшей (d) крупности испытываемой фракции. От остатков на сите с отверстиями размером, равным d, отбирают две аналитические пробы массой не менее 0,5 кг каждая при испытании в цилиндре диаметром 75 мм и не менее 4 кг

при испытании в цилиндре диаметром 150 мм. Щебень (гравий) крупнее 40 мм предварительно дробят и испытывают фракции св. 10 до 20 мм или св. 20 до 40 мм.

2.Аналитические пробы для испытания в сухом состоянии высушивают до постоянной массы, а для испытания в насыщенном водой состоянии погружают в воду на 2 ч.

После насыщения водой с поверхности зерен щебня (гравия) удаляют влагу мягкой влажной тканью.

3.При определении марки щебня (гравия) применяют цилиндр диаметром 150 мм. Для приемочного контроля качества щебня (гравия) фракции от 5 до 10 мм и св. 10 до 20 мм допускается применять цилиндр диаметром 75 мм.

Пробу щебня (гравия) насыпают в цилиндр с высоты 50 мм так, чтобы после разравнивания верхний уровень материала примерно на 15 мм не доходил до верхнего края цилиндра. Затем в цилиндр вставляют плунжер так, чтобы плита плунжера была на уровне верхнего края цилиндра. Если верх плиты на плунжере не совпадает с краем цилиндра, то удаляют или добавляют несколько зерен щебня (гравия). После этого цилиндр помещают на нижнюю плиту пресса.

Увеличивая силу нажатия пресса на 1–2 кН (100–200 кгс) в секунду, доводят ее при испытании щебня (гравия) в цилиндре диаметром 75 мм до 50 кН (5000 кгс), при испытании в цилиндре диаметром 150 мм – до 200 кН

(20000 кгс).

4.После сжатия испытываемую пробу высыпают из цилиндра и взвешивают. Затем ее просеивают в зависимости от размера испытываемой фракции через сито с отверстиями размером:

16

1,25 мм – для щебня (гравия) размером фракции от 5 до 10 мм;

2,5 мм –

то же

св. 10 до 20 мм;

5,0 мм –

»

св. 20 до 40 мм.

Остаток щебня (гравия) на сите после просеивания взвешивают.

При испытании щебня (гравия) в насыщенном водой состоянии навеску на сите тщательно промывают водой и удаляют поверхностную

влагу с зерен щебня (гравия) мягкой влажной тканью.

 

5. Дробимость Др, %, определяют с точностью до 1 % по формуле

 

Др

m m1

100,

(4)

 

 

m

 

где т — масса аналитической пробы щебня (гравия), г; m1 — масса остатка на контрольном сите после просеивания раздробленной в цилиндре пробы щебня (гравия), г.

За результат принимают среднеарифметическое значение двух параллельных испытаний.

В зависимости от дробимости щебень подразделен на марки (см. табл. 11, 12) в зависимости от вида крупного заполнителя.

Таблица 11

Марки щебня по прочности из осадочных и метаморфических пород

 

Марка щебня из осадочных и

Потеря, % по массе, при испытании щебня

 

 

метаморфических пород по

 

 

 

 

в сухом состоянии

в насыщенном водой

 

 

прочности

 

 

 

 

состоянии

 

 

 

 

 

 

 

1200

 

До 11

До 11

 

1000

 

Св. 11 до 13

Св. 11 до 13

 

800

 

Св. 13 до 15

Св. 13 до 15

 

600

 

Св. 15 до 19

Св. 15 до 20

 

 

 

 

 

 

Таблица 12

 

Марки щебня по прочности из изверженных пород

 

 

 

 

 

 

 

Марка щебня из

 

Потеря, % по массе, при испытании щебня

 

изверженных пород по

 

из интрузивных

 

из эффузивных

 

 

прочности

 

глубинных пород

 

излившихся пород

 

 

1400

 

До 12

 

До 9

 

 

1200

 

Св. 12 до 16

 

Св. 9 до 11

 

 

1000

 

Св. 16 до 20

 

Св. 11 до 13

 

 

800

 

Св. 20 до 25

 

Св. 13 до 15

 

 

600

 

Св. 25 до 34

 

Св. 15 до 20

 

Марки по дробимости щебня из гравия и гравия должны соответствовать требованиям, указанным в таблице 13.

17

 

 

Таблица 13

Марки щебня из гравия и гравия по прочности

 

 

 

Марка по дробимости

Потеря массы при испытании, %

щебня из гравия и гравия

 

 

 

щебня из гравия

гравия

 

 

 

1000

До 10

До 8

800

Св. 10 до 14

Св. 8 до 12

600

Св. 14 до 18

Св. 12 до 16

400

Св. 18 до 26

Св.16 до 24

4.1.4. Определение истираемости в полочном барабане

Истираемость (износ) щебня (гравия) определяют по потере массы зерен при испытании пробы в полочном барабане с шарами.

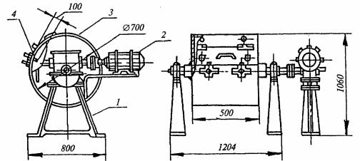
Аппаратура: барабан полочный диаметром 700, длиной 500 мм, снабженный на внутренней поверхности полкой шириной 100 мм (рис. 3), шары стальные или чугунные диаметром 48 мм, массой (405± 10) г каждый

– 12 шт, весы настольные циферблатные по ГОСТ 29329 или лабораторные по ГОСТ 24104, шкаф сушильный, сита из стандартного набора по 4.1.1.

Рис. 3. Полочный барабан 1 – станина; 2 – двигатель; 3 – барабан; 4 – полка барабана

Порядок определения:

1.Испытываемый щебень (гравий) не должен содержать пылевидных

иглинистых частиц более 1% по массе. В противном случае щебень (гравий) предварительно промывают и высушивают.

2.Щебень (гравий) фракций от 5 до 10, св. 10 до 20 и св. 20 до 40 мм в состоянии естественной влажности просеивают через два сита с отверстиями размерами, соответствующими наибольшему D и наименьшему d номинальным размерам зерен данной фракции. Из остатка на сите с отверстиями размером d отбирают две аналитические пробы по

18

5 кг с предельной крупностью зерен до 20 мм и две пробы по 10 кг фракции св. 20 до 40 мм.

При испытании щебня (гравия), состоящего из смеси двух или более смежных фракций, аналитические пробы готовят рассеиванием исходного материала на стандартные фракции и каждую фракцию испытывают отдельно. Щебень (гравий) крупнее 40 мм дробят до получения зерен мельче 40 мм и испытывают щебень (гравий) фракции св. 20 до 40 мм.

3.Подготовленную пробу загружают в полочный барабан вместе с чугунными или стальными шарами, закрепляют крышку барабана и приводят его во вращение со скоростью 30 – 33 об/мин.

Число чугунных или стальных шаров и общее число оборотов барабана в процессе одного испытания щебня принимают по табл. 14.

По окончании испытания содержимое барабана просеивают через сито

сотверстиями диаметром 5 мм и контрольное сито с ceткой № 1,25. Остатки на ситах соединяют и взвешивают.

4.Истираемость щебня И в процентах вычисляют по формуле

 

 

И

m m1

100,

(5)

 

m

 

 

 

Таблица 14

 

 

 

 

 

 

Число шаров и число оборотов полочного барабана

 

 

 

 

 

 

 

 

 

Размер

 

Число шаров,

 

Число оборотов полочного барабана,

 

 

фракций

 

необходимых для

 

необходимое для испытания пробы

 

 

щебня, мм

 

испытания пробы

 

 

 

 

5…10

 

8

 

 

500

 

 

св. 5…15

 

9

 

 

500

 

 

 

 

 

 

 

 

 

 

св. 10…20

 

11

 

 

500

 

 

св. 20…40

 

12

 

 

1000

 

 

где m - масса пробы щебня, г; m1 – суммарная масса остатков на предохранительном и контрольных ситах, г.

В качестве результата принимают среднее арифметическое значение двух испытаний.

Щебень, предназначенный для строительства автомобильных дорог, в зависимости от потери в % по массе полученной при испытании щебня в полочном барабане подразделяют на марки (табл. 15).

 

 

Таблица 15

 

Марка щебня по износу

 

 

 

Марка щебня по износу

 

Потеря, % по массе, при испытании щебня

1

 

2

И – I

 

До 25

И – II

 

Св. 25 до 35

19

Продолжение табл. 15

1

2

И – III

Св. 35 до 45

И – IV

Св. 45 до 60

4.1.5.Определение содержания пылевидных и глинистых частиц

4.1.5.1.Метод отмучивания

Содержание пылевидных и глинистых частиц в щебне (гравии) определяют по изменению массы пробы после отмучивания пылевидных и глинистых частиц (размер частиц менее 0,05 мм).

Аппаратура: весы настольные циферблатные по ГОСТ 29329 или лабораторные по ГОСТ 24104, шкаф сушильный, сосуд для отмучивания (рис. 4) или цилиндрическое ведро высотой не менее 300 мм с сифоном.

Порядок определения:

1. Берут аналитическую пробу щебня (гравия) массой не менее 5 кг, высушенную до постоянной массы. При этом для испытания щебня (гравия) фракции от 5(3) до 10 мм используют целиком пробу, применяемую при определении зернового состава.

Пробу щебня (гравия) помещают в сосуд для отмучивания или ведро, заливают водой несколько выше уровня щебня и оставляют в таком состоянии до полного размокания глинистой пленки (определяется

. Рис. 4. Сосуд для отмучивания визуально) на зернах щебня

(гравия) или комков глины, если

они имеются в пробе.

2.После этого в сосуд или ведро со щебнем (гравием) доливают воду в таком количестве, чтобы высота слоя воды над щебнем была 200 мм; содержимое сосуда перемешивают деревянной мешалкой и оставляют в покое на 2 мин. Через 2 мин сливают полученную суспензию. При сливе суспензии необходимо оставлять слой ее над щебнем (гравием) высотой не менее 30 мм.

3.Затем щебень (гравий) вновь заливают водой до указанного выше уровня. Промывку щебня (гравия) в указанной последовательности

20