Материал: 2518

Внимание! Если размещение файла нарушает Ваши авторские права, то обязательно сообщите нам

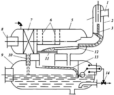
Гидроциклонный двухъемкостный сепаратор (рис. 4.7) при-

меняют на промыслах для работы на первой ступени сепарации. Газонасыщенная нефть через тангенциальный вход 1 поступает в гидроциклонную головку 2, где за счет центробежных сил нефть и газ разделяются на самостоятельные потоки. В верхнюю емкость 5 нефть и газ поступают раздельно. Нефть по направляющей полке 12 стекает на уголковый разбрызгиватель 11, в котором поток нефти разбивается на отдельные струи и происходит дальнейшее выделение газа. По сливной полке 13 разгазированная нефть собирается в нижней емкости сепаратора 9. При достижении определенного объема нефти в нижней емкости поплавковый регулятор уровня 14 через исполнительный механизм направляет дегазированную нефть в отводной трубопровод. Газ, отделившийся от нефти в дегазаторе, проходит в верхней емкости перфорированные сетки 6, где происходит выравнивание скорости газа и частичное выпадение жидкости. Окончательная очи-

стка газа происходит в жалюзийной насадке 7.

Отделенная от газа

жидкость по дренажной трубке 10

 

 

 

И

стекает в нижнюю емкость

9.

 

 

 

 

 

 

 

 

 

 

 

 

 

 

 

 

 

 

 

1

 

 

 

 

 

 

 

 

 

 

 

 

 

 

 

 

4

 

 

 

 

 

 

 

 

 

 

 

7

6

5

 

 

 

 

 

 

 

2

 

 

 

 

 

 

 

 

 

 

 

 

 

 

Д

 

 

 

 

 

 

 

 

 

 

 

 

 

 

 

 

 

 

 

 

 

 

 

 

 

 

 

8

 

 

 

 

 

 

 

 

 

 

 

 

 

 

 

 

 

 

 

3

 

 

 

 

 

 

 

 

 

 

 

 

 

 

 

 

 

 

 

 

 

 

 

 

 

 

 

 

 

 

 

 

 

 

 

 

 

 

12

 

 

 

 

 

 

 

 

9

 

10

 

 

 

 

 

 

 

 

 

 

 

 

 

 

 

 

 

 

 

 

 

 

 

 

 

 

 

 

 

 

 

 

 

 

 

 

 

 

 

 

 

 

 

 

 

 

 

 

 

 

13

 

 

 

 

 

 

 

 

 

 

 

 

11

 

 

 

 

 

 

 

 

 

 

 

 

 

С

 

 

 

 

 

 

 

 

 

 

 

 

 

 

 

 

 

 

 

 

 

 

 

 

 

 

 

 

 

 

 

 

 

 

 

 

 

 

 

 

 

 

 

 

 

 

 

 

 

 

 

 

 

 

 

 

 

14

 

 

 

 

 

 

 

 

 

 

 

 

 

 

 

 

 

 

 

Рис. 4.7. Технологическая схема гидроциклонного двухъёмкостного сепаратора: 1 – тангенциальный вход; 2 – головка гидроциклона; 3 – отбойный козырек для газа; 4 – направляющий патрубок; 5 – верхняя емкость сепаратора; 6 – перфорированные сетки; 7 – жалюзийная насадка; 8 – отвод газа; 9 – нижняя емкость; 10 – дренажная трубка; 11 – уголковые разбрызгиватели; 12 – направляющая

полка; 13 – сливная полка; 14 – регулятор уровня

116

Эффективность процесса сепарации определяется следующими факторами:

1. Средними скоростями газа в свободном сечении сепаратора, значения которых для различных конструкций сепараторов могут из-

меняться от 0,1 до 0,55 м/с.

И

3. Физико-химическими свойствами нефти и газа: вязкостью, поверхностным натяжением, способностью к пенообразованию.

4. Конструктивными особенностями сепаратора: способом ввода продукции скважин,наличием полок, каплеуловительных насадоки др.

5. Уровнем жидкости в сепараторе, который в секции сбора нефти служит гидрозатвором для газа иДпредохраняет его попадание в нефтесборный коллектор.

6. Расходом нефтегазовой смеси, который влияет на коэффициент захвата газа нефтью Кг. При большом расходе увеличивается коэффициент уноса газа, т.к.Аиз-за малого времени пребывания смеси в сепараторе весь газ не успевает выделиться.

7. Давлением и температурой нефтегазовой смеси в сепараторе. При повышении давления сепарации коэффициент уноса жидкости увеличится. Повышение температуры приведет к уменьшению коэффициента захватабгаза нефтью.

Процесс обезвоживания нефти необходим для отделения пластовой воды – сильно минерализованной жидкости (с содержанием солей до 300 г/л) от углеводородов.

иПри извлечении смеси нефти с пластовой водой образуется эмульсия – механическая смесь двух нерастворимых жидкостей (нефти и воды), одна из которых распределяется в объеме другой в виде капель различных размеров.

Пластовые воды разнообразны по химическому составу, но все они могут быть разделены на две основные группы:

жесткая вода, которая содержит хлоркальциевые или хлор- кальциево-магниевые соединения;

щелочная или гидрокарбонатно-натриевая вода.

Увеличение кислотности пластовых вод приводит к получению

Сболее стойких эмульсий. Свежие эмульсии легче поддаются разрушению, поэтому обезвоживание и обессоливание целесообразнее проводить на промысле.

Для правильного выбора способов обезвоживания нефти необходимо знать механизм образования эмульсий и их свойства. В эмульсиях принято различать две фазы – внутреннюю и внешнюю.

117

Внешняя фаза – это жидкость, в которой размещаются мельчайшие капли другой жидкости. Внутренняя фаза – это жидкость, находящаяся в виде мелких капель в дисперсионной среде. На практике наиболее часто встречаются эмульсии типа вода в нефти (в/н) – 95 %.

Нефтяные эмульсии характеризуются вязкостью, плотностью, стойкостью, дисперсностью и электрическими свойствами.

Стойкость эмульсий, т. е. способность в течение определенного времени не разделяться на составные компоненты, является наиболее важным показателем для водонефтяных смесей.

Дисперсность – величина ее характеризует степень раздробленности дисперсной фазы в дисперсионной среде.

Для обезвоживания нефти используют следующие технологиче-

ские методы:

И

 

гравитационный отстой нефти;

горячий гравитационный отстой нефти;

 

термохимическая обработка;

 

электрообезвоживание нефти.

 

А

б

Наиболее прост по технологии метод гравитационного отстоя. В

 

 

 

б

 

 

 

 

применяют цилин-

качестве отстойников периодического действия

дрические отстойники. В этом случае нефтью заполняют резервуары

и выдерживают определенное время (48Дч и более).

 

В гравитационных

отстойниках непрерывного действия

(рис. 4.8) отстаивание осуществляется при непрерывном потоке обра-

батываемой жидкости.

 

 

 

 

 

 

 

 

 

 

 

а

 

 

 

Вход

 

 

 

 

 

 

 

 

Выход

 

 

 

 

 

 

 

 

 

 

 

 

 

 

 

 

Выход

 

 

Вход

 

 

 

 

 

 

 

 

 

 

 

 

 

 

 

 

 

 

 

С

 

 

 

 

 

 

 

 

 

 

Выход

Выход

Выход

Вход

Выход

Вход

в

г

Выход

Рис. 4.8. Схемы отстойников непрерывного действия:

а – горизонтальный; б – вертикальный; в – наклонный; г – конический

118

При гравитационном отстое эмульсия расслаивается под действием силы тяжести на поверхности раздела. При достаточной длине отстойника в выходной его части происходит полное разделение фаз эмульсии.

Больший эффект дает горячий гравитационный отстой обвод-

ной штуцер 1 в отстойник нефти. ДляДравномерногоИраспределения жидкости по объему аппарата на входе установлен отбойникраспределитель 2, представляющий собой трубу диаметром 700 мм, содержащую 64 ряда отверстий (в каждом ряду 285 отверстий с продольным вырезом шириной 6 мм и длиной 60 мм).

ненной нефти, когда за счет предварительного нагрева нефти до температуры 50 – 70 °С значительно облегчаются процессы коагуляции

капель воды и ускоряется обезвоживание нефти при отстое.

Отстойник горизонтальный ОГ-200П (рис. 4.9) предназначен для обезвоживания нефти, а также сепарации оставшегося в нефтяной

эмульсии газа. Аппарат устанавливается после сепаратора нефти и представляет собой цилиндрическую ёмкость с эллиптическими дни-

щами. Отстойник ОГ-200П работает в режиме полного заполнения с подогревом эмульсии. Водонефтяная эмульсия поступает через вход-

Обезвоженная нефть отводится сверху через трубный сборник 3. Отстоявшаяся вода через распределительное устройство направляется в отстойник воды. Сброс воды осуществляется по сигналу датчика

межфазного уровня «нефть – вода» через регулирующий клапан 5. За

счет большого времени пребывания и создания условий повторного

перемешивания жидкости в отстойнике обеспечивается достаточно

 

А

полное отделение воды от нефти.

 

б

 

Рис. 4.9. Общий вид аппарата ОГ-200П:

1 – патрубок ввода эмульсии; 2 – отбойник-распределитель эмульсии; 3 – трубы

для вывода обезвоженной нефти; 4 – вывод газа; 5 – клапан сброса воды

С

 

Недостатком гравитационных методов обезвоживания является их малая эффективность.

119

Более эффективны методы химические, термохимические, а также электрохимические. При химических методах в обводненную нефть вводят специальные вещества, называемые деэмульгаторами. В качестве деэмульгаторов используют ПАВ. Их вводят в состав нефти в небольших количествах (от 5 – 10 до 50 – 60 г на 1 т нефти). Наи-

вания нефть предварительно подогревают до температурыИ50 – 70 °С. Электродегидратор ЭГ-200-10 (рис. 4.10) представляет собой

лучшие результаты показывают так называемые неионогенные ПАВ, такие как дисолваны, сепаролы, дипроксилины и др. Эффективность и скорость химического обезвоживания значительно повышается за счет нагрева нефти, т.е. при термохимических методах, за счет снижения вязкости нефти при нагреве и облегчения процесса коалесценции капель воды.

Электрообезвоживание нефти связано с пропусканием нефти через специальные аппараты – электродегидраторы, где нефть проходит между электродами, создающими электрическое поле высокого напряжения (20 – 30 кВ). Для повышения скорости электрообезвожи-

горизонтальный цилиндрический аппарат, устанавливаемый на двух седловых опорах, оснащенный штуцерами для входа эмульсии, выхода нефти, выхода воды, необходимыми технологическими штуцерами

и штуцерами для КИПиА, предназначенный для обезвоживания и

обессоливания нефти.

Д

А

 

Рис. 4.10. Внешний вид электродегидратора ЭГ-200-10

120