Материал: 2518

Внимание! Если размещение файла нарушает Ваши авторские права, то обязательно сообщите нам

Комплекс технологического оборудования УКПГ предназначен для подготовки газа к транспорту в соответствии с отраслевым стандартом ОСТ 51.40–93 с последующим охлаждением его до температуры –2 °С, а также для частичной стабилизации и охлаждения газового конденсата с целью защиты вечномерзлых грунтов от размораживания при подземной прокладке трубопроводов. И

Структура УКПГ первой очереди приведена на рис. 4.5. Сырой природный газ, поступающий в УКПГ с кустов скважин, представляет собой газоконденсатную неочищенную смесь. В сепараторе С-1 производится очистка газа от механических примесей. Затем он поступает в абсорбер влаги А-1, где из него извлекаетсяДвлага. В теплообменниках T-1 и T-2 природный газ разделяется на готовый к транспортировке газ и газовый конденсат. С теплообменника Т-2 осушенный охлажденный газовый конденсат поступает на узел подготовки углеводородов, где от него отделяются газовые примеси. На хозрасчетный замерный узел поступают готовый газ с Т-1 и конденсат с узла подготовки углеводородов, где производится оценка качественных и экономических показателей. После этого газ подается в межпромысловый коллектор, а конденсат – в парк углеводородов.

Рис. 4.5. Структурная схема установки комплексной подготовки газа

111

4.2. Технологические процессы промысловой подготовки нефти

Поступающая из нефтяных и газовых скважин продукция не представляет собой соответственно чистую нефть и газ. Из скважин

вместе с нефтью поступают пластовая вода, попутный (нефтяной) газ,

твердые частицы механических примесей.

И

 

Наличие воды в нефти приводит к удорожанию транспорта в связи с возрастающими объемами транспортируемой жидкости и увеличением ее вязкости. Присутствие в нефти даже 0,1 % воды приводит к ее интенсивному вспениванию в ректификационных колоннах на НПЗ, что нарушает технологические режимы переработки и, кроме того, загрязняет конденсационную аппаратуру.

Наличие в нефти механических примесей (частиц песка и глины) вызывает абразивный износ и усиленную коррозию металла тру-

бопроводов и нефтеперекачивающегоАоборудования, затрудняет пе-

реработку нефти, повышает зольность мазутов и гудронов, образует отложения в печах, теплообменниках, что приводит к уменьшению коэффициента теплопередачи и быстрому выходу их из строя.

Поэтому технически и экономически целесообразно нефть перед

 

б

 

подачей в магистральный нефтепровод подвергать специальной под-

готовке.

 

Д

Процессами промысловой подготовки нефти являются:

удаление из нефти лёгких газов – процесс сепарации;отделение от нефти воды – процесс обезвоживания нефти;извлечение из нефти солей – процесс обессоливания;отделение механических примесей – процесс очистки.

Качество подготовки нефти к транспорту регламентирует ГОСТ Р 51858–2002 (табл. 4.1).

 

 

 

 

Таблица 4.1

 

 

Показатели качества подготовки нефти

 

 

и

 

 

 

 

Показатель

Группа нефти

 

I

II

III

 

 

 

 

Содержание воды, %, не более

0,5

1

1

 

Содержание хлористых солей, мг/л, не более

100

300

1800

 

Содержание механических примесей, %, не более

0,05

0,05

0,05

 

Давление насыщенных паров при температуре

66 650

66 650

66 650

С

 

 

нефти в пункте сдачи, Па, не более

 

 

 

 

 

112

 

 

 

Под стабилизацией нефти следует понимать извлечение легких углеводородов, которые при нормальных условиях являются газообразными, для дальнейшего их использования в нефтехимической промышленности. Существуют два различных метода стабилизации

нефти – сепарация и ректификация.

И

Сепарация отделение от нефти легких углеводородов и сопут-

ствующих газов однократным или многократным испарением путем снижения давления (часто с предварительным подогревом нефти).

Ректификация отбор из нефти легких фракций при однократном или многократном нагреве и конденсации с четким разделением

зультате снижения давленияАили повышенияДтемпературы. При резком снижении давления в сепараторе значительно увеличивается количество тяжелых углеводородов, уносимых свободным газом. При быстром прохождении нефти через сепаратор возрастает количество легких углеводородов в нефти.

углеводородов до заданной глубины стабилизации.

Для стабилизации нефти на промыслах используют в основном метод сепарации. Процесс сепарации должен начинаться сразу же при движении нефти, когда из нее отбирается газ, выделившийся в ре-

Многоступенчатаябсистема сепарации позволяет получить на первых ступенях метан, который направляется на собственные нужды или потребителям, а на последующих ступенях – жирный газ, содержащий более тяжелые углеводороды. Жирный газ отправляется на газобензиновыеизаводы для последующей переработки. При наличии газобензинового завода экономически целесообразно применять двухступенчатую систему сепарации.

Сосуд, в котором происходит отделение газа от нефти, называют Ссепаратором. В сепарационных установках происходит и частичное

отделение воды от нефти.

Применяемые сепараторы можно классифицировать:

1) по принципу действия: гравитационные, центробежные (гидроциклонные), ультразвуковые, жалюзийные и др.;

2) по форме и положению в пространстве: сферические, ци-

линдрические, вертикальные, горизонтальные и наклонные; 3) по рабочему давлению: высокого (более 2,5 МПа), среднего

(0,6 – 2,5 МПа) и низкого (0 – 0,6 МПа) давления; 4) по назначению: замерные и рабочие;

5) по месту положения в системе сбора: первой, второй и кон-

цевой ступеней сепарации.

113

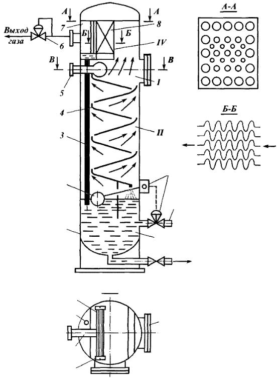
В сепараторах любого типа по технологическим признакам различают четыре секции:

I – основную сепарационную, в которой происходит отделение газа от нефти;

II – осадительную, предназначенную для выделения пузырьков

газа, увлеченных нефтью из сепарационной секции;

III – секцию отбора нефти, служащую для сбора и отвода нефти из сепаратора;

IV – каплеуловительную, находящуюся в верхней части аппарата и служащую для отвода газа и улавливания капельной нефти, уно-

симой потоком газа.

Эффективность работы сепараторов характеризуется уносом жидкости– количеством жидкости, уносимой газом (г/м3), и захватом газа – количеством газа, оставшегося в нефти после сепарации (м3/т).

Чем ниже эти показатели, тем более эффективна работа аппарата.

Коэффициенты уноса жидкости Кж и захвата газа Кг определяют

И

где qиж – объемныйбрасходАкапельной жидкости, уносимой потоком газа, м3/ч; qг – объемный расход окклюдированного газа, уносимого потоком жидкости, м3/ч; Qг – объемный расход газа на выходе из сепаратора, м3/ч; Qж – объемный расход жидкости на выходе из сепаратора при рабочих температуре и давлении, м3/ч.

по формулам:

 

 

 

qж

 

 

Kж

 

;

(4.1)

 

 

 

 

 

Qг

 

 

 

K

 

 

 

qг

,

(4.2)

 

 

 

г

Qж

Д

 

СВ вертикальном цилиндрическом гравитационном сепараторе

(рис. 4.6) газонефтяная смесь через патрубок 5 поступает в раздаточный коллектор 11 и через щелевой выход попадает в основную сепарационную секцию I. В осадительной секции II из нефти при ее течении по наклонным плоскостям 4 происходит дальнейшее выделение окклюдированных пузырьков газа. Разгазированная нефть поступает в секцию ее сбора III, из которой через патрубок 10 отводится из сепаратора. Газ, выделившийся из нефти на наклонных плоскостях, попадает в каплеуловительную секцию IV, проходит через жалюзийную насадку 8 и по трубопроводу выходит из сепаратора. Капли нефти, захваченные потоком газа и не успевающие осесть под действием силы тяжести, прилипают к стенкам жалюзийных решеток и стекают по дренажной трубке 3 в секцию сбора нефти.

114

 

 

 

 

 

 

 

 

 

 

 

 

 

 

 

 

 

 

 

 

 

 

А - А

 

 

 

 

 

 

 

А

 

 

 

 

 

 

А

 

 

 

 

 

 

 

 

 

 

 

 

 

 

 

 

 

 

 

 

 

 

 

 

 

 

 

 

 

 

 

 

 

 

 

 

 

 

 

 

 

 

 

 

 

 

 

 

 

 

 

 

 

 

 

8

 

 

 

 

 

 

 

 

 

 

 

 

 

7

 

 

 

 

Выход

 

 

 

 

 

 

 

 

 

 

 

 

 

 

 

 

 

 

 

 

 

 

 

Б

 

Б

 

 

 

 

 

 

 

 

 

 

 

 

 

 

 

 

 

 

 

 

 

 

 

 

 

 

 

 

 

 

 

 

 

 

 

 

 

 

 

 

 

 

 

 

 

 

 

 

газа

 

 

 

 

 

 

 

 

 

 

 

 

 

IV

 

 

 

 

6

 

 

 

 

 

 

 

 

 

 

 

 

 

 

 

 

 

 

 

 

 

 

 

 

 

 

 

 

 

 

 

 

 

 

 

 

 

 

 

 

 

 

 

 

 

 

 

 

 

 

В

 

 

 

 

 

 

 

 

 

 

 

 

В

 

 

 

 

 

 

 

 

 

 

 

 

 

 

 

 

 

 

 

 

 

 

 

 

 

 

 

 

 

 

 

 

 

 

I

 

 

 

 

 

 

5

 

 

 

 

 

 

 

 

 

 

 

 

 

 

 

 

 

 

 

 

 

 

 

 

 

 

 

 

 

 

 

 

 

 

 

 

 

 

 

 

 

 

 

 

 

 

 

 

 

 

 

 

 

 

 

 

 

 

 

 

Б - Б

 

 

 

 

 

 

4

 

 

 

 

 

 

 

 

 

 

 

 

 

 

 

 

 

 

 

 

 

 

 

 

 

 

 

 

 

 

 

 

 

 

 

 

 

 

 

 

 

 

 

 

 

 

 

 

 

 

 

 

 

 

 

 

 

 

 

II

 

 

 

 

3

 

 

 

 

 

 

 

 

 

 

 

 

 

 

 

 

 

 

 

9

2

10

1

III

Сброс

грязи

В - В

11

3 С 5 12

13

Рис. 4.6. Технологическая схема вертикального гравитационного сепаратора: 1 – корпус; 2 – поплавок; 3 – дренажная трубка; 4 – наклонные плоскости; 5 – патрубок для ввода газожидкостной смеси; 6 – регулятор давления; 7 – пере-

городка для выравнивания скорости газа; 8 – жалюзийная насадка; 9 – регулятор уровня; 10 – патрубок для сброса нефти; 11 – раздаточный коллектор; 12 – люк; 13 – заглушка

115