Материал: 2518

Внимание! Если размещение файла нарушает Ваши авторские права, то обязательно сообщите нам

В настоящее время на нефтяных месторождениях применяются напорные герметизированные системы сбора и подготовки продукции скважин, основными элементами которых являются:

добывающие скважины и скважины поддержания пластового давления (ППД);

автоматизированные групповые замерные установкиИ(АГЗУ);

блочная кустовая насосная станция (БКНС);

блочная дожимная насосная станция (БДНС);

водоразборная база (ВРБ);

установки предварительного сброса воды (УПСВ);

центральный пункт сбора и подготовкиДнефти, газа и воды (ЦППН);

газоперерабатывающий завод (ГПЗ);

нефтеперекачивающая станция (НПС);

нефтеперерабатывающийАзавод (НПЗ);

магистральный нефтепровод (МНП).б

итранспортировка продукции скважин за счет энергии пласта или насосов до центрального пункта подготовки нефти, газа и воды;

Сотделение газа от нефти и транспортировка его до пункта подготовки или до потребителя;

отделение свободной воды от продукции скважин до установок подготовки нефти (в случае добычи обводненной нефти);

раздельный сбор и транспорт продукции скважин, существенно отличающейсяпо обводненностиилифизико-химическим свойствам;

подогрев продукции скважин, если невозможно ее собирать и транспортировать при обычных температурах.

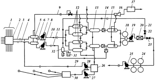
Схема высоконапорной герметизированной УКПН, применяемой на крупных месторождениях, приведена на рис. 4.2. Нефть, газ и вода, поступившие на поверхность, под устьевым давлением (≈ 1,5 МПа) по выкидным линиям 1 направляются в АГЗУ 2. Затем

106

нефть, газ и вода транспортируются по сборным коллекторам 3, 4 (длиной до 10 км) до БДНС. На БДНС установлены сепараторы первой ступени 5 (для обводненной нефти) и 6 (для чистой нефти), в которых отделяется газ от жидкости. Отделившийся в сепараторах от жидкости газ под собственным давлением направляется по газопроводу 9 через эжектор 16 на ГПЗ 17.

 

 

 

 

 

 

 

 

 

 

 

 

 

 

 

 

 

 

 

 

 

 

 

 

 

 

 

 

 

17

 

 

 

 

 

 

 

 

 

 

 

 

 

 

 

 

 

 

 

 

 

 

 

 

 

 

 

 

 

 

 

 

 

 

 

 

 

 

 

 

 

 

 

 

 

 

9

 

12

13

14

15

16

 

 

 

 

 

 

 

 

 

 

 

 

 

 

 

 

 

 

 

 

 

 

 

 

 

 

 

 

 

 

 

 

 

 

 

 

 

 

 

 

 

 

 

1

2

3

4

5

6

7

8

 

 

 

 

 

 

 

 

 

 

 

 

 

 

 

 

 

 

 

 

 

 

 

 

 

 

 

 

 

 

 

 

 

 

 

 

 

 

 

 

 

 

 

 

 

 

 

 

 

 

 

 

21

 

 

 

 

 

 

 

 

 

 

 

 

 

 

 

 

 

 

 

 

 

 

 

 

18

 

19

20

 

 

 

 

 

 

 

 

 

10

 

11

 

 

 

 

 

 

 

 

 

 

 

 

 

 

 

 

 

 

 

 

 

 

 

 

 

 

 

 

 

 

 

 

 

 

 

 

 

 

 

 

 

 

 

 

 

 

 

 

 

 

 

 

 

 

 

 

 

 

 

 

 

 

 

 

 

 

 

 

 

 

 

 

 

 

 

 

22

 

 

 

 

 

 

 

 

 

 

 

 

 

 

 

 

 

 

 

 

 

 

 

 

 

 

 

 

 

 

 

 

 

 

 

 

 

 

 

 

 

 

 

 

 

 

 

 

 

 

 

 

 

 

 

 

 

 

 

 

 

 

 

 

 

 

 

 

 

 

 

 

 

 

 

 

 

 

 

 

 

 

 

 

 

 

 

 

 

 

 

 

 

 

 

 

 

 

 

 

 

 

 

 

 

23

32

 

 

 

 

 

 

 

 

 

 

 

 

 

 

 

 

25

 

24

31

 

 

 

 

 

 

 

 

 

 

 

 

 

 

 

 

 

 

 

 

 

 

 

 

 

 

 

 

 

 

 

 

 

 

 

 

 

 

 

 

29

28

 

 

 

 

 

 

 

 

 

 

 

 

 

 

26

 

 

 

 

 

 

 

 

 

 

 

 

 

 

 

 

б

 

 

 

30

27

 

 

Рис. 4.2. Технологическая схема высоконапорной герметизированной и автоматизированной установки комплексной подготовки нефти

насосами 7, 8 и подается по трубопроводам 10, 11 в сепараторыподогреватели 12, в которых производится нагрев и разрушение эмульсии. Затем разрушенная эмульсия поступает в теплоизолированные отстойники 13, где происходит ее разделение на чистую нефть и воду.

иОбводненная сырая нефть из сепаратора 5 забирается сырьевыми

СОбезвоженная и обессоленная в отстойниках 13 нефть направляется через штуцер 14 в концевые сепараторы 15, в которых поддерживается давление 1 МПа. Газ из сепараторов 15 направляется в эжектор 16 и транспортируется на ГПЗ 17, а обезвоженная и обессоленная нефть из этих же сепараторов попадает самотеком в два попеременно работающих герметизированных резервуара 18 на кратковременное хранение. Из резервуаров 18 нефть забирается подпорным насосом 19 и подается на автоматизированную замерную установку качества и количества товарной нефти типа «Рубин-2»20.

Если товарная нефть оказалась кондиционной, то она через открытую задвижку 23 направляется в парк товарных резервуаров 24 и далее насосом 25 в магистральный нефтепровод. Если нефть окажется

107

некондиционной, то задвижка 23 автоматически закрывается, а задвижка 22 на линии 21 открывается и нефть снова поступает на обессоливание и обезвоживание 32, а стоки – в ливневую канализацию 31.

Отделившаяся от нефти в отстойниках 13 вода направляется самотеком в установку очистки воды 26, из которой она забирается двумя насосами. Насос 27 подает эту воду на БКНС 30, откуда она транспортируется с помощью насосов высокого давления в нагнета-

тельные скважины, а насос 28 по трубопроводу 29 подает ее в поток эмульсии перед сепаратором 5, расположенным на БДНС. Это делается для того, чтобы горячая вода, содержащая поверхностно-активные вещества (ПАВ), способствовала предварительному разрушению эмульсии непосредственно в сепараторе.

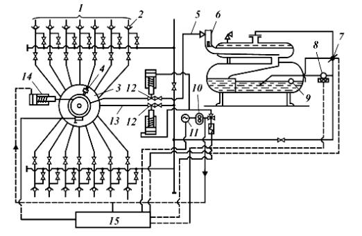
АГЗУ серии «Спутник» (рис. 4.3)Дпредназначены для автоматического замера дебита скважин, контроля их работы, а также автома-

Для месторождений небольшой площади обычно БДНС не строится, и вся продукция скважин транспортируется на ЦППН под

давлением на устьях скважин. Как видно из схемы, нефть нигде не

контактирует с воздухом и потери ее от испарения сведены до

минимума (0,2 %).

И

Все трубопроводы в системе сбора, по которым транспортируется

продукция скважин, делятся на однофазные (нефть, или газ, или вода) и

многофазные (нефть + газ или нефть + газ + вода).

тической блокировки коллекторов при аварийном состоянии техноло-

гического процесса. Расчетные давления контроля и блокировки со-

ставляют 1,6 и 4 МПа. Существует множество модификаций данных

установок: «Спутник АМ 40-1-400»; «Спутник АМ 40-8-400»; «Спут-

 

 

А

ник АМ 40-10-400»; «Спутник АМ 40-14-400»; «Спутник Б 40-14-400».

АГЗУ серии «Спутник» состоит из следующих узлов:

1)

переключателя скважин многоходового (ПСМ);

2)

установкибизмерения дебита;

3)

гидропривода;

 

4)

отсекателей;

 

5)

блока автоматики.

 

и

 

Продукция скважин по выкидным линиям 1 подается в много-

ходовой переключатель 3, который действует как вручную, так и ав-

томатически. Каждому положению этого переключателя соответству-

Сет подача на замер продукции одной скважины. Продукция данной скважины направляется в сепаратор 6, состоящий из верхней и нижней ёмкостей. Продукция остальных скважин, минуя сепаратор, направляется в сборный коллектор 13.

108

 

1

 

 

 

 

 

 

 

 

 

 

 

 

 

 

 

 

 

 

 

 

 

 

 

 

 

 

 

 

 

2

 

 

5

 

 

 

6

 

 

 

 

 

 

 

 

 

 

 

 

 

 

 

 

 

 

 

 

 

 

 

 

 

 

 

 

 

 

 

 

 

 

 

 

 

 

 

 

 

 

 

 

 

 

 

 

 

 

 

 

 

 

 

 

 

 

 

 

 

 

 

 

 

 

 

 

 

 

 

7

 

 

 

 

 

 

 

 

 

 

 

 

 

 

 

 

 

 

 

 

 

 

8

 

 

 

 

 

 

 

 

 

 

 

 

 

 

 

 

 

 

 

 

 

 

 

 

 

 

 

 

 

 

 

 

 

 

 

 

 

 

 

 

 

 

 

 

 

 

 

 

 

 

 

 

 

 

4

 

 

 

 

 

 

 

 

 

 

 

 

 

 

 

 

 

 

 

 

 

14

 

 

 

 

 

 

 

 

 

 

 

 

 

 

 

 

 

 

 

 

 

 

 

 

 

 

 

 

 

 

 

 

 

 

 

 

 

 

 

 

 

 

 

 

 

 

 

 

 

 

 

 

 

 

 

 

3

 

12

 

 

 

 

10

 

 

 

 

 

 

 

 

 

 

 

 

 

 

 

 

 

 

 

 

 

9

 

 

 

 

 

 

 

 

 

 

 

 

 

 

 

 

 

 

 

 

 

 

 

 

 

 

 

 

 

 

 

 

 

 

 

 

 

 

 

 

 

 

 

 

 

 

 

 

 

 

 

 

 

 

 

 

 

 

 

 

 

 

 

 

 

 

 

 

 

13

 

 

 

 

 

 

 

 

 

 

 

 

 

 

 

 

 

 

 

 

 

12

 

 

 

 

 

 

 

 

 

 

 

 

 

 

 

 

 

 

 

 

 

 

 

 

 

 

 

 

11

 

 

 

 

 

 

 

 

 

 

 

 

 

 

 

 

 

 

 

 

 

 

 

 

 

 

 

 

 

 

 

 

 

 

 

Д

 

15

 

А

 

 

Рис. 4.3. Технологическая схема установки «Спутник»:

1 – выкидные линии; 2 – специальные обратные клапаны; 3 – многоходовой переключатель скважин; 4 – каретка переключателя скважин; 5 – замерный патрубок; 6 – гидроциклонный сепаратор; 7 – заслонка; 8 – счетчик-расходомер;

9 – регулятор уровня; 10 – гидроносос; 11 – электродвигатель; 12 – отсекатели; 13 – сборныйбколлектор; 14 – силовой цилиндр; 15 – блок автоматики

Нефть из верхней емкости сепаратора перетекает в нижнюю, здесь ее уровень повышается, и при определенном положении поплавкаирегулятора 9 закрывается заслонка 7 на газовой линии сепаратора. Давление в сепараторе повышается, и нефть начинает поступать через счетчик-расходомер 8 в сборный коллектор. После этого уровень жидкости в нижней емкости снижается, поплавок опускается с открытием заслонки газовой линии, после чего процесс повторяется.

ССчетчик-расходомер является одновременно сигнализатором подачи скважин. В установке предусмотрена возможность измерения количества газа с помощью диафрагмы, установленной в сепараторе.

В блоке автоматики 15 регистрируются накапливаемые объемы жидкости, прошедшей через счетчик-расходомер. Следующая скважина включается на замер по команде блока с помощью гидропривода. Установка «Спутник» работает по заданной программе, при этом каждая скважина поочередно включается на замер на определенное время.

Выбор системы сбора газа зависит от запасов и состава газа, от формы залежи, размещения и продуктивности скважин, пластового давления и многих других факторов. При разработке газовых или газоконденсатных месторождений применяют четыре схемы промыслово-

го сбора газа: линейную, лучевую, кольцевую и групповую (рис. 4.4).

109

а б

в

И

г

 

А

 

а – линейная; б – лучевая; в – групповая; г – кольцевая;

1 – скважины; 2 – скважинные шлейфы; 3 – линейный газосборный коллектор; 4 – контур газоносности; 5 – кольцевой газосборный коллектор

 

которой

газ

посту-

пают

ком-

плексной

час-

тичная

продук-

ции

30

скважин

со-

ставляетиб

подготовленный

газ поступает в магистральный газопровод (МГ) для транспортиров-

ки потребителям.

 

К основным достоинствам этой системы относятся независи-

мость контроля и регулировки работы отдельных скважин, возмож-

Сность полной автоматизации процессов, высокая надежность работы установок, относительно простое решение проблемы борьбы с гидратами. При групповой системе значительно упрощаются промышленная канализация, тепло- и энергоснабжение, ремонт оборудования, ревизия его состояния, облегчаются организация строительных и монтажных работ и их индустриализация.

110