|
|
|
|
Таблица 5.2 |
|
Определение индикаторной работы |
|
||
|
|
|
|
|
Номер участ- |
Работа |
Работа расши- |
Индикаторная |
Суммарная |
ка диаграммы |
сжатия, |
рения, |
работа, |
работа, |
|
Дж |
Дж |
Дж |
Дж |
10-9 |
4,25 |
16,25 |
12,0 |
|
9-8 |
5,0 |
19,0 |
13,0 |
25,0 |
8-7 |
6 |
21 |
15,0 |
40,0 |
7-6 |
7,0 |
25,0 |
18,0 |
58,0 |
6-5 |
9 |
32 |
23 |
81,0 |
5-4 |
12 |
39 |
27,0 |
108,0 |
4-3 |
16,8 |
58 |
41,0 |
149,0 |
3-2 |
28 |
91 |
63,0 |
212,0 |
2-1 |
63 |
195 |
132,0 |
344 |
К такому же результату можно прийти, воспользовавшись определенным интегралом. Вычислим посредством интегрирования работу расширения Арас и работу сжатия Асж газов. Индикаторная работа двигателя А будет определяться выражением
А= Арас Асж .
Разобьем диаграмму (см. рис. 5.4) на n участков (в процессе предыдущих вычислений мы разбивали на 9 участков, каждый из которых соответствовал ходу поршня в 1 см). Обозначим Vi изменение текущего объема над поршнем на i-м участке диаграммы (1≤ i ≤ n); (Pрас)i − текущее значение давления на линии расширения на i-том
участке диаграммы. По формуле (5.17) |
величина (Aрас)i |
= Pрас)i∙ΔVi − |
|
работа расширения газов в цилиндре |
на i-м участке |
диаграммы |
|
(рис. 5.5). |
|
|
|
Если число участков диаграммы n бесконечно увеличивать таким |
|||
образом, что максимальное значение |
Vi стремится к нулю (малому |
||
значению), то работа расширения газов в цилиндре Арас |
будет равна |
||
n |
или определенному интегралу |
||
пределу интегральной суммы Арас |
|||
i |
|
|
|
i 1 |
|
|
|
от функции, определяющему работу текущего расширения по dV [2,
с. 261-262, 278-279]:
Арас |
Va |
|
PрасdV , |
(5.18) |
Vc
228
где Vc – объем камеры сгорания, Vc≤V≤ Va; Va – полный объем цилиндра двигателя. Величина Vc определяется по формуле Vc = Vh /(ε-1). По формуле (5.16) Vh = 4,5∙10-4 м3, тогда при ε=10 объем камеры сгорания
Vc = 4,5∙10-4 /9 = 0,5∙10-4 м3.
Величина Vа вычисляется по формуле
Va = Vc+Vh = 0,5∙10-4 + 4,5∙10-4 = 5∙10-4 м3.
Рассуждая аналогично, получим формулу для вычисления Асж :
Va
Асж |
PсжdV . |
(5.19) |
|
Vc |
|
Прежде чем перейти к вычислению интегралов (5.18) и (5.19), выразим давление на линии расширения Ррас и линии сжатия Рсж через текущее значение объема перед поршнем V. Ранее было показано, что на каждом участке индикаторной диаграммы (рис. 5.4) давление (Ррас)i =Pz / nтек2 . При этом текущее значение степени расширения
тек определяется по формуле тек=V/Vc. Подставляя полученные выражения в формулу (5.18), находим Арас:
А |
Va |
P dV |
Va P |
dV |
Va |
P |
dV |
Va P Vn2 |
dV P Vn2 |
|
Va |
V n2dV |
|||||
|
|
z |
|
|
|
z |
|
z c |
|
||||||||
|
|
|
|
|
|
|
|
|
|||||||||
рас |
рас |
n2 |
|
|
n2 |
|
V |
n2 |
z c |
|
|
||||||
|
V |
|
V |
|
V |
|
|
V |
|
|
V |
|
|||||
|
c |
|
c |
тек |
|
|
V |
|
c |
|
|
|
c |
|
|||
|
|
|
c |
|
|
|
|
|
|
|
|||||||
|
|
|
|
|
|
|
|
|
|
|
|
|
|
|
|
|
|
|
|
|
|
|
|
V |
|
|
|
|
|
|
|
|
|||
|
|
|
|
|
|
|
|
c |
|
|
|
|
|
|
|
|
|
n |
|
V n2 1 |
Va |
|
P V n2 |
1 n |
|
1 n |
|
|
|||
|
|
|
|
|
|
|
z c |
|
|
|
|||
Pz Vc |
2 |
|
|
|
|
|
|
|
Va |
2 |
Vc |
2 . |
(5.20) |
n |
2 |
1 |
V |
1 n |
|||||||||
|
|
|
|
|
c |
|
2 |
|
|
|
|
|
|
Значение давления на линии сжатия определяется по формуле (5.10) Pcж=Ра· εn1тек. При этом εтек=Vа /V − текущее значение величины сжатия. Тогда по формуле (5.19) находим Асж:
|
Va |
|
|
Va |
|
|
|
|
|
Va |
|
Vn1 |
|
Va |
|
|||
А P dV |
|
Р n1 |
dV |
Р |
a |
dV P Vn1 |
V |
n1dV |
||||||||||
|
|
|||||||||||||||||
сж |
V |
сж |
|
V |
|
а |
тек |
|
|
|
V |
а |
Vn1 |
a a |
V |
|
||
|
c |
|
|
c |
|
|
|
|
|
|
c |
|
|
|
|
|
c |
|
|
|
Pa |
Van1 |
|
V n1 1 |
|
Va |
|
Pa Van1 |
Va1 n1 |
Vc1 n1 . |
|
(5.21) |
|||||
|
|
|
|
|||||||||||||||
|
|
|
|
V |
|
|
||||||||||||
|
|
|
|
|
|
n |
1 |
|
1 n |
|
|
|
|
|
|
|||
|
|
|
|
|
1 |
|
|
c |
|
|
1 |
|
|
|
|
|
||
Таким образом, для нахождения значений Арас и Асж подставим в
полученные выражения (5.20) и (5.21) значения:
Vc = 0,5∙10-4 м3, Va = 5∙10-4 м3, n1 = 1,35; n2 = 1,25; Pz = 5,4∙106 Н/м2; Pа = 0,08∙106 Н/м2.
229
Арас |
|
5,4 106 0,5 10 4 1,25 |
5 10 4 1 1,25 0,5 10 4 1 1,25 473 Н·м. |
|||
|
1 1,25 |
|||||
|
|
|
|
|
||
А |
|
|
0,08 106 5 10 4 1,35 |
|
5 10 4 1 1,35 0,5 10 4 1 1,35 |
142 Н·м. |
|
|
|
||||
сж |
|
|
1 1,35 |
|
|
|
|
|
|
|
|
||
Тогда индикаторная работа двигателя А будет равна |
|
|||||
|
|
|
А = Арас – Асж = 473 – 142 = 331 Н·м. |
(5.22) |
||
Таким образом, результаты расчетов в обоих случаях практически совпадают, погрешность не превышает 1 %.
Отметим, что теоретическая индикаторная диаграмма бензинового двигателя отличается от действительной диаграммы меньшей величиной максимального давления примерно на 15 % (Рд = 0,85 Рz).
У дизельных двигателей подвод теплоты (сгорание топлива) осуществляется смешанным способом – при постоянном объеме (как у бензиновых двигателей) и при постоянном давлении. Степень повышения давления при сгорании λ = Pz / Рс у дизелей без наддува лежит в пределах 1,5 − 2,5, а степень предварительного расширения (Vz / Vc) – 1,2 − 1,5. Степень сжатия у дизелей без наддува лежит в
пределах 16 − 18, а с |
наддувом |
12 − 16. |
|
На рис. 5.6 показана верхняя часть |
|
индикаторной диаграммы |
дизельного |
двигателя. Процесс сгорания от точки P'z до точки Pz протекает при постоянном давлении. На этом участке продолжается подача топлива форсункой, и хотя поршень движется к НМТ, давление газов на теоретической индикаторной диаграмме остается постоянным.
Для определения давления в конце расширения дизельных двигателей используют формулу
Рис. 5.6. Верхняя часть индикаторной диаграммы дизеля: Vc – объем камеры сгорания; Vz – объем предварительного расширения
Рв=Рz /δn2, |
(5.23) |
где Pz – величина максимального давления сгорания, МПа; δ = ε / ρп – степень последующего расширения; ρп – степень предварительного расширения
230
(для бензиновых двигателей 1, а дизелей: 1,2 − 1,4).
Например, ε =16 , ρп = 1,3, тогда δ = 12,3. Давление в конце расширения определяем при δ =12,3, а текущие значения давления на линии расширения определяем при изменении δ от 1,3 до 16.
После такта расширения открывается выпускной клапан, и отработавшие газы вытесняются поршнем из цилиндра. Давление при выпуске отработавших газов Рг равно давлению наддува или больше атмосферного давления на 10 − 20 % у двигателей без наддува.
Цикл – круговой процесс, состоящий из тактов впуска, сжатия, расширения (рабочего хода), выпуска и возвращающийся в начальное положение. Для определения работы цикла используют среднее индикаторное давление, которое представляет собой условное постоянное давление, совершающее работу за ход поршня, равную работе газов, совершенную за весь цикл.
Среднее индикаторное давление находим из выражения
Рi = Асум / Vh = 331 / 4,5·10 -4 = 0,74·106 Н/м2, или 0,74 МПа. (5.24)
Зная Pi ,Vh , число цилиндров i и частоту вращения коленчатого вала двигателя nд (мин-1), определим индикаторную мощность двигателя:
Ni = Pi · Vh · i· nд / 120 = 0,74·106· 4,5·10-4·4·5600 /120= 62 кВт. (5.25)
Механический КПД (ηм) учитывает потери мощности на трение, газообмен и привод вспомогательных механизмов (0,75 − 0,9). Приняв ηм= 0,8, определим эффективную (снимаемую с коленчатого вала) мощность по формуле
Nе = Ni · ηм = 62· 0,8 = 50 кВт. |
(5.26) |
Зная величину Nе , определим эффективный крутящий момент на |
|
коленчатом валу: |
|
Ме = 9550 · Nе / nд = 9550·50/ 5600 = 85 Н·м. |
(5.27) |
5.4.Экспериментальное определение давления газов
вцилиндре двигателя
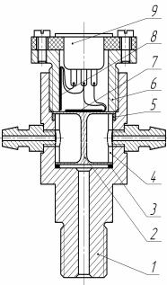
Для сравнения результатов расчета необходимо экспериментальным путем определить изменения давления в цилиндре двигателя. Для измерения давления в цилиндре двигателя предлагается тензометрический датчик, изображенный на рис. 5.7.
231
Чувствительный элемент 2 состоит из двух мембран, жестко соединенных между собой штоком. В полость датчика подводится охлаждающая жидкость. Датчик записывает изменения давления в зависимости от угла поворота коленчатого вала (развернутую индикаторную диаграмму) при помощи усилителя и осциллографа.
На рис. 5.8 показана осциллограмма давления газов в цилиндре дизеля типа Д-440 Nе = 66 кВт, n = 1750 мин-1, снятая датчиком давления, изображенным на рис. 5.7. Для полного анализа протекания рабочего процесса на осциллограмме дана отметка времени и приведен ход иглы hи , зафиксированный индуктивным датчиком.
Рис. 5.7. Датчик давления: 1 – корпус датчика;
2 – чувствительный элемент;
3 – прокладка уплотняющая;
4 – втулка распорная;
5 – резиновое кольцо; 6 – гайка;
7 – тензометрический элемент;
8 – компенсатор; 9 – разъем
Процесс сгорания топлива у дизеля условно разбиваем на 4 фазы:
1) индукционный период (период задержки воспламенения поданного топлива, от точки 1 до точки 2); 2) период резкого нарастания дав-
ления (фаза быстрого сгорания, от точки 2 до 3); 3) период основного горения (от точки 3 до 4); 4) период догорания.
Индукционный период начинается от момента впрыска топлива до начала горения. Период резкого нарастания давления наблюдается от начала горения до максимального значения давления в цилиндре. На данном участке определяют жесткость процесса сгорания – отношение приращения давления к одному градусу поворота вала. Период основного горения продолжается от максимального давления до максимальной температуры в цилиндре двигателя.
232