Материал: 2465

Внимание! Если размещение файла нарушает Ваши авторские права, то обязательно сообщите нам

цистерны более 10 000 л. Количество теплоты, кДж, необходимой для нагрева битума за 0,5 ч,

Qп mбсб (t2 t1).

(4.13)

Количество теплоты, вырабатываемое отопительной системой

за 1 ч при тб <10 000 кг Qо.с = 2Qп; при тб

10 000 кг Qо.с = Qп.

Расход топлива отопительной системой автогудронатора, кг/ч,

Qт.о.с= Qо.с /Qпол ,

(4.14)

где Qпол – количество полезной теплоты от сжигания 1 кг топлива, кДж/кг.

Количество полезной теплоты зависит от теплоты сгорания топлива и суммы потерь тепла. Теплоту сгорания Qр.н , кДж, легкого жидкого топлива принимают по справочникам. Для бензина удельная

теплота сгорания равна 44 – 47 МДж/кг, для дизельного топлива – 42,7

 

 

Д

 

МДж/кг. Потери теплоты при работе форсунок составляют: от

химической неполноты сгорания

qx=2 – 3 %; от

механической

неполноты сгорания qм=

А

в открытое

5 %;

потериИфорсункой

пространство qл=6 – 8 %; потери с дымовыми газами qд.г=15 – 20 %. Общие потери теплоты, %,

 

qп

qх

qм qл qд.г .

(4.15)

и

 

 

 

 

 

 

Полезная теплота, кДж, от сжигания 1 кг топлива [1, 2]

 

С

б

100 q

п

 

 

 

Qпол

Q

р.н

 

.

(4.16)

 

100

 

 

 

 

 

 

 

 

Расход топлива при огневом нагреве битума в битумохранилище и битумонагревательном котле определяют аналогично.

Жаровые трубы автогудронаторов имеют U-образную форму. Длину каждой ветви жаровых труб принимают равной 0,8 длины

цистерны. Общая длина жаровых труб, м,

 

Lж.т 1,6Lж.тz,

(4.17)

где z – число жаровых труб, z = 2.

Диаметр жаровых труб автогудронатора Dж.т = 0,12 0,15 м.

66

Контрольные вопросы

1.Основные параметры битумного насоса.

2.Назовите условия для расчёта отопительной системы автогудронатора.

3.Из каких составляющих складываются потери давления в распределительной системе гудронатора?

4.Какое топливо используется в отопительной системе гудронатора?

5.Виды потерь тепла в автогудронаторе.

6. Меры, применяемые для равномерного нагрева битума в цистерне.

 

 

 

 

И

 

 

 

Д

 

 

А

 

 

б

 

 

и

 

 

 

С

 

 

 

 

67

5. ПРИМЕНЕНИЕ ВЯЖУЩИХ НА АСФАЛЬТОБЕТОННЫХ ЗАВОДАХ

5.1. Технологическая схема АБЗ

Горячие асфальтобетонные смеси приготовляют в стационарных, полустационарных и передвижных установках периодического или непрерывного действия. Производительность асфальтобетонных установок колеблется в пределах от 6 до 400 т/ч и более [1].

Современные асфальтосмесительные установки представляют собой сложившийся технологический комплекс оборудования и агрегатов, работающих в единой технологической цепи.

минеральные материалы подаются в агрегатИпитания 1, каждый расходный бункер которого имеет дозаторДдля предварительного весового или объемного дозирования фракционного щебня и песка.

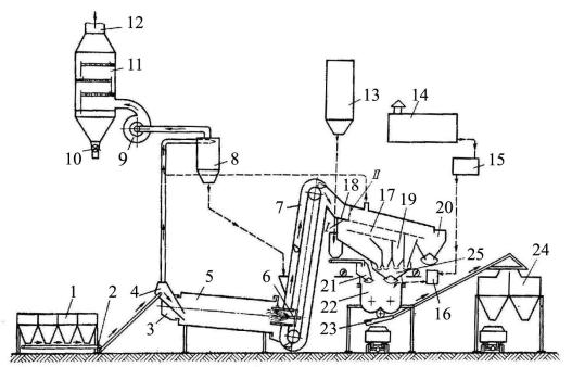
На рис. 5.1 представлена принципиальная технологическая

схема современной асфальтосмесительной установки. Со склада

Непрерывно дозируемыеАматериалы поступают при помощи ленточного транспортера 2 в загрузочное устройство 4 сушильного агрегата 5, где материалыбвысушиваются и нагреваются до рабочей температуры. Барабан имеет топку с форсункой 6. Температуру нагревания устанавливаютис учетом последующих потерь и постоянно контрол руют. Горячим элеватором 7 компоненты смеси подаются в сортировочныйС агрегат 17 для более тщательного фракционирования по отсекам 19 горячих бункеров и последующего весового дозирования в дозаторе, а негабарит сбрасывается в бункер

20.

При установке перекидного лотка 18 в положение II горячие материалы поступают в бункер песка и далее на дозирование в дозатор, минуя грохот.

В установках периодического действия дозирование ведется порционно на каждый последующий замес. Отдозированный материал одного замеса из весового бункера дозатора 25 для песка и щебня подается в смеситель 22. Порция минерального порошка из агрегата хранения и выдачи 13 подается в бункер, а затем дозатором 21 в смеситель. Битум из битумохранилища 14 подогревается нагревателем 15 и вводится в смеситель насосно-дозирующим устройством 16. Возможно применение аналогичного устройства для дозирования и подачи поверхностно-активных добавок.

68

Готовая порция смеси выгружается из смесителя либо в ковш скипового подъемника 23 накопительного бункера 24, либо в кузов автосамосвала. Наличие накопительного бункера позволяет исключить простои смесительного агрегата при задержке транспорта по прибытии последнего до минимума сократить продолжительность простоя транспорта под загрузкой.

За автоматической работой агрегатов ведется контроль с пульта управления кабины оператора, где также имеется дублирующая система дистанционного управления.

Дозатор минерального порошка пневмотранспортом загружается из расходной емкости. Последняя по мере опоражнивания заполняется из цистерны цементовоза. Установка может иметь до-

полнительный агрегат для беспламенной сушки и нагрева мине-

рального порошка.

 

 

 

 

И

 

 

 

 

 

 

 

 

 

Д

 

 

 

А

 

 

 

б

 

 

 

и

 

 

 

С

 

 

 

 

Рис. 5.1. Технологическая схема асфальтобетоносмесительной установки

Битумная система питается от обогреваемой цистерны, которая имеет насосное устройство. Вместо цистерны можно применять битумонагревательные котлы, оборудованные битумными насосами.

Дымовые газы из сушильного барабана через дымовую коробку 3 поступают на первую ступень очистки 8. Уловленная пыль должна быть направлена в горячий элеватор. Подача уловленной пыли в бункер минерального порошка или в дозатор минерального порошка

69

21, или специальный дозатор пыли нежелательна по двум причинам: во-первых, пыль, уносимая из сушильного барабана, является неотъемлемым компонентом песка и при частичной подаче ее в процессе дозирования может нарушиться проектная пористость и плотность асфальтобетона; во-вторых, силикатная пыль уноса является кислой породой и не может служить заменой минерального порошка, приготовляемого из основных материалов – известняка или доломита [1].

Очищенные на первой ступени дымовые газы дымососом 9 могут подаваться на вторую ступень пылеочистки 11, на которой применяют мокрую очистку, рукавные фильтры, электрофильтры и

др. Затем дымовые газы выбрасываются в трубу 12, а уловленная пыль или шлам удаляются через дозатор 10.

Производительность дозаторов регулируютДИ, изменяя ход лотков, что достигается изменением эксцентриситета кривошипа.

Установка оснащена системой опрыскивания внутренних поверхностей скипового ковша и кузовов автосамосвалов тонким слоем солярового масла для предотвращения налипания

асфальтобетонной смеси.

Дозирование битума в пределах 0 –1,3 т/ч производится битумным насосом-дозатором шестеренного типа. Все рабочие

Для дозирования воды служит объемный дозатор непрерывного действия, оснащенный насосом и счетчиком.

процессы асфальтобетоносмесительной установки, включая выдачу

смеси, ведутся непрерывно.

А

Битумный дозатор непрерывного объемного дозирования с

 

б

битумным насосом обеспечивает дозирование в пределах 0,5 –16 т/ч.

и

 

С

 

 

5.2. Дозаторы битума

Вяжущий материал на асфальтобетонных заводах дозируется дозаторами объемного или весового действия.

Дозаторы битума выполнены обогреваемыми, так как изменение температуры может вызвать значительные отклонения в точности работы дозаторов объемного действия.

Объёмный дозатор (рис. 5.2) битума представляет собой мерный бак, внутри которого расположен поплавок. Количество необходимого битума устанавливают по пространственной линейке перемещением конечного выключателя [1].

70