4. ТРАНСПОРТИРОВАНИЕ И РАСПРЕДЕЛЕНИЕ ВЯЖУЩИХ МАТЕРИАЛОВ
Косновным параметрам автогудронатора относятся производительность, вместимость цистерны, рабочая скорость и ширина полосы распределения битума. Рабочим органом является распределительная система, состоящая из труб с форсунками и битумного насоса, обеспечивающего требуемую подачу вяжущего.
Производительность автогудронаторов, л/ч, зависит от
удаленности битумной базы от места розлива, а также организации работ по розливу и набору битума [2]: ИД (4.1)
Время, затрачиваемое автогудронатором на один рейс,
T tн |
|
L1 |
60 |
L1 |
60 tр tм tп , |
(4.2) |
г |
|
|||||
|
|
|
п |
|
||
где tн – время, затрачиваемое на на ор битумного материала, мин, tн= |
|
А |
– |
=10 – 15 мин; L1 – расстоян е от базы до места работ, км; г |
|
скорость движения груженогобгудронатора, км/ч, г = 20 –25 км/ч; |
п |
при V = 3000 лСtр=3 – 5 мин, при V = 5000 л tр= 4–8 мин; tм – время,
– скорость движен я порожнего гудронатора, принимают п = 30–40 |
|
км/ч; tр – время, затраченноеи |
на распределение материала, tр=V/Qн, |
затрачиваемое на маневры на базе и у места розлива, tм= 4– 6 мин; tп – время, затрачиваемое на подготовку к распределению, tп= 5 – 10 мин.
Для обеспечения бесперебойной работы автогудронатора число обслуживающих его битумонагревателей должно составлять (при
одинаковой вместимости) |
|
N = Tн/T, |
(4.3) |
где Тн – время на нагрев битума в одном нагревателе, ч; Т – время на один рейс гудронатора, ч.
Расчет насосной установки включает в себя определение необходимых наибольшей подачи насоса и мощности двигателя для его привода.
61
Подача насоса, л/мин, для обеспечения работы гудронатора
Qнmax = qуд.max Lполн, |
(4.4) |
где qуд.max – наибольший удельный расход; – рабочая скорость гудронатора при распределении, соответствующая qуд.max, м/мин; Lполн
– полная длина распределительных труб, м. По Qнmax подбирают подачу насоса.
Мощность двигателя насоса определяют по методике, рассмотренной выше. При этом pр должно быть таким, чтобы после преодоления всех сил, сопротивлений, возникающих в циркуляционнораспределительной системе, разливаемый материал поступал на дорогу под соответствующим давлением.
Исходя из наибольшей подачи насоса qнmax (л/с) и трубы наименьшего диаметра dmin из труб, входящих в циркуляционнораспределительную систему, определяют наибольшую скорость
движения битума [1, 2]: |
|
|
|
|
4q |
нmax |
( d2 |
). |
(4.5) |
|
min |
|
||
По находят число Рейнольдса Re |
И |
|
||
и потерю напора pтр на |
||||
единицу длины. |
сопротивленияД |
|
||
Коэффициенты местного |
циркуляционно- |
|||
распределительной системы автогудронатораА определяют при входе трубопровода наполнен я в насос (ξ1=1); при выходе из насоса в
рассмотренным в гл. 3.
трубопровод (ξ2=1); при проходе через повороты труб (ξ3 =1–3); при |
|
проходе через большой |
бмалый трехходовые краны (ξ4 =ξ5 = 1,5); при |
проходе через сопла распредел тельной трубы (ξ6 = 1,5). |
|
и |
|
Тепловой расчет автогудронаторов осуществляют методом, |
|
С |
|
Удельный расход битума qуд, л/м2, зависит от скорости , м/мин, движения автомобиля, подачи насоса Qн, л/мин, и длины L,м,
распределительной трубы: |
|
qуд = Qн/( L). |
(4.6) |
Для увеличения qуд необходимо повысить Qн при сохранении и L или при постоянных Qн иL уменьшить .
Варианты заданий для практических расчётов приведены в прил. 3.
62
Расчет теплоизоляции цистерны предусматривает определение толщины слоя изоляции по количеству теплоты, выделяемой битумом при его остывании за 1 ч не более чем на 10 °С; количеству теплоты, которое может быть передано в окружающую среду через наружную поверхность цистерны при заданных условиях. Приравняв количество теплоты, теряемое битумом, и количество теплоты, проходящее через стенку цистерны, определяют толщину слоя изоляции.
Количество теплоты, кДж, выделяемое при остывании битума за
1 ч [1],
|
|
|
|
|
|
|
|
|
|
Qб |
mб |
сб |
(t1 |
t2), |
|
(4.7) |
|||||
|
|
|
|
|
|
|
|
|
|
|
|
|
|
|
|
|
И |
|
|||
где mб – масса битума, кг; cб – удельная теплоемкость битума, |
|||||||||||||||||||||
кДж/(кг С); |
|
t1 |
– |
начальная температура битума, |
|
t1=180 С; t2 – |
|||||||||||||||
|
|
|
|
|
|
|
|
|
|
|
|
|
|
Д |
=170 – 175 С. |
||||||
температура битума через 1 ч транспортирования, t2 |
|||||||||||||||||||||
Количество теплоты, |
|
кДж, теряемое битумом через внешнюю |
|||||||||||||||||||
|
|
|
|
|
|
|
|
|
|
|
|
А |
|
|
|
|
|
|
|||
поверхность в окружающее пространство [1], |
|
|
|||||||||||||||||||
|
|
|
|
|
|
|
|
|
Qт 3600aSц(tб tв), |
|
(4.8) |
||||||||||
где – |
коэффициент |
теплопередачи, кВт/(м2 °С); Sц – площадь |
|||||||||||||||||||
поверхности |
|
|
и |
|
|
t |
– |
|
|
|
|
|
|
|
|||||||
цистерны, |
м2; |
|
|
|
|
|
|
|
|
||||||||||||
средняя |
температура |
|
тума, С, |
|
|
|
|
|
|
|
|||||||||||
tб (t1 t2)/2; |
tв |
|
– |
|
температураб |
|
|
|
|
|
|
|
|||||||||
наружного воздуха, |
|
, |
tв= 10 С. |
|
|
|
|
|
|
|
|
||||||||||
Площадь поверхности эллипти- |
|
|
|
|
|
|
|
||||||||||||||
ческой цистерны (рис. 4.1) |
|
|
|
|
|
|
|
|
|
|
|
|
|
||||||||
|
S |
ц |
2S |
S |
, |
|
|
|
|
(4.9) |
|
|
|
|
|
|
|
||||
|
|
Ст б |
|
|
|
|
|
|
|
|
|
|
|
|
|
|
|||||
где Sт – площадь эллиптических |
Рис. 4.1. Цистерна автогудронатора |
||||||||||||||||||||
торцов цистерны, м2, |
|
Sт= ab; |
Sб |
– |
|||||||||||||||||
боковая площадь цистерны, м2, |
|
|
|
|
|
|
|
|
|
||||||||||||
|
|
|
|
|
S |
б |
L |
|
|
2(a2 b2) |
(a b)2 |
|
, |
|
(4.10) |
||||||
|
|
|
|
|
|
|
|
|
|||||||||||||
|
|
|
|
|
|
|
ц |
|
|
|
|
|
|
4 |
|
|
|
|
|||
|
|
|
|
|
|
|
|
|
|
|
|
|
|
|
|
|
|
|
|
||
где Lц – длина цистерны, м; a и b – полуоси эллипса торцовых днищ, м.
Выбирая размер цистерны, необходимо учитывать, что её ширина и высота с учётом установки на автомобильное шасси
63
должны входить в транспортные габариты, обеспечивающие возможность свободного перемещения по дорогам без специальных разрешений.
Коэффициент теплопередачи через трехслойную стенку от горячего битума воздуха (рис. 4.2)
h |
1 |
, |
(4.11) |
1/a1 l1 / 1 l2 / 2 l3 / 3 1/a2
где 1 – коэффициент теплопередачи от битума к металлической стенке цистерны, 1 = 0,097 кВт/(м2 °С); l1 – толщина стенки цистерны, l1 =0,004 м; 1 – коэффициент теплопроводности стали, 1= = 0,046 – 0,058 кВт/(м2 °С); l2 – толщина слоя теплоизоляции, м (неизвестна); 2 – коэффициент теплопроводности теплоизоляции, для асбеста 2 = 0,00015 –0 ,002 кВт/(м °С); для стекловаты 2 = = 0,000044 кВт/(м °С); l3 – толщина стенки кожуха, l3 = 0,001 м; 3 –
|
|
|
|
Д |
|
|
|
теплопроводность стали; 2 – коэффициент теплоотдачи от кожуха |
|||||||
цистерны наружному воздуху, кВт/(м2 °С); 2=0,0042 0,805 |
/ D0,195( г – |
||||||
|
|
|
А |
|
г |
ср |
|
скорость движения гудронатора, м/с; |
DИср – средний диаметр |
||||||
цистерны, м). |
|
б |
|
|
|
|
|
|
|
|
|
|
|
||
|
и |
|
|
|
|
|
|
|
С |
|
|
|
|
|
|
Рис. 4.2. Схема передачи теплоты:
а– через плоскую трехслойную стенку;
б– через криволинейную трехслойную стенку
Для условий стоянки автогудронатора в безветренную погоду вместо скорости г принимают скорость конвективного движения воздуха вокруг цистерны к = 0,5 м/с. Приравняв правые части уравнений для Q6 и Qт и решая их относительно l2, получают толщину теплоизоляции [1, 2]:
64
3600Sц (tб tв ) |
1 |
|
l |
|
|
l |
|
1 |
|
|
|||||||||
l2 2 |
|
|
|
|
|
|
|
|
|
1 |
|
3 |
|
|
|
. |
(4.12) |
||
m с |
б |
(t |
t |
2 |
) |
|
|
1 |
|
3 |
|
2 |
|||||||
|
б |
1 |
|
|
1 |
|
|
|
|
|
|
|
|
||||||
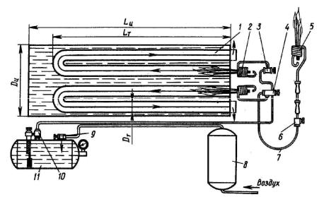
Отопительная система (рис. 4.3) автогудронаторов, битумовозов и нагревателей битума состоит из двух жаровых труб, горелок, топливного бака, топливопроводов и системы подачи топлива. Система предназначена для нагрева битума до 160 °С и поддержания его рабочей температуры. Расчет отопительной системы включает в себя определение количества теплоты, необходимой для подогрева битума за конкретное время; теплоты сгорания и часового расхода топлива; количества теплоты, передаваемой от горячих газов к битуму через жаровые трубы. Приравнивая количество теплоты, необходимое для нагрева битума, и количество теплоты, проходящее через стенку
жаровой трубы, определяют площадь жаровых труб. По известной длине жаровых труб, их форме и площади находят диаметр жаровых труб.
|
|
|
И |
|
|
Д |
|
|
А |
|
|
б |
|
|
|
и |
|
|
|
Рис.С4.3. Схема отопительной системы с жаровыми трубами: |
|||
1 – жаровая труба; 2 – стационарная горелка; 3 – вентиль стационарной горелки; 4 – распределительный вентиль; S – переносная горелка; 6 – вентиль переносной горелки; 7 – шланг переносной горелки; 8 – баллон переносной горелки; 9 – вентиль воздухопровода; 10 – тонкий вентиль; 11 – топливный бак
Расчет ведут исходя из того, что температура в цистерне гудронатора должна повыситься со 120 до 180 °С за 0,5 ч при вместимости цистерны до 10 000 л или за 1 ч при вместимости
65