Материал: 2465

Внимание! Если размещение файла нарушает Ваши авторские права, то обязательно сообщите нам

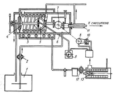
Порция битума подается в емкость 3, которая заполняется вяжущим, поступающим по трубопроводу через наполнительный кран 7. По мере заполнения ёмкости битумом всплывает металлический герметичный поплавок 5, связанный гибким стальным канатиком 9 через системы направляющих блоков с мерноотсчетным устройством. Отражатель 6 предназначен для плавного подъема поплавка. Отсчетная шкала 10 закреплена на трубе, внутри которой перемещается грузик 11 со стрелкой. При заполнении емкости грузик опускается от нулевого деления по шкале вниз. В каждый момент стрелка грузика указывает количество битума (л) в дозаторе. Как только стрелка дойдет до заданного деления на шкале, наполнительный кран патрубка 2 закрывается. При срабатывании датчика 14 от действия

грузика 11 закрывается кран 7. На этом процесс дозирования заканчивается. Дозированная порция битума в смеситель сливается через сливной кран 8. Для подачи битума в смеситель под давлением трубопровод сливного крана должен подключаться к насосу подачи битума.

 

 

 

 

И

 

 

 

Д

 

 

А

 

 

б

 

 

и

 

 

 

С

 

 

 

 

Рис. 5.2. Объемный дозатор битума поплавкового типа

Дозатор объемного дозирования может иметь достаточную точность работы, если окружающая температура будет поддерживаться

71

постоянной. Нижняя половина дозатора имеет паровую рубашку 4, паровым подогревом оборудованы также наполнительный и сливной краны и битумопроводы.

Изменение объема подаваемого дозатором битума производится перемещением датчика 14 вдоль шкалы хомутиком 13 и винтом 12. Окончательно этот объем корректируется по показанию стрелки с учетом инертности действия исполнительных механизмов управления краном. Такая коррекция осуществляется при малых перемещениях коробки датчика вдоль шкалы.

Дозаторы объемного дозирования поплавкового типа с изменяемым рабочим объемом имеют следующие недостатки – большие затраты времени на цикл дозирования, связанные с последовательным

заполнением и опорожнением бака дозатора; попадание пыли в бак

того, дозаторы поплавкового типа неДобеспечиваютИдопустимой погрешности дозирования (±1,5 %). остоинство дозаторов объемного дозирования: простота конструкции, низкая стоимость, отсутствие

дозатора, так как камера дозирования связана с атмосферой;

выход в атмосферу паров битума и поверхностно-активных добавок;

перелив битума из дозатора через переливной патрубок 1. Эти

недостатки ведут к потере битума и загрязнению установки. Кроме

деталей и узлов, требующих высокой точности изготовления. Для

смесителей с сокращенным циклом смешивания и подачей битума под

и

дозаторы с непрерывно-

давлением 1,5...2,1 МПа применяютА

объемным дозирован ем вяжущего.

 

С

 

Дозирующее устройствобс расходомером (импакт-аппарат) (рис.

5.3) имеет бак 3 с масляным подогревом (от трубчатого нагревателя 13 с насосом 12). Из бака через сетчатый фильтр 4, расходомер 5 (шестеренный насос с эллиптическими шестернями) насосом высокого давления 7 битум по битумопроводу 11 подается в смеситель. В бак дозатора битум непрерывно подается циркуляционным насосом 2 из расходной емкости 1, а через контрольно-сливную трубу излишки битума возвращаются в емкость, благодаря чему подача циркуляционного насоса несколько больше подачи насоса высокого давления. Обогрев агрегатов в корпусе дозатора осуществляется горячим битумом. При включении электромагнитной муфты 8 вращение от электродвигателя 10 передается насосу высокого давления. Насос расходомера, принудительно вращаясь потоком битума, измеряет объем проходящего битума и при помощи гибкого валика 6 и стрелки индикатора 9 указывает количество битума, подаваемого в смеситель.

72

При совмещении указательной стрелки с установочной подается сигнал автоматической системе управления на выключение электромагнитной муфты 5 и отключение указывающей стрелки индикатора 9, которая возвращается в нулевое положение.

 

 

 

И

 

 

Д

 

А

 

б

 

 

Рис. 5.3. Дозирующее устройство импакт-аппарата для битума

и

 

 

 

Недостатки импакт-дозатора: сложность конструкции, сложность изготовлен я элл пт ческих шестерен насоса расходомера и неравномерностьСх угловой скорости вращения, сложность обслуживания и ремонта дозатора, так как все агрегаты находятся непосредственно в битумной ванне.

Более простым по конструкции является дозатор шпридомат-ап- парат (рис. 5.4), состоящий из расходной емкости 1, поплавкового заборного устройства 2, насоса высокого давления 4, циркуляционного патрубка 3, корпуса дозатора, распределителя 7, фильтра 6, насоса расходомера 5 и индикатора-дозатора 8. Битум из дозатора впрыскивается форсунками 10 в смеситель 11, куда подается минеральный материал из дозатора 9.

В шпридомат-аппарате насос-дозатор с эллиптическими шестернями вращается принудительно потоком битума высокого давления. Преимущества шпридомат-аппарата по сравнению с импактаппаратом заключаются в простоте конструкции, постоянстве работы насоса высокого давления [19]. Недостатки шпридомат-аппарата: сложность изготовления эллиптических шестерен насоса дозатора и

73

неравномерность их угловой скорости вращения. Общим достоинством насосов-дозаторов является большая производительность за один оборот шестерни.

 

И

 

Д

Рис. 5.4. Дозирующее устройство

б

 

шпридомат-аппарат для битума

С целью обеспечения срока службы дозаторов необходимо

и

 

применять сетчатые ф льтры Адля очистки битума от механических

загрязнений. После окончан я ра оты аппарат должен быть освобожден от остатков битумаС, а перед работой – предварительно прогрет, для чего в аппаратеимеетсяобогревающаясистема.

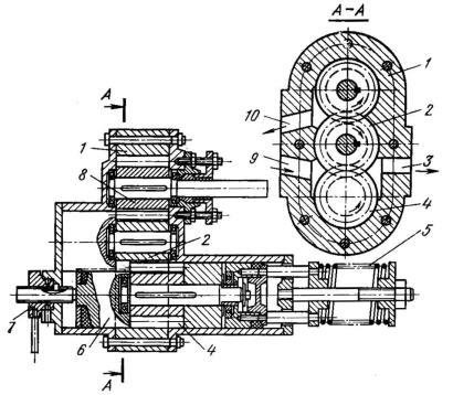
Битум на установках непрерывного действия дозируют битумными насосами-дозаторами (рис. 5.5).

В корпусе 1 насоса расположены три шестерни 2, 4 и 8, находящиеся в постоянном зацеплении [1]. При этом шестерня 4 кроме вращательного движения может совершать осевое перемещение с помощью винта 7. В обратном направлении шестерня подается пружиной 5. Вкладыш 6, перемещающийся одновременно с шестерней 4, имеет цилиндрический вырез с радиусом кривизны, соответствующим радиусу окружности выступов шестерни 2.

Этот вкладыш разобщает всасывающий канал 9 и нагнетательный канал 3 отдозированного битума, заменяя собой цилиндрическую поверхность корпуса насоса. При вращении ведущей шестерни 8 против часовой стрелки промежуточная 2 и дозирующая 4 шестерни

74

увлекают жидкость из канала 9 и выдают ее соответственно: дозирующая шестерня в канал 3, а промежуточная – в канал 10. Количество битума, подаваемое в канал 10, остается постоянным, а количество жидкости, подаваемое в канал 3, меняется передвижением шестерни 4, так как при этом изменяется длина ее зацепления и, как следствие, изменяется количество битума, подаваемое в канал 3.

 

 

 

И

 

 

Д

 

А

 

б

 

 

и

 

 

 

Р с. 5.5. Б тумный насос-дозатор

В весовомСдозаторе (р с. 5.6) нагретый битум из битумоплавильни 13 насосом 14 подается по трубе 15 в весовую бадью 3, обогреваемую в нижней части паровой или масляной рубашкой 4. Бадья подвешена на грузоприемном рычаге 2 к кронштейнам 1. Рычаг имеет гирю для уравновешивания тары весов. Системой тяг рычаг 2 связан с обратным рычагом 10. Коромысла 8, линейка 9, связывающие их рамки, демпфер 11 и механизмы арретиров выполнены так же, как у весового дозатора минеральных материалов [18]. На весовом шкафу 7 установлен циферблат 12, указывающий недовес и перевес в пределах ±2 кг. Взвешенная доза битума насосом впрыскивается в смеситель 16. Внутрь бадьи введена контрольная труба 6 для слива излишков. Остатки битума из бадьи сливаются через отверстие, закрываемое пробкой 5.

75