Материал: 2461

Внимание! Если размещение файла нарушает Ваши авторские права, то обязательно сообщите нам

Секционный гидрораспределитель с ручным управлением типа Р50–3/… ГОСТ 8754–80 (рис. 5.4) предназначен для распределения потока рабочей жидкости в гидросистемах сельскохозяйственных машин /11, 12, 13/.

Количество рабочих секций в одном распределителе (блоке) минимальное – одна секция, максимальное – шесть секций.

В распределителях применяются типы рабочих секций:

с двумя запорными клапанами 1, 4 (рис. 5.5);

с одним запорным клапаном;

без запорных клапанов.

Рабочие секции выполнены с двумя линиями или одной линией подвода к рабочему органу.

Рис. 5.4. Общий в д г дрораспределителя с ручным управлением Р50–3/…

 

 

 

 

И

 

 

 

Д

 

 

А

 

 

б

 

 

и

 

 

 

С

 

 

 

 

Рабочие секции взаимозаменяемы, что дает возможность сборки распределителей различных схем комплектации.

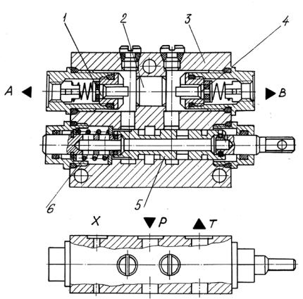
Основными конструктивными элементами распределителя являются корпус 3 и запорно-регулирующий элемент – цилиндрический золотник 5 (см. рис. 5.5).

По числу характерных положений цилиндрического золотника гидрораспределитель – трехпозиционный.

Золотник 5 имеет цилиндрические пояски с острыми кромками. Рабочие проходные сечения в распределителе формируются кромками цилиндрических расточек корпуса 3 и цилиндрическими поясками золотника 5.

При перемещении золотника в рабочее положение «вверх» («вниз») рабочая жидкость под давлением от напорной полости Р че-

176

рез рабочее проходное сечение соединяется с полостью потребителя В (А). Запорные клапаны 1, 4 под действием давления жидкости открыты. Одновременно поршенек 2 под действием давления жидкости смещается, открывая клапаны 1, 4, что обеспечивает пропускание рабочей жидкости от потребителя А (В) через второе рабочее проходное сечение к сливной линии Т.

Установка золотников распределителя в рабочее положение осуществляется переключением рукояток управления.

Рукоятки управления через тяги рычагов закреплены на золотниках рабочих секций распределителя.

Автоматическая установка золотников из рабочих положений в нейтральное производится под действием возвратных пружин 6, установленных на золотниках, при снятии усилия с рукояток управления.

Технические характеристики гидрораспределителей типа Р… ГОСТа (8754–80) (ОСТ 23.1.96–88 для Р160) приведены в табл. 5.8

/11, 12, 13/.

 

 

 

 

И

 

 

 

 

 

 

 

 

 

Д

 

 

 

А

 

 

 

б

 

 

 

и

 

 

 

 

С

 

 

 

 

Рис. 5.5. Рабочая секция гидрораспределителя Р50–3/… с ручным управлением: 1, 4 – запорные клапаны; 2 – поршенек;

3 – корпус; 5 – золотник; 6 – пружина

177

Таблица 5.8

Технические характеристики гидрораспределителей типа Р… (ГОСТа 8754–80, ОСТ 23.1.96–88 – для Р160…)

Параметр

 

 

 

 

 

Типоразмер

 

Р50–3/…

РЭГ50–3/…

Р80–2/1…

Р160–3/1…

 

 

 

 

 

 

 

 

 

(Р80–3/1…)

 

Условный проход, мм

12

12

 

20

25

Давление, МПа:

 

 

 

 

 

 

 

 

 

 

номинальное

 

 

16

16

 

14 (16)

16

максимальное

 

20

20

 

17,5 (20)

20

Расход рабочей

 

жидкости,

 

 

 

 

 

 

 

 

дм3/мин:

 

 

 

 

 

 

 

 

 

 

номинальный

 

50

50

 

80

160

максимальный

60

60

 

(120)

200

Конструктивное

 

исполне-

 

 

Секционный

 

Моноблочный

ние

 

 

 

 

 

 

 

 

 

 

 

 

 

 

 

 

Д

 

 

Количество золотников

 

 

 

 

2 (3)

3

Диаметр золотника, мм

 

 

 

 

25

32

 

 

 

 

 

А

 

И

 

Число позиций золотников

 

3

 

 

3

4

4

Максимальное

 

количество

 

6

 

 

 

рабочих секций

 

 

 

 

 

 

 

 

 

 

Управление

 

 

б

Электро-

Ручное

 

 

Ручное

 

 

и

 

 

гидравли-

 

 

 

 

 

 

ческое

 

 

 

 

 

 

 

 

 

 

Сила управления, Н, не бо-

200

 

 

лее

С

 

 

 

 

 

 

 

 

 

 

 

 

 

 

 

 

 

 

Давление управления, МПа:

 

 

 

 

 

 

 

 

максимальное

 

 

 

20

 

минимальное

 

 

 

 

 

2

 

Электрический ток управ-

 

 

 

Постоян-

 

 

ления

 

 

 

 

 

ный

 

 

 

Напряжение питания, В

 

 

24

 

Масса, кг

 

 

19

19

 

10,1…15,3

36

Примечание. Моноблочные гидрораспределители имеют встроенные предохранительные клапаны.

178

5.1.2. Обратные клапаны и гидрозамки

Обратные клапаны предназначены для пропускания потока рабочей жидкости в одном направлении и для перекрытия потока рабочей жидкости в обратном.

В отрасли строительного и дорожного машиностроения разработаны семь типоразмеров обратных клапанов одного конструктивного исполнения с условным проходом от 6 до 32 мм.

На мобильных машинах наибольшее применение находят клапаны с условным проходом 16, 20, 25 и 32 мм. Основные параметры обратных клапанов приведены в табл. 5.9 /5/.

 

 

 

 

 

И

Таблица 5.9

 

 

 

 

 

 

 

Основные параметры обратных клапанов типа 61

 

 

 

 

 

 

 

Типоразмер кла-

Условный проход, мм

Номинальный расход,

 

Масса, кг

пана

 

 

 

Д

 

 

 

 

 

 

 

дм3/мин

 

 

61100

 

16

 

 

 

63

 

0,53

61200

 

20

 

 

 

100

 

0,92

61300

 

25

А

 

 

160

 

1,83

 

 

 

 

 

61400

 

32

 

 

 

250

 

2,31

 

 

б

 

 

 

 

 

Конструкция обратного клапана автомобильного крана представ-

лена на рис. 5.6.

и

 

 

 

 

 

 

 

 

 

 

 

 

 

 

С

 

 

 

 

 

 

 

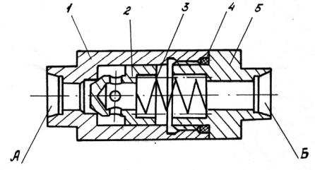
Рис. 5.6. Обратный клапан:

1 – корпус; 2 –клапан; 3 – пружина; 4 – кольцо уплотнительное; 5 – штуцер; А – подвод рабочей жидкости; В – отвод рабочей жидкости

179

Гидрозамки предназначены для пропускания потока рабочей жидкости в одном направлении и перекрытия его в обратном направлении при отсутствии управляющего воздействия и пропускания потока в обоих направлениях при наличии управляющего воздействия.

Общий вид обратного клапана 530.25.00 приведен на рис. 5.7, а клапана 531.20.00 – на рис. 5.8.

 

 

И

Рис. 5.7. Общий вид обратного клапана типа 530.25.00

 

б

Д

 

 

и

 

Рис. 5.8. Общ й в д о Аратного клапана типа 531.20.00

С

 

 

Техническая характер ст ка обратных клапанов типов 530… и 531… приведена в табл. 5.10.

Рис. 5.9. Гидрозамок:

1 – стопорное кольцо; 2 –шайба; 3 – пружина; 4 – клапан; 5 – корпус; 6 – поршень; 7 – кольцо уплотнительное; 8 – штуцер; Р – подвод

рабочей жидкости; А – отвод рабочей жидкости; У – управление

180