Материал: 2461

Внимание! Если размещение файла нарушает Ваши авторские права, то обязательно сообщите нам

четвертое плавающее положение, при котором обе полости гидроцилиндра или гидромотора соединяются со сливной магистралью.

По конструктивным признакам различают моноблочные и секционные распределители.

В моноблочных распределителях все золотники размещены в одном корпусе.

При секционном исполнении золотники расположены в отдельных рабочих секциях, которые соединяют в единый блок с напорной и сливной секциями при помощи стяжных винтов или шпилек. Предохранительный и обратный клапаны обычно расположены в напорной секции.

Гидрораспределитель составляется из унифицированных секций:

напорной, рабочих (в соответствии с количеством гидродвигателей),

промежуточных и сливной.

И

 

Наименование и характеристика секций гидрораспределителей

 

Д

предусмотрены отраслевым стандартом ОСТ 22–829–74. Секционные гидрораспределители рассчитаны на номинальное

давление 16 МПа, предназначены для управления исполнительными механизмами строительных и дорожныхАмашин, эксплуатируемых на рабочих жидкостях вязкостью от 6 до 1600 сСт при температуре окружающей среды от – 40 доб+ 50 °С.

Гидрораспределители о означают буквой P , затем указывают условный проход в мми, номинальное давление в кгс/см2 и далее перечисляют обозначен я всех секций в порядке их установки, начиная с напорной. ПриСустановке нескольких одинаковых рабочих секций подряд перед обозначен ем секций цифрой указывается их число.

Пример условного обозначения гидрораспределителя с условным проходом 25 мм и номинальным давлением 160 кгс/см2 (16 МПа), состоящего из напорной секции 20, одной рабочей секции 01, одной рабочей секции 02.1, одной промежуточной секции 10.4, одной рабочей секции 07 и сливной секции 30, запишется следующим образом: гид-

рораспределитель Р–25.160–20–01–02.1–10.4–07–30 ОСТ 22–829–74.

Распределители типа Р применяются на экскаваторах различных типоразмеров, на коммунальных машинах, манипуляторах.

Распределитель типа РС является секционным и применяется на автомобильных кранах, погрузчиках.

Распределитель типа РМ является моноблочным и применяется на автомобильных кранах, автогрейдерах, автогидроподъемниках, машинах коммунального хозяйства.

166

Технические характеристики секционных гидрораспределителей Андижанского машиностроительного завода при вязкости рабочей жидкости 30 ± 3 сСт приведены в табл. 5.2 /5, 10/.

 

 

 

 

 

Таблица 5.2

Технические характеристики секционных гидрораспределителей типа P

 

 

 

 

 

 

Параметр

 

 

Условный проход, мм

 

 

 

20

25

 

32

Давление, МПа:

 

 

 

 

 

 

номинальное

 

 

16

16

 

16

максимальное

 

 

17,5

17,5

 

17,5

Расход рабочей жидкости, дм3/мин:

 

И

 

 

 

номинальный

 

 

100

160

 

250

максимальный

 

 

125

200

 

320

Внутренние перетечки рабочей жидкости при

 

 

 

 

нейтральной позиции золотника и номинальном

50…150

75…200

 

100…300

давлении, см3/мин, не более

 

 

 

 

 

 

 

 

А

 

 

 

 

Максимальное усилие для перемещения золот-

 

 

 

 

ника из нейтральной позиции в рабочие при но-

350

400

 

450

минальных давлении и расходе, Н

 

 

 

 

 

 

б

 

 

 

 

Количество всех секций, собираемых в одномД6

6

 

6

блоке, не более

 

 

 

 

 

 

Давление в сливной гидролинии, МПа, не более

0,8

0,8

 

0,8

Потери давления в г дрораспределителе при

 

 

 

 

нейтральной позиции золотн ков номиналь-

 

 

 

 

ном расходе рабочей ж дкости, МПа, не более:

 

 

 

 

в одной секц

 

 

0,18

0,25

 

0,25

в двух секцияхи

 

0,32

0,38

 

0,38

в трех секциях

 

 

0,48

0,52

 

0,52

в четырех секциях

 

 

0,65

0,68

 

0,68

С

 

 

 

 

Потери давления при рабочей позиции золотни-

0,65

0,65

 

0,65

ка, МПа, не более

 

 

 

 

 

 

Масса, кг

 

 

Зависит

от числа

секций

 

 

 

 

 

 

 

Ковровский экскаваторный завод выпускает секционные гидрораспределители с условным проходом 32 мм, рассчитанные на номинальное давление 25 МПа.

Технические характеристики этих гидрораспределителей приведены в табл. 5.3 /5/.

167

Таблица 5.3

Технические характеристики секционных гидрораспределителей на номинальное давление 25 МПа с условным проходом 32 мм

Параметр

 

 

 

Гидрораспределитель

 

 

 

 

пятисекционный

семисекционный

Давление, МПа:

 

 

 

 

 

 

номинальное

 

 

 

25

25

максимальное

 

 

 

32

32

Расход рабочей жидкости, дм3/мин:

 

 

 

 

номинальный

 

 

 

 

320

320

максимальный

 

 

 

400

400

Внутренние перетечки рабочей жидкости

 

 

 

при нейтральной позиции золотника и

 

150

150

номинальном давлении, см3/мин, не более

 

 

 

Сила, необходимая для перемещения зо-

Д

 

лотника из нейтральной позиции в рабо-

 

350

350

чие при номинальных давлении и потоке,

 

И

 

Н, не более

 

 

 

 

 

Давление в сливной гидролинии, МПа, не

 

0,8

0,8

более

 

 

 

 

 

 

 

 

б

 

 

 

Потери давления в гидрораспределителе

 

 

 

при нейтральной позиции золотников и

 

0,6

0,75

номинальном расходе рабочей жидкости,

 

 

 

МПа, не более

и

А

 

 

Потери давления при ра очей позиции

 

0,8

0,8

С

 

 

 

 

 

золотника, МПа, не более

 

 

 

 

 

Масса гидрораспредел

теля, кг

 

 

137

191

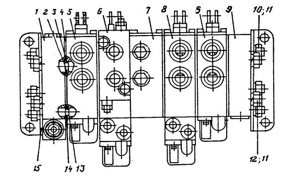
Гидрораспределитель секционный типа РС… состоит из отдельных секций: напорной, рабочих и сливной. Секции между собой стянуты болтами, в стыках между секциями установлены уплотнительные кольца. Количество рабочих секций может быть от одной до пяти. На рис. 5 .1 изображен гидрораспределитель секционный типа РС с пятью рабочими, напорной и сливной секциями.

Рабочая секция состоит из корпуса и золотника. В напорной секции встроены предохранительный, обратный клапаны, на рабочей секции также может быть установлен блок клапанов с встроенными предохранительными и обратными клапанами.

Через напорную секцию осуществляется подвод рабочей жидкости к гидрораспределителю. При нейтральной позиции золотников

168

рабочая жидкость проходит через все рабочие секции по переливному каналу и через отвод в сливной секции поступает в сливную магистраль.

Обратный и предохранительный клапаны в напорной секции расположены в параллельных ветвях. При перемещении золотника рабочей секции в одну из рабочих позиций переливной канал перекрывается и рабочая жидкость подается в один из рабочих отводов, второй отвод соединяется со сливным каналом.

 

 

 

 

И

 

 

 

Д

 

 

А

 

 

б

 

 

и

 

 

 

С

 

 

 

 

Р с. 5.1. Г дрораспределитель РС25.20:

1 – секция напорная; 2, 13 – бандажи; 3, 14 – кольца резиновые; 4 – пластина

уплотнительная; 5 – секция рабочая с пружинным возвратом; 6 – секция рабочая с пружинным возвратом, одновременным управлением

тормозом и блоком предохранительных клапанов; 7 – секция промежуточная с тремя обратными клапанами; 8 – рабочая секция с пружинным возвратом и одновременным управлением тормозом; 9 – секция сливная;

10, 12 – шпильки; 11 – гайка; 15 – угольник

По мере перемещения золотника сечение переливного канала уменьшается (при возврате в нейтральную позицию – увеличивается), тем самым увеличивая поток, поступающий в рабочий отвод. Величина потока при определенном смещении золотника зависит от нагрузки в рабочем отводе. При нагрузке, превышающей установленную, поток сливается через предохранительный клапан, сливная полость которого соединена со сливным каналом рабочих секций и от-

169

водом в сливной секции. Переливной канал может иметь как раздельный слив, так и совмещенный со сливом рабочих секций в сливной секции.

Рабочие секции имеют несколько вариантов схем золотников: трехпозиционный, четырехпозиционный с плавающим положением золотника с фиксацией золотника в рабочей и нейтральных позициях, с пружинным возвратом золотника в нейтральную позицию и т.д.

На рабочую секцию может быть установлен блок перепускных клапанов с двумя встроенными предохранительными клапанами на каждом рабочем отводе, которые перепускают рабочую жидкость из магистрали с высоким давлением в рабочую магистраль с низким (сливным) давлением.

Имеется блок перепускных клапанов со встроенными подпиточными клапанами. В этом случае при срабатывании предохранительного клапана слив рабочей жидкости осуществляется в сливной канал

секции.

Между рабочими секциями можетДбытьИустановлена промежуточная секция со встроенным обратным клапаном.

Схема каналов в промежуточной секции обеспечивает в одном варианте последовательное соединение (поочередное выполнение двух операций), в другом – объединение двух потоков, один из которых

проходит через гидрораспределитель, другой подключается через

промежуточную секцию.

А

 

 

 

Секционные распредел тели имеют ручное управление.

 

Техническая характербст ка гидрораспределителей представлена

в табл. 5.4.

и

 

 

 

Таблица 5.4

 

 

 

 

Техническая характеристика секционных гидрораспределителей

 

типовСРС20.20, РС25.20, Р32.160, ПУМ-500 21.13.000

 

Основные параметры

 

РС20.20

РС25.20

Р32.160

ПУМ-

 

 

 

 

 

 

500…

 

1

 

2

3

4

5

Условный проход, мм

 

20

25

32

18

Давление на входе, МПа:

 

 

 

 

 

номинальное

 

20

20

16

20

максимальное

 

25

25

17,5

35

 

 

 

 

 

 

 

170