Материал: 2461

Внимание! Если размещение файла нарушает Ваши авторские права, то обязательно сообщите нам

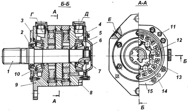
Рис. 3.10. Гидромотор планетарныйДИПМТТ

гидравлический блок (рабочий орган), торцевыми замыкателями

Ротор, сателлит с роликамиАи статор образуют силовой

которого являются крышкиб9 и 4, каждая из них имеет отверстие Г (Д)

для подсоединения к гидросистеме, коллектор и ряд аксиальных каналов, образующиеивместе с аксиальными сквозными отверстиями

в сателлите и рад альными пазами на торцах крышек систему распределения рабочей ж дкости к рабочим камерам.

подшипники 10Си 5, в которых вращается вал 1. Регулировка зазоров в подшипниках обеспечивается гайкой 6. Полости подшипниковых узлов герметизируются крышками 3 и 7 и манжетой 2.

В расточках крышек 9 4 установлены радиально-упорные

Статор 15 и крышки 9 и 4 соединены болтами 8, точность сборки обеспечивается штифтами 11, а герметичность стыков – уплотнительными кольцами.

При подсоединении напорной гидролинии, например, к отверстию 7 рабочая жидкость поступает через коллектор, аксиальные каналы в крышке 9, отверстия в сателлите и соединенные с ними в данном положении сателлита радиальные пазы на торцах крышек 9 и 4 в соответствующие рабочие камеры, которые расширяются с одновременным вращением ротора и вала, а сателлит при этом совершает поступательное планетарное движение в обратную сторону с постоянным эксцентриситетом.

106

Реактивный момент воспринимается зацеплением сателлита со статором. Рабочая жидкость из уменьшающихся в объеме рабочих камер вытесняется через соответствующие радиальные пазы, отверстия в сателлите, аксиальные каналы, коллектор и отверстие Д в крышке 4 в сливную магистраль. Для выхода утечек служит отверстие Е в крышке 9.

За один планетарный оборот сателлита совершается полный цикл всех рабочих камер, а ротор с валом поворачивается на один угловой шаг (один зуб), что соответственно увеличивает рабочий объем гидромотора и крутящий момент на валу.

Величина этого увеличения (кратность) равна числу зубьев ротора, то есть восьми. Таким образом, планетарные гидромоторы совмещают функции объемной гидромашины и редуктора.

Гидромоторы ПМТ 320, ПМТ 400, ПМТИ500 отличаются друг от друга только шириной деталей рабочего органа.

наличием двух унифицированных с ПМТ рабочих органов, что дает удвоение рабочих объемов по сравнению с соответствующими гидромоторами ПМТ. А

Гидромоторы ПМТТ 630, ПМТТД800 и ПМТТ 1000 различаются

Рабочие органы гидромоторов ПМТТ разделены проставкой, в которой для соединения каждогобиз рабочих органов с отверстиями Г и Д выполнены сквозные аксиальные отверстия, соосные с аксиальными каналамиив крышках 9 и 4.

Роторы в гидромоторах ПМТТ установлены на общем валу с относительнымСсмещен ем, равным половине углового шага зубчатого венца, что обеспеч вает работу гидравлических блоков в противофазе и, как следствие, компенсацию внутренних нагрузок на вал и повышение плавности его вращения.

Технические характеристики гидромоторов типа МР-1100А и МР-1800А МР приведены в табл. 3.3 /8/, а гидромоторов МР – в табл.

3.4.

Основные характеристики гидромоторов типа МГП ОАО «Омскгидропривод» приведены в табл. 3.5 /11/, основные характеристики гидромоторов типа ГПР-Ф – в табл. 3.6 /12/.

Основные характеристики гидромоторов ПМТ и ПМТТ приведены в табл. 3.7 /11/.

107

 

 

 

 

 

 

 

 

 

 

Таблица 3.3

Основные параметры гидромоторов МР-1100А, МР-1800А

 

 

 

 

 

 

 

 

 

 

 

Параметры

 

 

 

 

 

МР-1100А

 

МР-1800А

Рабочий объем, см3

 

 

 

 

 

 

1126

 

1809

Давление на входе, МПа:

 

 

 

 

 

 

 

 

 

номинальное

 

 

 

 

 

 

21

 

 

максимальное

 

 

 

 

 

 

25

 

 

Давление на выходе, МПа:

 

 

 

 

 

 

 

 

 

максимальное

 

 

 

 

 

 

2,5

 

 

минимальное

 

 

 

 

 

 

0 (избыточное)

Номинальный перепад давления, МПа

 

 

 

21

 

 

Максимальное

давление

 

в

 

дренажной

 

0,15

 

 

гидролинии, МПа

 

 

 

 

 

 

 

 

 

 

 

 

 

 

 

 

 

И

 

Частота вращения, мин-1:

 

 

 

 

 

 

 

 

 

минимальная

 

 

 

 

 

 

1

 

1

номинальная

 

 

 

 

 

 

100

 

80

максимальная

 

 

 

 

 

 

280

 

220

Расход номинальный, л/мин

 

 

 

 

 

 

119

 

153

 

 

 

 

А

 

 

 

 

Крутящий момент, кН:

 

 

 

 

 

 

 

 

 

номинальный, не менее

 

 

 

 

 

3,38

 

5,44

страгивания, не менее

 

 

 

 

 

 

3,06

 

4,95

 

 

б

Д

 

 

 

Номинальная эффективная мощность, кВт

 

34,74

 

44,65

КПД при номинальных параметрах:

 

 

 

 

 

 

 

 

и

 

 

 

 

0,90

 

 

гидромеханический, не менее

 

 

 

 

 

полный, не менее

 

 

 

 

 

 

0,85

 

 

С

 

 

 

 

 

 

 

 

 

Характеристика рабочей ж дкости:

 

 

 

 

 

 

 

класс чистоты по ГО Т 17216–71

 

 

12

 

 

кинематическая вязкость, сСт:

 

 

 

 

 

 

минимальная

 

 

 

 

 

 

14

 

 

номинальная

 

 

 

 

 

 

35 ± 5

 

максимальная

 

 

 

 

 

 

1500

 

Температура, °С:

 

 

 

 

 

 

 

 

 

 

минимальная

 

 

 

 

 

 

–40

 

максимальная

 

 

 

 

 

 

70

 

 

Номинальная тонкость фильтрации фильтра, мкм

 

25

 

 

 

 

 

 

 

 

°

 

–40…+40

–40…+40

Температура окружающего воздуха рабочая, С

 

 

 

 

Масса (без рабочей жидкости), кг, не более

 

 

150

 

220

 

 

 

 

 

 

 

 

 

 

 

108

Таблица 3.4

Технические характеристики высокомоментных гидромоторов типа МР

 

Параметр

 

 

 

МР-450

МР-700

МР-1100

МР-1800

МР-2800

МР-4500

МР-7000

 

 

 

 

 

 

 

 

 

 

 

 

 

 

Рабочий объем, см3

 

 

 

452

 

707

 

1126

 

1809

2780

4503

6995

Давление на входе, МПа:

 

 

 

 

 

 

 

 

 

 

 

 

 

 

максимальное

 

 

 

25

 

 

25

 

25

 

25

25

25

25

пиковое в момент пуска и торможения

32

 

 

32

 

32

 

32

32

32

32

Номинальный перепад давления, МПа

 

21

 

 

21

 

21

 

21

21

21

21

Частота вращения, мин-1:

 

 

 

 

 

 

 

 

 

 

 

 

 

 

минимальная

 

 

 

1,5

 

 

1

 

1

 

1

1

1

1

номинальная

 

 

 

140

 

120

 

И

80

60

40

30

 

 

 

 

 

100

 

максимальная

 

 

 

400

 

340

 

280

 

220

170

120

80

 

 

 

 

 

 

 

Д

 

 

 

 

 

Номинальный расход, дм3/мин

 

 

 

62

 

 

90 119

 

153

176

192

222

Развиваемый крутящий момент, Н м:

 

 

 

 

 

 

 

 

 

 

 

 

номинальный

 

 

 

1343

 

2124

 

3384

 

5436

8354

13532

21020

при пуске, не менее

 

 

 

1190

 

А

3060

 

4950

7550

12300

19200

 

 

 

 

1900

 

 

Номинальная

эффективная

(полезная)

19,3

 

26,17

 

34,74

44,65

51,46

55,57

64,74

мощность, кВт

 

 

 

 

б

 

 

 

 

 

 

 

 

 

 

 

 

 

 

 

 

 

 

 

 

 

 

 

КПД при номинальных параметрах:

 

и

 

 

 

 

 

 

 

 

 

 

гидромеханический

 

 

0,9

 

0,9

 

0,9

0,9

0,9

0,9

 

 

 

0,89

 

 

полный

 

 

 

 

0,84

0,85

 

0,85

 

0,85

0,85

0,85

0,85

Допускаемая

температура

 

рабочей

 

 

 

 

 

 

 

 

 

 

 

жидкости, °С:

 

 

С

 

 

 

 

 

 

 

 

 

 

 

 

 

 

 

 

 

 

 

 

 

 

 

 

 

 

минимальная

 

 

 

–40

 

–40

–40

 

–40

–40

–40

–40

максимальная

 

 

 

+70

+70

 

+70

 

+70

+70

+70

+70

Масса, кг, не более

 

 

 

85

105

 

150

 

220

320

560

760

109

Таблица 3.5

Основные характеристики гидромоторов планетарных типа МГП

Наименование параметра

 

МГП 80

 

МГП 100

МГП 125

 

МГП 160

МГП 200

МГП 315

Рабочий объем, см3

 

 

 

80,5

 

100,0

125,7

 

159,7

200,0

314,9

Частота вращения, с-1:

 

 

 

 

 

 

 

 

 

 

 

номинальная

 

 

 

5,75

 

4,60

3,67

 

2,87

2,34

1,48

максимальная

 

 

 

13,5

 

10,8

8,67

 

6,67

5,41

3,50

минимальная

 

 

 

0,17

 

0,17

0,17

 

0,17

0,17

0,17

Максимальное давление на выходе при

 

 

 

И

1

 

 

закрытом дренажном отверстии, МПа

 

 

 

 

 

 

Давление на входе, МПа:

 

 

 

 

 

 

 

 

 

 

 

номинальное

 

 

 

 

Д

 

16

 

 

максимальное

 

 

 

 

 

21

 

 

Перепад давлений, МПа:

 

 

 

 

 

 

 

 

 

 

 

номинальный

 

 

 

14

 

14

14

 

14

11

7

максимальный

 

 

 

21,0А21,0

21,0

 

21,0

16,5

11,0

Максимальное давление дренажа, МПа

 

б

 

 

 

1

 

 

Коэффициент полезного действия, не менее

 

 

 

0,85

 

 

гидромеханический

 

и

 

 

 

 

 

полный

 

 

 

 

0,78

 

 

Номинальная полезная мощность, кВт, не менее

 

6,0

 

6,0

6,0

 

6,0

4,5

3,0

Крутящий момент, Н м, не менее:

С

 

 

 

 

 

 

 

 

 

номинальный

 

151

 

189

237

 

303

300

300

страгивания

 

120

 

145

170

 

230

230

230

 

 

 

 

 

Рабочая жидкость

 

 

 

 

 

Любые минеральные масла с кинематической

 

 

 

 

 

вязкостью 20… 800 сСт при температуре (243…363) К

Масса, кг, не более

 

 

 

9,8

 

10,0

10,3

 

10,7

11,1

12,3

110