Материал: 2461

Внимание! Если размещение файла нарушает Ваши авторские права, то обязательно сообщите нам

3.1.4. Гидромоторы планетарные МГП

Гидромоторы МГП предназначены для привода активных рабочих органов, транспортеров сельскохозяйственных и других машин.

На рис. 3.5 показаны габаритные размеры гидромоторов планетарных типа МГП. Общий вид гидромотора планетарного МГП80 представлен на рис. 3.6. На рис. 3.7 изображена конструкция гидромоторов планетарных типа МГП.

 

 

И

 

Д

А

 

б

 

 

Рис. 3.5. ГидромоторСипланетарный типа МГП (габаритные размеры)

Рис. 3.6. Общий вид гидромотора планетарного МГП80

101

 

 

 

И

 

 

Д

 

А

 

б

 

 

и

 

 

 

СРис. 3.7. Гидромотор планетарный типа МГП

3.1.5. Гидромоторы планетарно-роторные ГПР-Ф

Гидромоторы типа ГПР-Ф являются реверсивными гидромашинами планетарного типа многократного действия, имеют торцевое распределение рабочей жидкости и бескарданную кинематическую схему передачи крутящего момента на выходной вал.

102

 

 

 

И

 

Д

 

А

 

Рис. 3.8. Общий вид гидромотора планетарно-роторного типа ГПР-Ф

и

 

 

 

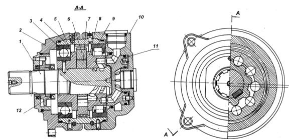
Гидромотор (р с. 3.9) состоит из следующих основных

С

 

 

 

элементов: корпуса 4 с насаженнымиб

с двух сторон крышками 2, 10,

вала 1, шестерни 7, ротора 6, щеки 5, золотника 11, распределителя 8, уплотнения 12.

В корпусе 4 гидромотора на радиально-упорном шарикоподшипнике 3 и роликовом радиальном подшипнике 9 установлен вал 1 с насаженной на него шестерней 7. В корпусе 4 нарезаны зубья эвольвентного зацепления.

Установленный эксцентрично ротор 6 имеет два зубчатых венца

– наружный и внутренний. Наружный венец ротора 6 с зубьями корпуса 4 гидромотора образует пару с внутренним зацеплением. Внутренний венец ротора 6 входит в зацепление с шестерней 7, имеющей круговой профиль зуба. Эта пара образует рабочие камеры гидромотора. С торцов камеры ограничиваются распределителем 8 и щекой 5, насаженными на вал 1 гидромотора.

103

 

 

 

 

И

 

Рис. 3.9. Гидромотор планетарно-роторный ГПР-Ф:

 

1 – вал; 2, 10 – крышки;

3, 9 – подшипники; 4 – корпус; 5 – щека; 6 – ротор;

7 – шестерня; 8 – распределитель; 11 – золотник; 12 – уплотнение

 

Ротор 6 гидромотора совершает сложноплоское движение,

 

 

 

А

 

7 и

одновременно обкатываясь по зубчатому венцу шестерни

зубчатому венцу неподвижного корпуса 4.

 

 

За один оборот вала 1 ротор 6 совершаетДшесть обкатываний по

зубчатому венцу корпуса 4.

 

 

 

Таким образом, планетарно-роторный гидромотор совмещает

функции объемной г дромаш ны и редуктора.

 

С

 

 

 

 

В крышке 10

установленбзолотник 11, который за счет давления

масла во внутренней полости прижимается к рабочей поверхности

распределителя 8.

иВ распределителе 8 выполнены подводящие

каналы, количество которых равно количеству обкатываний ротора 6

по зубчатому венцу 4.

 

 

 

 

В золотнике

11

имеются каналы, которые (через

один)

сообщаются с полостями гидромотора. При подаче рабочей жидкости в одну из полостей жидкость через часть каналов золотника 11 поступает в одну половину рабочих камер.

Под действием давления жидкости в этих камерах ротор 6 обкатывается по венцу корпуса 4 гидромотора, передавая вращение на выходной вал 1. Отработанная жидкость из второй половины рабочих камер через вторую часть каналов золотника 11 вытесняется в другую полость.

104

Направление и скорость вращения вала 1 гидромотора определяются направлением потока и количеством рабочей жидкости, подводимой к гидромотору.

Направление вращения вала 1 определяется при взгляде на гидромотор со стороны вала 1.

Гидромоторы ГПР-Ф-160, ГПР-Ф-200, ГПР-Ф-250, ГПР-Ф-320 отличаются один от другого только шириной деталей рабочего органа.

Гидромоторы ГПР-Ф-400, ГПР-Ф-500, ГПР-Ф-630 различаются наличием двух унифицированных с ГПР-Ф-200, ГПР-Ф-250, ГПР-Ф-320 рабочих органов, что дает удвоение рабочих объемов.

3.1.6. Гидромоторы планетарные ПМТ и ПМТТ

Предназначены для привода активныхИрабочих органов, транспортеров, ходовых колес, сельскохозяйственныхД и других машин при эксплуатации в районах с умеренным климатом.

Гидромоторы ПМТ и ПМТТ (рис. 3.10) по своей конструкции относятся к планетарным шестереннымА гидромашинам и имеют бескарданную схему передачи крутящего момента на выходной вал.

На шлицах вала 1 гидромоторовб установлен ротор 13 с зубьями эпитрохоидного профиля, расположенный внутри сателлита 14, имеющего два зубчатыхивенца: внутренний, образованный вставными роликами 12, и наружный с эвольвентным профилем зубьев.

Все роликиСнаходятся в зацеплении и непрерывном контакте с зубьями ротора, образуя при этом ряд (по числу роликов) изолированных одна от другой рабочих камер.

Своими наружными зубьями сателлит входит в зацепление с внутренним зубчатым венцом статора 15, выполняющего роль корпусной детали. Вал, ротор и статор имеют общую ось, а ось сателлита в любом его положении смещена на величину эксцентриситета, определяемого параметрами зубчатого венца ротора и являющегося межцентровым расстоянием в зацеплениях роторсателлит и сателлит-статор.

105