Материал: 2461

Внимание! Если размещение файла нарушает Ваши авторские права, то обязательно сообщите нам

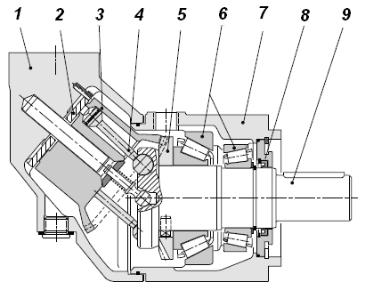
На рис. 2.42 показан поперечный разрез насоса серии F12.

 

И

Рис. 2.42. Поперечный разрез насоса F12 /35/:

1– корпус гильзы; 2

Д

– пластина клапана; 3 – гильза цилиндра;

4 – поршень с поршневым кольцом; 5 – распределительная шестерня; 6 – конический роликовый подшипник; 7 – корпус подшипника; 8 – уплотнение вала; 9 – выходнойА/входной вал; 10 – поршень

с многослойными поршневыми кольцами

сов 0.94 до 0.98. Благодаряивысокому общему КПД для насосов серий F11 и F12 требуется меньше топлива и электроэнергии.

Объемный коэффициентбполезного действия данных серий насо-

Далее рассмотрСм регул руемые аксиально-поршневые гидронасосы фирмы Parker ( ША).

Регулируемые аксиально-поршневые насосы предназначены для работы в открытых контурах.

Рассмотрим аксиально-поршневой гидронасос серии Р1. Основными характеристиками данных насосов являются: cреднее давление, непрерывная работа при давлениях 28 МПа, высокая частота вращения. Данные насосы могут быть использованы в автомобильной промышленности /35/.

Преимуществами насосов серии Р1 являются: компактность, тихая работа, низкие пульсации расхода, низкий уровень утечек, высокая эффективность, низкое потребление мощности, пониженное тепловыделение, простое гидравлическое управление, простое обслуживание.

Объемный КПД данной серии насосов составляет 0,98.

71

На рис. 2.43 показан общий вид регулируемого аксиальнопоршневого гидронасоса серии Р1. На рис. 2.44 показан поперечный разрез насоса серии Р1.

В табл. 2.33 приведены основные параметры насосов серии Р1.

 

 

 

 

И

 

 

 

Д

 

 

А

 

 

б

 

 

Рис. 2.43. Насос серии Р1 /35/

и

 

 

 

С

 

 

 

 

Рис. 2.44. Поперечный разрез насоса серии Р1 /35/

72

Таблица 2.33

Технические данные насоса серия Р1 /35/

Модель

 

Р1060

Р1075

Р1100

Р1140

Максимальный рабочий объем, см3/об

 

60

 

75

 

100

140

Давление нагнетания постоянное, МПа

 

 

 

 

28

 

Кратковременная работа, МПа

 

 

 

 

32

 

Пиковое, МПа

 

 

 

 

35

 

Максимальная частота вращения-всасывание с

2800

 

2700

 

2500

2400

усилием, об/мин

 

 

 

 

 

 

 

Минимальная частота вращения, об/мин

 

 

 

600

 

Давление всасывания максимальное, МПа

 

 

 

 

1

 

Диапазон температуры жидкости, °С

 

 

От -40 до +95

 

Вязкость жидкости – номинальная, сСт

 

 

 

От 6 до 160

 

 

 

И

 

 

 

 

макс. при периодической работе, сСт

 

5000 для холодного запуска

Загрязнение жидкости номинальное, ISO

 

 

 

20/18/14

 

Масса, кг

 

29

 

30

 

51

66

 

Д

 

 

 

 

 

 

Общий КПД насосов серии Р1 зависит от давления нагнетания и

от частоты оборотов вала. На рис. 2.45, 2.46, 2.47, 2.48 показаны зави-

 

 

А

симости общего КПД от давления нагнетания для насосов серии Р1,

имеющих разные рабочие объемы.

 

б

и

 

С

 

 

Рис. 2.45. Зависимость общего КПД насосов серии Р1-60 от давления нагнетания /35/

73

 

 

 

 

И

 

 

 

Д

 

 

А

 

Рис. 2.46. Зависимость общего КПД насосов серии Р1-75

от давления нагнетания /35/

 

б

 

 

и

 

 

 

С

 

 

 

 

Рис. 2.47. Зависимость общего КПД насосов серии Р1-100 от давления нагнетания /35/

74

 

 

И

 

Д

Рис. 2.48. Зависимость общего КПД насосов серии Р1-140

А

 

от давления нагнетания /35/

б

 

 

Гидравлические аксиально-поршневые насосы серии VР1 предназначены для грузовых автомо илей и мобильных машин. Они мо-

 

и

гут быть установлены ез муфт на валу отбора мощности коробки пе-

редач или независ мом валу от ора мощности /35/.

На рис. 2.49 показан общ й вид насоса серии VР1 фирмы Parker

(США).

С

 

Рис. 2.49. Насос серии VP1 /35/

75