Материал: 2432

Внимание! Если размещение файла нарушает Ваши авторские права, то обязательно сообщите нам

Вариант 4

Си б АВариант 5

Д И

91

Вариант 6

Си б

АВариант 7 Д И

92

Вариант 8

Си б

АВариант 9

Д И

93

Вариант 10

Си б

4. Теоретические положенияА

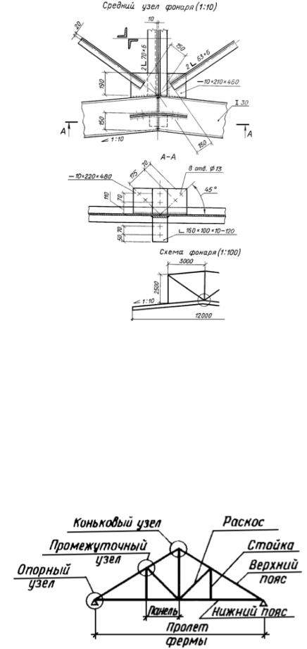
При возведении перекрытийДпромышленных зданий применяют металлические фермы. Ферма – решётчатая конструкция, состоящая из отдельных прямолинейных стержней. Ферма состоит из поясов и решётки. Верхний и нижний элементы фермы называют, соответственно, верхнимИи нижним поясами (рис. 1). Стержни, заключённые между поясами, называют решёткой фермы, которая состоит из вертикальных элементов–стоек и наклонных элементов–раскосов.

Рис. 1 Геометрическая схема фермы

94

Стойки и раскосы связываются между собой и с верхним и нижним поясами с помощью металлического листа – фасонки. Фермы, перекрывающие

поперечный пролёт здания и опирающиеся непосредственно на несущие элементы (колонны, стены), называются стропильными.

Рассмотрим состав и последовательность графического построения чертежа узла стропильной фермы.

На конструктивных чертежах, в том числе и на чертежах ферм, вычерчивают геометрическую схему фермы – это чертёж конструкции, выполненный в одну линию. хему вычерч вают линиями толщиной 0,60,8 мм, в масштабе 1:200 и

мельче. Над схемой п шут «Геометрическая схема фермы» с указанием масштаба.

С

 

Чертёж узла фермы выполняют в следующей последовательности:

1.

тонк ми линиями вычерчивают геометрические оси элементов

узла в выбранном

ли указанном

. При вычерчивании геометрических осей

плошными

 

элементов узла нужно помнить, что осевые линии стержней, сходящихся в узле,

пересекаются в одной точке.

 

2. Вдольмасштабесетки геометрических осей в соответствии с размерами уголков или других профилей проката тонкими линиями вычерчивают контуры стержней узла

фермы. При этом линии геометрических осей должны совпадать с осями,

проходящими через

центры тяжести уголков или других профилей проката из

 

А

которых выполнен узел на сварке (см. Приложение 3). В клёпаных конструкциях

геометрические оси должны совпадать с линиями, на которых расположены центры

поясе уголки должны быть обращены полками вверхИ, а в нижнем поясе –полками вниз. В раскосах уголки располагают полками вверх, в опорных стойках – полками наружу. При конструировании узлов фермы необходимо помнить, что стойки и раскосы не доводят до контура верхнего и нижнего поясов на 40-50 мм. Это расстояние обеспечивает место для размещения сварных швов. Для удобства построения на расстоянии 40-50 мм. от контура верхнего или нижнего пояса проводим тонкую линию, параллельную этому контуру. Эта линия ограничивает длину уголков стоек и раскосов.

заклёпок.

Д

 

При вычерчивании контуров элементов следует иметь в виду, что в верхнем

95