Материал: 2410

Внимание! Если размещение файла нарушает Ваши авторские права, то обязательно сообщите нам

форсунок можно обеспечить равную подачу топлива всеми секциями на одном скоростном режиме путем изменения активного хода плунжеров насоса. Но на других режимах подача топлива отдельными форсунками будет различной, что приведет к повышенному расходу топлива и образованию дыма (сажи) в отработавших газах.

На установке (см. рис. 1.22) возможно также определить µF распылителя при различных подъемах иглы. Это необходимо для выполнения расчета топливной аппаратуры. Изменение эффективного (эквивалентного) проходного сечения в распылителе форсунки в за-

висимости от подъема иглы µF = f (Х)

называют характеристикой

распылителя.

 

 

 

 

На рис. 1.23 приведена зависимость эффективного сечения

распылителя µF от подъема (хода) иглы

Х [2]. Максимальный ход

 

 

 

 

И

иглы у новых распылителей автотракторных дизелей лежит в преде-

лах 0,15 – 0,35 мм.

 

 

Д

 

 

 

 

 

А

 

 

б

 

 

и

 

 

 

С

 

 

 

 

Рис. 1.23. Зависимость эффективного сечения распылителя µF от подъема (хода) иглы Х

Из анализа рис. 1.23 следует, что при подъеме иглы более чем на 0,25 мм значение µF остается неизменным. Значит, максимальный ход иглы должен быть равен 0,25 – 0,30 мм. При ходе иглы более 0,30 мм увеличиваются силы инерции и ударные нагрузки в зоне упора иглы и в зоне поса дочного конуса. Это приводит к деформации

41

опорной поверхности корпуса форсунки или «проставки» и посадочного конуса корпуса распылителя. При деформации конуса нарушается герметичность распылителя, приводящая к повышенному расходу топлива, увеличению токсичности отработавших газов и образованию кокса в сопловых отверстиях.

1.8. Конструкции насосов-форсунок для впрыска топлива

1.8.1. Насос-форсунка с механическим управлением

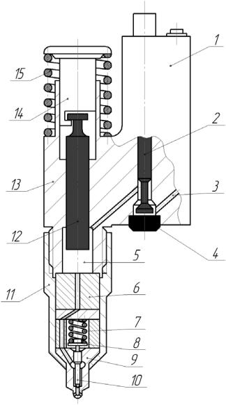
Для повышения давления впрыскиваемого топлива (до 100 МПа и более) применяют насосы-форсунки, в которых насос высокого давления и форсунка объединены в один агрегат (рис. 1.24). Между насосом и форсункой нет трубопровода, что позволяет повысить жесткость системы и создать высокое давление впрыска топлива.

 

 

 

Д

 

 

 

 

Рис. 1.24. Насос-форсунка

 

 

 

с механическимИ

управлением:

 

б

1

– сопловый наконечник;

 

2

– вытеснитель с направляющи-

 

 

 

 

 

 

ми каналами;

 

и

 

3

– пружина; 4 – клапан обрат-

Аный;

 

С

 

 

5

– проставка для пластинчатого

 

 

клапана;

 

 

 

 

 

 

 

 

6 – пластинчатый обратный кла-

 

 

 

пан;

 

 

 

 

7

– втулка; 8 – отсечное окно;

 

 

 

9

– втулка плунжера;

 

 

 

10

– плунжер;

 

 

 

 

11

– зубчатая рейка для поворота

 

 

 

плунжера;

 

 

 

 

12

– корпус; 13 – пружина;

 

 

 

14

– толкатель; 15 – штуцер;

 

 

 

16

– фильтр; 17 – канал для под-

 

 

 

вода топлива;

 

 

 

 

18

– кожух;

 

 

 

 

19

– впускное окно; 20 – стакан

42

При движении плунжера 10 вниз, под действием кулачка вала, и закрытии впускного окна 19 топливо под плунжером сжимается [35]. При открытом отсечном окне 8 сжатое топливо перетекает из пространства над плунжером через вертикальное и радиальное отверстия в линию низкого давления, не повышая давление. При закрытии косой кромкой плунжера отсечного отверстия 8 давление топлива повышается. При давлении более 15 МПа клапан 4 открывается, сжимая пружину 3, и топливо через отверстия соплового наконечника 1 в распыленном виде подается в камеру сгорания. Количество топлива изменяется движением рейки 11 и поворотом косой кромки плунжера относительно отверстия 8.

Пластинчатый обратный клапан 6 предотвращает заброс газов

из цилиндра при посадке иглы. Это происходит в момент превышения

давления газов над давлением топлива.

И

 

Недостатком данной конструкции насоса-форсунки является

Д

большой объем соплового наконечника, что приводит к вытеканию топлива из распылителя и повышенному расходу топлива.

Главным недостатком насосов-форсунок с механическим управлением является неспособность управлять характеристикой впрыска

топлива на конкретных режимах работы и изменять угол опережения

впрыска.

 

б

 

 

В последних конструкциях насосов-форсунок вместо соплового

 

 

и

наконечника с обратным клапаномАиспользуют распылитель закрыто-

го типа.

 

С

 

 

 

 

 

1.8.2. Насос-форсунка с электромагнитным управлением

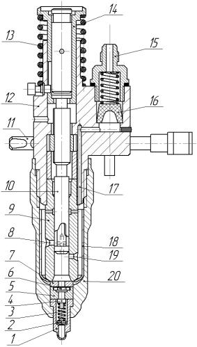
На рис. 1.25 приведен разрез насоса-форсунки, в которой применен электромагнит 1 (соленоид) с дозирующим клапаном 2, при помощи которого регулируется цикловая подача и угол опережения впрыскивания.

Топливо под давлением 0,2 – 0,3 МПа подается к входному отверстию 3. Когда клапан 2 открыт, топливо поступает в камеру нагнетания 5. Под действием кулачкового механизма толкатель 14 воздействует на плунжер 12. Если клапан 2 открыт, то совершается вытеснение топлива из камеры 5 через отверстие 3 в линию низкого давления. При закрытии клапана 2 плунжер 12 сжимает топливо, повышая давление в камере нагнетания 5. Под действием высокого давления игла 10, преодолевая усилие пружины 7, поднимается, открывая путь

43

топлива к сопловым отверстиям. Топливо в распыленном виде поступает в камеру сгорания двигателя. Топливо подается до тех пор, пока не откроется клапан 2. Количество подаваемого топлива и начало впрыска регулируется продолжительностью и началом закрытия клапана 2.

 

 

 

 

И

 

 

 

Д

 

 

А

 

 

б

 

 

и

 

 

 

С

 

 

 

 

Рис. 1.25. Насос-форсунка с механическим приводом и электронным управлением:

1 – электромагнит; 2 – дозирующий клапан; 3 – отверстие для подвода топлива; 4 – заглушка;

5 – камера нагнетания; 6 – «проставка»; 7 – пружина распылителя; 8 – штанга;

9 – корпус распылителя; 10 – игла распылителя; 11 – гайка стяжная; 12 – плунжер; 13 – корпус форсунки; 14 – толкатель; 15 – пружина

44

1.8.3. Насос-форсунка с пьезоэлектрическим управлением

На рис. 1.26 показана насос-форсунка с пьезоэлектрическим управлением хода иглы распылителя [45]. Привод плунжера насоса высокого давления механический (от кулачкового вала). Дозирование топлива происходит с использованием клапана, который управляется при помощи пьезопривода (расчет пьезопривода приведен в гл. 7). За время подачи топлива в камеру сгорания игла распылителя может совершить несколько подъемов и осуществить многофазный впрыск.

 

 

 

И

 

 

Д

 

А

 

б

 

 

и

 

 

 

Рис.С1.26. Насос-форсунка с пьезоэлектрическим управлением

1.8.3.1. Процесс впуска топлива

После окончания впрыска топлива плунжер 4 (рис. 1.27) поднимается вверх. Подъем плунжера происходит под действием его пружины 3 вслед за поворотом кулачка и роликового коромысла насосафорсунки. Кулачок 1 имеет несимметричную форму, которая обеспечивает перемещение плунжера вверх с пониженной скоростью. При этом полость высокого давления 8 под плунжером заполняется топливом, поступающим через открытый пьезоэлектрический клапан (клапан управления) 5 из магистрали его подвода через наполнительное окно 12, расположенного в головке цилиндров.

45