Материал: 2410

Внимание! Если размещение файла нарушает Ваши авторские права, то обязательно сообщите нам

коленчатого вала. Зависимость пути якоря от времени представим в виде уравнения прямой линии. Разобьем пройденный путь якоря при его подъеме на четыре участка.

Шаг расчета одного участка будет равен 0,1 мс. Якорь в начале подъема за время 0,1 мс пройдет путь 0,05 мм. На этом участке максимальная скорость будет равна 0,5 м/с, а ускорение а = 5000 м/с2.

6.3.6. Определим силу инерции от движущихся масс клапанного узла

Fин = М × а = 4 ·10 -3 × 5000 = 20 Н.

(6.10)

Расчеты показывают, что втягивающая сила электромагнита значительно превышает суммарное значение силы инерции от посту-

пательных

масс клапанного узла

и силы сопротивления

пружины

(Fэл > Fин

+ Fпр) . Усилие пружины также больше усилия,

действую-

 

 

И

 

щего на запорный клапан (шарик), со стороны давления топлива в ка-

мере управления и силы инерции

(Fпр > Fш + Fин). Выполнение ука-

ного механизма.

занных условий (баланса сил) обеспечитДработоспособность клапан-

Окончательные конструктивные и регулировочные параметры узла электрогидравлического клапана уточняются в процессе дово-

дочных испытаний форсунок на стенде и работе на двигателе.

Электрическую частьбфорсунки проверяют следующим образом: 6.4.1. разъема форсунки отключают провод питания, идущий

6.4. ДиагностированиеАфорсунок с электрогидравлическим управлениеми хода иглы распылителя

к катушке.

С

6.4.2. При помощи тестера определяют контакт выводов катушки с «массой» форсунки. Сопротивление цепи должно быть равно бесконечности.

6.4.3. При помощи тестера определяют сопротивление катушки индуктивности электромагнитного клапана, оно должно соответствовать 0,3 Ома.

6.4.4. Силу тока в обмотке электромагнитного клапана определяют в процессе работы двигателя. Для этого используют токоизмерительные клещи или осциллограф. Сила тока втягивания якоря к сердечнику должна составлять 19 – 20 А, а удержания не менее 10 А.

116

При плохой герметичности перепускного клапана нарушается характеристика впрыска топлива, что приводит к ухудшению экономичности дизеля.

Из сливного отверстия (жиклёра) 11 (см. рис. 6.6) при его о т- крытии вытекает топливо (для процесса управления) за впрыск объемом, равным

V

уп

= µ F

ϑ

ж

t = µ F

 

2 Р

t ,

(6.11)

 

ж

 

ж

ρТ

 

 

 

 

 

 

 

 

 

где µ Fж – эффективное проходное сечение жиклёра, м2;

ϑж – ско-

рость истечения топлива через жиклёр, м/с;

Р – средняя величина

давления топлива в камере управления, Н/м2;

ρТ – плотность топлива,

кг/м3; t − время впрыска, с.

 

 

 

 

 

 

 

При среднем давлении топлива в камере управления форсунки

Р = 100·106 Н/м2; ρТ = 850 кг/м3; µ F = 0,5·10 -7 м2 (диаметр жиклё-

 

 

 

 

 

ж

 

 

 

 

ра 0,3 мм, коэффициент расхода

μ= 0,7 ) и времени впрыска топлива

0,0021 с (см. формулу 6.9)

 

 

 

И

 

объем сливаемого топлива из камеры

управления составит 45 600 мм , или Д45,6 см .

управления за время впрыска составит 48·10 -9

м3, или

48 мм3. За

А

 

впрысков

1 мин форсунка дизеля КамАЗ-740-73-400 совершает 950

топлива в камеру сгорания, и объем сливаемого топлива из камеры

3 3

Допустимое диагностическое значение сливаемого топлива вместе с утечками через зазоры в распылителе и управляющем поршне не

должны превышать 150 см3 за 1 мин для одной форсунки [ 26]. При

 

С

исправном состоян

форсунокбвеличина утечек топлива из штуцера

19 (см. рис. 6.6) у всех форсунок должна быть одинаковой (например,

100 ± 5 см3).

 

и

На рис. 6.15 показана установка для контроля величины объема сливаемого топлива из штуцера форсунок с электрогидравлическим управлением. Если сливаемое топливо вместе с утечками превысит 150 см3, то вначале проверяют герметичность клапана управления, а при необходимости притирают его или заменяют. Комплект форсунок подбирается с одинаковыми гидравлическими и электрическими характеристиками. Каждая форсунка имеет собственный индивидуальный код, определяющий такие характеристики, как расход топлива, время реакции, зависимость рабочих параметров от давления. Коды предназначены для точного управления впрыском топлива в каждый из цилиндров. Замена, настройка форсунок выполняются с использованием специального тестового оборудования. Выбраковка одной

117

форсунки обычно требует замены или регулировки всего комплекта форсунок.

 

 

 

Д

 

Рис. 6.15. Контроль сливаемого топливаИиз форсунок

 

с электрогидравлическим управлением

 

Контрольные вопросы и задания

1.

Для какой цели пр меняютАуправляемый процесс подачи топлива?

2.

Объясните пр нц п ра оты форсунки с электромагнитным управлени-

ем.

С

б

 

3.

Устройство пр нц п действия системы питания, оборудованной

форсунками с электромагнитнымиуправлением хода иглы.

4. Что называют цикловой подачей топлива и как она определяется? 5. Как зависит цикловая подача топлива от давления в аккумуляторе и продолжительности впрыска?

6. Для какой цели используют двухфазные и многофазные характеристики впрыска топлива?

7. С какой целью применяют запальную порцию топлива?

8. От каких факторов зависит цикловая подача топлива при использовании форсунок с электромагнитным управлением?

9.В какой последовательности выполняют расчет форсунки с электрогидравлическим управлением хода иглы?

10.Какова последовательность расчета электрогидравлического клапана управления ходом иглы форсунки?

11.Как выполняется диагностирование форсунок с электрогидравлическим управлением хода иглы распылителя?

118

7. СИСТЕМА ПОДАЧИ ТОПЛИВА

СПЬЕЗОЭЛЕКТРИЧЕСКИМ УПРАВЛЕНИЕМ ХОДА ИГЛЫ РАСПЫЛИТЕЛЯ

7.1.Устройство и принцип работы форсунки с пьезоэлектрическим управлением

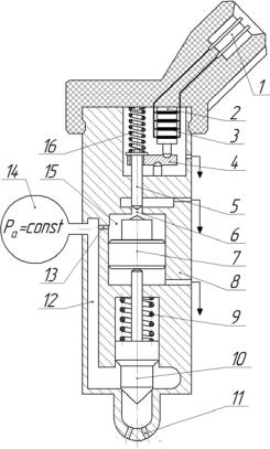
На рис. 7.1 приведен упрощенный вариант форсунки с пьезоэлектрическим управлением хода иглы [22]. Принцип действия форсунки с пьезоэлектрическим управлением подобен работе форсунки с электрогидравлическим управлением. Только вместо электромагнита используются пьезоэлементы 2, которые разделены электродами 3.

 

Рис. 7.1. Форсунка

 

 

И

с пьезоэлектрическим управлением:

1

– разъём; 2 – пьезоэлемент;

 

3

– электрод; 4 – рычаг;

 

5

– шток с запорным конусом;

 

 

Д

6

– сливное отверстие;

 

 

7

– поршень управления;

А

8

– корпус форсунки;

 

9

– пружина;

 

10

– игла распылителя;

 

 

б

 

11 – сопловые отверст

я;

 

12

– подводящий канал к рас-

 

управления; 16 Спружина

пылителю;

13

– канал (жиклёр) подводаи

топлива в камеру управления;

14

– аккумулятор; 15 – камера

При помощи рычага 4 (см. рис. 7.1) перемещение пьезопривода передается на шток 5 с запорным конусом (клапан управления). Сливное отверстие 6 открывается, давление в камере управления 15 снижается, игла 10 перемещается вверх под действием высокого давления в аккумуляторе 14, открывая сопловые отверстия 11. Начинается процесс подачи топлива. Конструкция и расположение клапана

119

управления может быть различной, но функция одна – изменять величину давления в камере управления.

В пьезоэлектрическом преобразователе активными элементами являются пластины, изготовленные из природного кварца. Возможно применение пьезокерамического материала, например ЦТБС-8 (цирконат ZrO2, титанат бария BaTiO3, окись свинца PbO).

Пьезо – слово греческое и означает «давлю». Известной областью применения пьезоэлементов являются датчики давления. При действии давления на пьезоэлемент на его обкладках возникает разность потенциалов, которую можно измерить. Это явление называется пьезоэлектрическим эффектом.

Прямой пьезоэффект используют в технике для преобразования

механических напряжений или деформаций в электрические сигналы

(датчики давления, звукосниматели).

И

 

Принцип действия пьезопривода основан на обратном пьезо-

 

Д

электрическом эффекте. Обратный пьезоэффект заключается в том, что внешнее электрическое поле вызывает механическое напряже-

ние внутри материала, которое приводит к изменению формы кри-

ческие вещества (кварц)били искусственныеА (пьезокерамика – цирконат, титанат бария, окись свинца).

сталлической решётки и росту (приращению) геометрических разме-

ров. Указанными свойствами обладают естественные монокристалли-

На рис. 7.2 показаниупрощенный вариант кристаллической решётки пьезоэлемента при отсутствии напряжения (исходное положение) и при подачеСнапряжен я, когда изменение формы кристаллической решётки привело к росту (приращению) геометрических размеров.

При отсутствии напряжения

При подаче напряжения

Рис.7.2. Изменение формы кристаллической решётки

120