Материал: 2410

Внимание! Если размещение файла нарушает Ваши авторские права, то обязательно сообщите нам

Из анализа рис. 6.9 следует, что требуемое количество топлива за цикл можно подать в камеру сгорания при различных давлениях в аккумуляторе и длительностью сигнала на катушке управления (продолжительность впрыска). Управлять интенсивностью и формой характеристики впрыска можно величиной давления в аккумуляторе, длительностью и паузами сигнала, поданного на катушку форсунки с электрогидравлическим управлением движения иглы распылителя. На рис. 6.9 по оси абсцисс номерами 1, 2, 3 показаны время первой фазы впрыска (0,25 мс) при давлении в аккумуляторе 100 МПа, время паузы 2 (0,25 мс) и время второй (основной) фазы впрыска 3 продолжительностью 0,5 мс.

При эффективном проходном сечении распылителя, равном

µ F = 0,15 мм2 и частоте циклов впрыска топлива nц = 2000 мин-1

для

 

И

при

одного впрыска топлива продолжительностью 120 (0,001 с)

РАК

=100 МПа теоретическая цикловая подача составит 70 мм3

(см.

рис.

Д

 

6.9). При двухфазном впрыске (пауза на участке 2) запальная

порция (участок 1) составит 18 мм3, а основная (участок 3) 35 мм 3. Общая подача топлива за цикл составит 53 мм3.

На рис. 6.10 показана дифференциальная характеристика (однофазная) подачи топлива аккумуляторной системой с электромагнит-

ным управлением иглы форсунки.

 

 

А

 

б

и

 

С

 

 

Рис. 6.10. Дифференциальная характеристика основной подачи топлива

111

Площадь под кривой в определенном масштабе представляет собой действительную подачу топлива за цикл (впрыск). Для продолжительности впрыска 0,001 с и средней скорости впрыскивания dV/dt, равной 47∙103 мм3/с, количество поданного топлива за цикл составит 47 мм3.

На рис. 6.11 приведена характеристика с запальной и основной подачей топлива (двухфазная характеристика).

 

 

И

 

Д

 

А

 

Рис. 6.11. Дифференциальная характеристика дополнительной

и

 

 

(запальной) и основной подачи топлива

С

 

 

6.3. Расчет электрогбдравлического клапана управления

ходом иглы форсунки

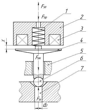
На рис. 6.12 показана схема клапанного узла (механизма управления) форсунки и силы, действующие на его детали.

Исходные данные для расчета:

давление в камере управления, Р = 150 МПа (150· 106 Н/м2);

диаметр перепускного отверстия (жиклёра), d2 = 0, 3 мм;

жесткость пружины, закрывающей клапан (шарик), C = 40 Н/мм;

число витков катушки электромагнита , n = 17;

наружный диаметр сердечника, dс =10 мм;

величина тока втягивания якоря электромагнита, І = 20 А;

масса якоря 3,7 г, пружины 0,7 г, шарика 0,1 г;

зазор между якорем и сердечником, х = 0,2 мм.

112

 

Рис. 6.12. Общий вид

 

1

клапанного узла:

 

– пружина;

 

2

– сердечник электромагнита;

 

3

– катушка;

И

4

– якорь;

5

– направляющая;

6

– шарик;

7

– перепускное отверстие

 

 

Д

 

А

Расчет клапана с гидравлическим и электромагнитным управле-

б

 

нием выполним в следующей последовательности:

6.3.1. Определим площадь перепускного (сливного) отверстия

и

 

 

Sп = π × d2 2 / 4 = 3,14× 0,32 /4 = 0,07 мм2, или 0,7· 10-7 м2. (6.4)

Шарик расположен на конической поверхности и прикасается с ней по окружности д аметром 0,5 мм. Площадь шарика, на которую действует топливо, будет равна 0,2· 10-6 м2.

6.3.2. Вычислим силу, действующую на запорный клапан (ша-

рик), от давления топлива в камере управления

 

 

Fш = Sп × P = 0,2· 10-6 × 150· 106 = 30 Н.

(6.5)

6.3.3. ОпределимСсилу со стороны пружины, при ее предвари-

тельном сжатии l на величину 1,5 мм

 

 

Fпр = C × l = 40 × 1,5 = 60 Н.

 

(6.6)

Из анализа формул (6.6) и (6.5) следует, что

усилие на пружине

Fпр больше усилия, которое действует на шарик

Fш со стороны топ-

лива и клапан будет закрыт, пока электромагнит не притянет якорь 4 и не сожмет пружину 1. Усилие электромагнита должно быть на 30 – 50% больше усилия со стороны сжатой пружины.

113

6.3.4. Втягивающую силу электромагнита без учета сил трения, магнитного сопротивления сердечника и якоря определим из выражения [27]

где μо

Fэл = μо × Sя × (І × n)2 / 2х2,

(6.7)

– магнитная

постоянная (абсолютная магнитная проницае-

мость),

Гн/м; Sя – площадь сердечника с учетом отверстия для уста-

новки пружины, м2;

І – величина тока, А; n – число витков катушки;

х – зазор между якорем и сердечником, м (при зазоре 0,2 мм величи-

на х = 0,2 10 -3 м).

Fэл = 4 π ·10 -7 × 0,7 ·10- 4 × (20 ·17)2 / 2 (0,2 ·10 -3 )2 = 127 Н. (6.8)

На рис. 6.13 приведена зависимость втягивающей силы электромагнита от числа витков катушки. Расчетные значения силы

электромагнита получены при изменении числа витков катушки от

 

 

 

 

И

0 до 30, при величине тока 20 А, зазоре между якорем и сердечником

0,2 мм, диаметре медного провода 0,5 мм.

 

 

 

 

Д

 

 

А

 

 

б

 

 

и

 

 

 

С

 

 

 

 

Рис. 6.13. Зависимость втягивающей силы электромагнита от числа витков катушки

Максимальная величина тока втягивания якоря электромагнита в цепи катушки достигает 19 – 20 А (начальная стадия процесса впрыска) [26]. Большое значение подводимого тока становится возможным благодаря разрядке конденсатора, который заряжается за период между впрысками до напряжения 70 В. В дальнейшем якорь

114

электромагнита удерживается меньшей силой тока от 10 до 12 А в связи с тем, что величина воздушного зазора уменьшилась.

На рис. 6.14 показан разрез электромагнита, у которого катушка выполнена из медного провода диаметром 0,5 мм с числом витков 28.

 

 

 

 

И

 

 

 

Д

 

 

А

 

 

б

 

 

и

 

 

 

Р с. 6.14. Разрез катушки электромагнита

С

 

 

 

-1

Общая масса подв жных деталей клапанного узла (с учетом

30% массы пружины) равна

М = 4 г. Ход якоря принимаем 0,2 мм.

Предположим, что форсунки данного типа установлены на двигатель КамАЗ-740-73-400 эффективной мощностью 294 кВт при частоте вращения коленчатого вала nк = 1900 мин . Общая продолжительность впрыска топлива равна φ = 240 поворота коленчатого вала.

6.3.5. Время впрыска t (с) зависит от продолжительности ϕ (град) и от частоты вращения коленчатого вала в минуту nк.

t =

ϕ

=

24

=0,0021с.

(6.9)

 

6 1900

 

6 nк

 

 

В работе [26] указано, что шток якоря 13 (см. рис. 6.6) доходит до упора сердечника 18 за время, равное 0,4· 10 -3 с. Расчеты показывают (формула 6.9), что подъем якоря происходит за 4,60 поворота

115