Материал: 2302

Внимание! Если размещение файла нарушает Ваши авторские права, то обязательно сообщите нам

Подавляющее большинство высоконапорных одно- и многоступенчатых вентиляторов выполняются по схемам: ВНА + РК + СА. Во избежание появления сильного шума и повышенных напряжений в осевых вентиляторах ограничиваются окружными скоростями концов рабочих лопаток до 120 м/с.

Рис. 15. Конструктивные схемы вентиляторов Ц3-04 (размеры в % от D): а – вентилятор с установкой электродвигателя за рабочим колесом; б – то же перед рабочим колесом; в – варианты рабочих колес

20

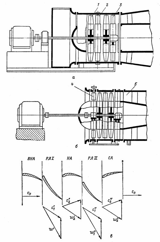
Рис. 16. Схемы осевых вентиляторов: а – двухступенчатый со спрямляющим аппаратом; б – двухступенчатый с входным направляющим аппаратом; в – профили и треугольники скоростей осевого вентилятора по схеме б; 1 – рабочее колесо; 2 – направляющий аппарат; 3 – спрямляющий аппарат; 4 – входной поворотный направляющий аппарат; 5 – диффузор

21

1.3. Сравнение радиальных и осевых вентиляторов

Радиальные вентиляторы по сравнению с осевыми развивают большие давления. Поэтому их целесообразно применять в системах вентиляции со сложной разветвленной сетью воздуховодов, в системах пневматической транспортировки материалов, в котельных установках в качестве тягодутьевых устройств и в системах кондиционирования воздуха.

Однако радиальные вентиляторы более громоздки, занимают больше места и дороже осевых вентиляторов.

Преимущества осевых вентиляторов – простота конструкции, компактность и экономичность – делают рациональным их применение при относительно больших объемах подаваемого воздуха и небольших давлениях – до 200 300 Па, поэтому чаще всего они применяются в вытяжных системах вентиляции.

Работа осевых вентиляторов сопровождается большим шумом, и это следует учитывать. При применении их в жилых и общественных помещениях необходимо, чтобы окружные скорости колеса не превышали 25 м/с. При таких окружных скоростях развиваемое осевым вентилятором давление будет не более 100 150 Па.

1.4. Звуко- и шумоизоляция

Работа вентиляторов сопровождается большим или меньшим шумом. Интенсивность шума вентиляторов обуславливается их типом, режимом работы, качеством изготовления и монтажа.

Осевые вентиляторы создают больший шум, чем центробежные; это объясняется тем, что их коэффициент давления значительно меньше и поэтому для создания давления требуется большая окружная скорость.

Радиальные вентиляторы с лопастями, загнутыми вперед, создают больший шум, чем с лопастями, загнутыми назад (при равной окружной скорости), так как у них большие скорости выхода воздуха с лопастей и в кожухе.

Окружные скорости рабочих колес из соображений относительно бесшумной работы не должны превышать 25–30 м/с для радиальных и 30–35 м/с для осевых вентиляторов, устанавливаемых в гражданских зданиях. В промышленных зданиях в зависимости от

22

громкости технологического шума окружные скорости рабочих колес вентиляторов могут достигать 35–50 м/с.

Шум механического происхождения вызывается передачей, плохой балансировкой вентилятора, работой подшипников и низким качеством монтажа. Снижению механического шума способствует установка вентилятора на одном валу с электродвигателем. Вентиляторы массивной конструкции создают меньшие шумы. Для уменьшения шума все вентиляторы устанавливаются на специальном виброизолирующем основании, расположенном на резиновых или пружинных амортизаторах. С этой же целью вентиляторы присоединяются к системе воздуховодов при помощи гибких вставок из прорезиненной ткани.

Величину шума вентилятора в децибелах (дБ) при разных режимах работы удобно определять при помощи акустических характеристик, обычно совмещаемых с аэродинамическими характеристиками.

1.5.Крышные вентиляторы

Впоследнее время нашли применение для вентиляции промышленных зданий вентиляторы, расположенные непосредственно на кровле (рис. 17). Такие вентиляторы получили название крышных. Они предназначены для вытяжной вентиляции. Колеса крышных вентиляторов (радиальных и осевых), вращающихся в горизонтальной плоскости, приводятся в действие от электродвигателя, установленного на одном валу или при помощи ременной передачи.

Крышные вентиляторы имеют выступающие над кровлей кожухи (колпаки), служащие защитой от атмосферных осадков и преобразующие часть динамического давления в статическое. Эти вентиляторы имеют ряд существенных преимуществ перед другими типами: отпадает необходимость в сетях воздуховодов, уменьшается потребляемая мощность, помещение не загромождается вентиляторными установками. В качестве рабочего колеса в радиальных крышных вентиляторах устанавливают колесо типа Ц4-70, в осевых – Ц3-04.

Радиальные крышные вентиляторы изготавливаются двух типов: вентиляторы, у которых колесо посажено непосредственно на вал электродвигателя, и вентиляторы, привод которого осуществляется через клиноременную передачу [2].

При необходимости в кожухе вентилятора устанавливают самооткрывающийся клапан, располагаемый эксцентрично. Клапан открывается по-

23

током воздуха и закрывается при выключении электродвигателя вентилятора.

а

б

Рис. 17. Крышные вентиляторы: а – радиальные;

б – осевые; 1 – вход-

ной патрубок; 2 – защитный цилиндр; 3 – рабочее колесо; 4 – электродвигатель; 5 – съемный колпак; 6 – кожух; 7 – основание; 8 – дроссельклапан; 9 решетка

1.6. Аэродинамические характеристики вентиляторов

Характеристика вентилятора (рис. 18) – это графическая зависимость полного давления р, мощности на валу N и КПД от подачи V при постоянной скорости вращения РК, с определенным диаметром РК и известной плотностью перемещаемой среды и аэродинамической схемой, т.е. совокупностью геометрической конфигурации проточной части и РК.

Аэродинамические характеристики могут быть:

1.Индивидуальные, определяющие р, N, вентилятора данного типа определенного размера при числе оборотов ротора вентилятора n.

2.Безразмерные, характеризующие вентиляторы одной аэродинамической схемы, но разных размеров и с различной частотой вращения рабочего колеса.

Эти характеристики необходимы при проектировании и испытании вентиляторов. Характеристики строят в безразмерных парамет-

24