Материал: 2302

Внимание! Если размещение файла нарушает Ваши авторские права, то обязательно сообщите нам

за счет разряжения открывается всасывающий клапан 2 и газ поступает в цилиндр 3. Нагнетательный клапан в это время закрыт (прижат к седлу избыточным давлением в нагнетательной линии). Обратное движение вызывает возрастание давления, вследствие чего всасывающий клапан закрывается и открывается нагнетательный клапан, газ из цилиндра поступает в напорную линию 4.

Характерными особенностями

4

1

поршневых машин являются:

возвратно-поступательное

движение

рабочего

органа –

 

 

 

 

 

 

 

 

 

 

 

 

 

 

 

 

 

 

 

 

 

 

 

 

 

 

 

 

 

 

 

 

 

 

 

 

поршня, сопровождающееся тре-

 

 

 

 

 

 

 

 

 

 

 

 

 

 

 

 

 

 

 

 

 

 

 

 

 

 

 

 

 

 

 

 

 

 

 

 

нием поршня (поршневых колец)

 

 

2 3

 

 

 

 

 

 

 

 

о стенки цилиндра;

 

Рис. 2. Схема поршневого компрессора

 

принудительное

выталки-

вание

газа

путем перемещения

 

 

 

 

 

 

 

 

 

 

 

 

поршня;прерывная подача газа.

Возвратно-поступательное движение связано с появлением больших сил инерции, что вынуждает ограничивать среднюю скорость движения поршня. Для поршневых компрессоров – обычно не более

5 м/с.

Лопастные машины. К лопастным относятся осевые и радиальные (центробежные) машины. В качестве примеров на рис. 3, а приведена схема радиального вентилятора, а на рис. 3, б – осевого вентилятора.

а

б

Рис. 3. Схемы лопастных машин: а – радиальный;

б – осевой; 1 – вса-

сывающее отверстие; 2 – вал; 3 – лопастное колесо; 4 – спиральный кожух; 5 – нагнетательное отверстие; 6 – цилиндрический кожух

В радиальном вентиляторе (см. рис. 3, а) воздух через входной патрубок 1 поступает на лопатки рабочего колеса 2, которые сообщают воздуху энергию, а затем – в спиральную камеру и далее в

5

напорный воздуховод. В осевом вентиляторе простейшей схемы (см. рис. 3, б) воздух поступает на рабочие лопатки, а затем – в напорную линию.

Лопастные машины характеризуются:

вращательным движением рабочего органа (рабочего колеса), причем отсутствует трение рабочего колеса о корпус;

энергия газу сообщается за счет изменения количества движения под воздействием лопастей;

подача газа непрерывная и равномерная.

Вращательное движение рабочего колеса с отсутствием трения о корпус позволяет применять большие окружные скорости, доходящие в осерадиальных колесах до 400 500 м/с.

Кроме того, возникающие на лопастях силы, а следовательно, и сообщенная газу энергия пропорциональны квадрату окружной скорости. Следовательно, большие давления могут быть достигнуты либо при очень больших окружных скоростях, либо путем увеличения числа ступеней. Известны, например, осевые компрессоры с числом ступеней z = 15 20 при отношении давлений К = 5 7. Большие осевые скорости потока в осевых машинах обуславливают большие подачи их, в то время как подача поршневых компрессоров из-за малых скоростей движения поршня обычно не превышает 3 м/с.

Ротационные машины сочетают некоторые особенности поршневых и лопаточных машин и образуют большую группу машин, существенно отличающихся по конструктивному выполнению.

Области применения газодувных машин. Вентиляторы широко применяются для проветривания шахт, рудников, общественных зданий, производственных помещений, для подачи воздуха в топки котлов и т.д. И хотя потребляемая отдельным вентилятором мощность невелика, на вентиляторы и дымососы в России идет около 8 % всей вырабатываемой электроэнергии.

Не менее широкое применение и компрессоров. Ни один машиностроительный завод не обходится без компрессорной станции, подающей сжатый воздух для привода пневматического инструмента, формовочной машины, воздушных молотов. Сжатый воздух и сжатые газы необходимы в химической, металлургической и других отраслях промышленности. За последние годы центробежные компрессоры широко используются для подачи природного газа.

6

1. ВЕНТИЛЯТОРЫ

Вентиляторы предназначены для перемещения газов и сообщения им энергии с отношением давления К < 1,1. Комплекс – вентилятор, приводной двигатель и коммуникации – образуют вентиляционную установку (рис. 4).

Основные рабочие параметры вентиляторов

Объемная (массовая) пода-

ча V (G) представляет собой объем (массу) газа, подаваемого вентилятором в единицу времени.

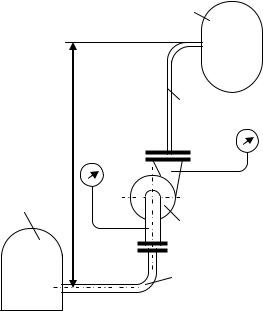
Давление, развиваемое вентилятором, Па, называется разностью полных запасов энергии после и до вентилятора, отнесенной к 1 м3 газа,

p pK pH

c2

c2

K

H

,

 

2

 

 

 

 

2

 

pСТВ

 

5

zВ - zА pH

pK

 

1

3

 

pСТА

4

 

Рис. 4. Схема вентиляционной установки: 1, 2 – приемный и напорный резервуары; 3 – вентилятор; 4, 5 – всасывающий и напорный трубопроводы

где плотность перемещаемого газа, кг/м3 ; с – скорость газа, м/с; индексы н (начальное) и к (конечное) относятся к параметрам в сечениях перед вентилятором и за ним.

Наблюдаемое давление вентилятора, Па, работающего на данную сеть, находят из выражения

p pCTB pCTA p pC ,

где pCTB и pCTA избыточное статическое давление в напорном и приемном резервуарах; p сопротивление газового (воздушного) тракта, включая потерю давления с выходной скоростью; рС – самотяга, Па:

pC B Г g zB zA ,

7

где В – плотность наружного воздуха; Г – средняя плотность перемещаемого газа, кг/м3; zВ и zА – геометрические отметки сечений сбрасывания и приема газа.

Мощность вентилятора

pV Ne 1000 e .

1.1.Радиальные вентиляторы

Врадиальном вентиляторе воздух поступает через входное отверстие, которое всегда имеет круглую форму, и выходит через выходное отверстие, имеющее квадратную или прямоугольную форму.

Зазор между колесом и входным патрубком не должен быть больше 1 % диаметра колеса. При больших зазорах работа вентилятора резко ухудшается из-за увеличения протечек.

Кожухи вентиляторов изготавливаются из листовой стали сварными или клепаными. В малых вентиляторах кожухи крепят к станине, в больших – на специальных опорах. Станины отливаются из чугуна или сваривают из листовой и угловой стали. На станинах в подшипниках устанавливают валы.

Радиальные вентиляторы классифицируются [5]:

по создаваемому давлению:

низкого давления, до 1000 Па;

среднего давления, до 3000 Па;

высокого давления, свыше 3000 Па.

Следует отметить, что вентиляторы низкого давления при увеличении числа оборотов могут развивать среднее давление, следовательно, классификация по этому признаку является условной.

по назначению:

а) общего назначения – для перемещения чистого воздуха и неагрессивных газов при температуре до 180 0С и воздуха, содержащего пыль в количестве не более 150 мг/м3; такие вентиляторы применяют в системах вентиляции, воздушного отопления и для производственных целей;

б) для технологических нужд при перемещении агрессивных сред

– винипластовые, во взрывобезопасном исполнении – алюминиевые; пылевые – для перемещения воздуха, засоренного механическими примесями, и пневматического транспортирования материалов;

8

в) дымососы – для перемещения дымовых газов (применяются в тяговых установках котельных).

по направлению вращения рабочего колеса:

правого вращения – если колесо вращается по часовой стреле (со стороны станины);

левого вращения, если колесо вращается против часовой стрел-

ки.

по расположению выходного отверстия: верхнее типа В; правое –

П; левое – Л; нижнее – Н. Возможны промежуточные положения выходного отверстия (под углом к горизонтали в 450.

по способу привода: на ременной передаче и на одном валу с двигателем.

а

г

Рис. 5. Кожухи и рабочие колеса радиальных вентиляторов: а низкого давления с числом лопастей 12, 24, 36 или 48; б среднего давления с числом лопастей 12 или 24; в пылевого с 6 лопастями; г высокого давления

9