Материал: 2295

Внимание! Если размещение файла нарушает Ваши авторские права, то обязательно сообщите нам

17. Какие способы улучшения эксплуатации газобаллонных автомобилей возможно использовать при низких температурах окружающей среды?

ГЛАВА 8. ТЕХНИЧЕСКОЕ ОБСЛУЖИВАНИЕ ЭЛЕМЕНТОВ

ГАЗОБАЛЛОННОГООБОРУДОВАНИЯ

В ПЕРИОД ЭКСПЛУАТАЦИИ АВТОМОБИЛЯ

Своевременное и качественное сезонное техническое обслуживание элементов газобаллонного оборудования автомобиля обеспечивает экономичную, ресурсосберегающую эксплуатацию их в зимний период.

При сезонном техническом обслуживании элементов газобаллонного оборудования автомобиля осуществляют собственно сезонное техническое обслуживание, а также контрольно-диагностические операции.

8.1.Особенности сезонного технического обслуживания элементов газобаллонного оборудования и систем питания двигателя перед зимней эксплуатацией автомобиля

Сезонное техническое обслуживание элементов газобаллонного оборудования осуществляют один раз в год перед началом зимней эксплуатации автомобиля (совмещая его с проведением очередного, второго технического обслуживания автомобиля) на участке технического обслуживания и текущего ремонта газового оборудования автомобиля, расположенном в отдельном, специально оборудованном помещении основного производственного корпуса. На этом участке, имеющем несколько постов, выполняют следующие работы:

а) техническое обслуживание и текущий ремонт элементов газового оборудования на автомобиле;

б) регулировку и ремонт элементов газового оборудования, снятого с автомобиля;

в) мойку и хранение элементов газового оборудования; г) проверку герметичности газовой системы питания

двигателя.

Перед заездом в основной производственный корпус для проведения сезонного технического обслуживания элементов

газового оборудования двигатель автомобиля необходимо перевести на работу с сжиженного нефтяного газа на бензин. В связи с этим предварительно необходимо выполнить следующие операции:

а) проверить герметичность арматуры газового баллона и соединительных газопроводов;

б) устранить выявленные неисправности; в) закрыть магистральный вентиль, выработать газ из газовой

системы питания и перевести двигатель на питание бензином. Для проведения сезонного технического обслуживания

элементов газового оборудования с целью подготовки их к зимней эксплуатации следует снять с автомобиля газовый редуктор с дозирующим экономайзерным устройством, карбюратор-смеситель, испаритель сжиженного нефтяного газа, магистральные электрические клапаны газовой и бензиновой систем питания, предохранительный клапан газового баллона [6, с. 185–190].

Сезонное техническое обслуживание газового редуктора начинают с разборки, очистки и

промывки его деталей от загрязнений. Затем осуществляют замену диафрагмы 1-й ступени и уплотнителей клапанов 1-й и 2-й ступеней. С использованием специальных стендов и приспособлений следует отрегулировать рабочее давление 1-й ступени, ход клапанов 1-й ступени, ход штока диафрагмы 2-й ступени и проверить герметичность разгрузочного устройства. После этого проверяют дозирующе-экономайзерное устройство на момент открытия клапана экономайзера и при необходимости заменяют его новым. Затем газовый редуктор, полностью собранный, устанавливают на прежнее место.

Сезонное обслуживание вентилей наполнительного, расходного и контроля максимального наполнения газового баллона включает в себя:

1)снятие крышек этих вентилей;

2)проверку технического состояния их деталей;

3)смазку резьбы штоков всех вентилей арматуры газового баллона;

4)установку крышек всех вентилей на прежние места.

Сезонное обслуживание комбинированного испарителя

сжиженного нефтяного газа. Для этого комбинированный испаритель следует демонтировать с автомобиля, разобрать и проверить состояние его деталей (неисправные заменить), тщательно очистить газопровод от ржавчины и окалины, а полость

теплоносителя - от накипи и различных загрязнений и после этого промыть их техническим этиловым спиртом марки А или растворителем “Хладон-113”. Включив электронагреватели в электрическую цепь напряжением 12 В, проверить их работу и неисправные заменить. Затем собрать и проверить герметичность комбинированного испарителя сжатым азотом или сжатым воздухом на рабочее давление 1,6 МПа с использованием специального стенда, после чего установить испаритель на прежнее место в подкапотном пространстве автомобиля. Заполнить жидкостью охлаждающую систему двигателя, включить газовую магистраль и проверить герметичность соединений газопроводов и дюритовых шлангов с испарителем при работающем двигателе.

Сезонное обслуживание магистральных электромагнитных клапанов газовой и бензиновой систем питания двигателя проводят после снятия их с автомобиля в такой последовательности:

1)очистить агрегаты снаружи, разобрать и проверить техническое состояние их деталей (неисправные заменить);

2)промыть детали, после чего собрать узлы и отрегулировать их с использованием специальных стендов и приспособлений;

3)провести монтаж этих узлов на автомобиле.

Сезонное обслуживание карбюратора-смесителя осуществляют так:

1)снимают карбюратор-смеситель с впускного трубопровода двигателя;

2)очищают снаружи от загрязнений;

3)разбирают карбюратор-смеситель;

4)тщательно промывают детали карбюратора-смесителя и проверяют их техническое состояние (неисправные детали заменяют);

5)собирают карбюратор-смеситель;

6)продувают сжатым воздухом смесеобразующее устройство

ижиклеры;

7)устанавливают карбюратор-смеситель на впускном трубопроводе двигателя;

8)проверяют на герметичность соединения (бензиновые);

9)проверяют действие приводов карбюратора-смесителя на полноту открытия и закрытия дроссельных и воздушных заслонок.

Сезонное обслуживание предохранительного клапана газового баллона осуществляют с целью проверки давления срабатывания клапана и выполняют на специальном стенде, соблюдая последовательность:

1) очистка снятого предохранительного клапана от загрязнений, его распломбирование;

2)проверка резинового уплотнителя на клапане. Если он просел, то необходимо заменить, а поверхности клапана и регулировочной пружины смазать смазкой;

3)регулирование предохранительного клапана осуществляется на специализированном стенде. Давление настройки Рнас предохранительного клапана должно быть равно рабочему давлению в газовом баллоне (1,6 МПа) или превышать его не более чем на 15 %. Давление полного открытия предохранительного клапана должно быть Рп.отк=1,15 Рнас ;

4)пломбирование предохранительного клапана;

 

 

 

 

5)

установка

Температура

Концентрация

предохранительного

клапана

на

окружающего

соли, г/л

 

прежнее место.

 

 

воздуха, С

 

 

 

При сезонном

обслуживании

NaCl

 

CaCl

 

 

газобаллонного

оборудования

0…-5

83

 

100

 

 

 

 

проверяют работу манометра, после

-5…-10

160

 

170

 

 

 

 

чего его пломбируют и ставят клеймо

 

 

 

 

 

 

 

 

со сроком следующей проверки.

 

 

 

 

Затем продувают газопроводы

под

 

 

 

 

давлением 0,3-0,4 МПа.

 

 

 

 

 

Завершив

сезонное

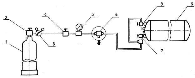
обслуживание элементов газобаллонного оборудования и монтаж их на автомобиле, проверяют герметичность всей газовой системы воздухом или азотом при давлении 1,6 МПа с использованием специальной установки (рис. 8.1).

Внешнюю и внутреннюю герметичность газовой системы питания двигателя проверяют обмыливанием соединений газопроводов, агрегатов и арматуры газобаллонного оборудования водным раствором хозяйственного мыла с добавлением определенного количества поваренной соли (NaCl) или хлористого кальция (CaCl) при отрицательных температурах окружающего

 

Таблица 8.1

воздуха (табл. 8.1). Необходимое

Необходимое содержание NaCl

содержание

хлористого

натрия

и

и CaCl в водном растворе

хлористого

 

кальция

в

хозяйственного

мыла

в

пенообразующем

водном растворе

зависимости от

отрицательной

хозяйственного

мыла

зависит

от

температуры

окружающего

температуры

окружающего воздуха

 

 

 

во время проверки герметичности газовой системы питания двигателя.

-10…-15

222

222

-15…-20

290

263

-20…-25

-

303

-25…-30

-

329

-30…-35

-

366

Соединения элементов газовой системы питания, подлежащие проверке на герметичность, очищают от загрязнений и обмазывают с помощью кисти пенообразующим

раствором. Проверяемые соединения осматривают дважды: непосредственно в процессе обмазывания данного соединения и по окончании обмазывания. Даже самую малую негерметичность соединений, характеризуемую появлением мелких пузырьков, обнаруживают зачастую лишь при повторном осмотре. Во время обмазывания соединений и швов пенообразующим раствором особое внимание обращают на соединения, расположенные в труднодоступных для осмотра местах.

К магистральному вентилю системы питания

Рис. 8.1. Схема установки для проверки герметичности газовой системы питания двигателя после окончания сезонного обслуживания элементов газобаллонного оборудования:

1 – баллон со сжатым воздухом; 2 – вентиль баллона; 3 – редуктор; 4 – вентиль; 5 – образцовый манометр; 6 – штуцер; 7 и 8 – расходные вентили газового баллона; 9 – баллон для сжиженного нефтяного газа

Для проверки внешней герметичности соединений газопроводов, агрегатов и арматуры газобаллонного оборудования, находящихся под избыточным давлением, при отрицательных температурах окружающего воздуха также используют индустриальное машинное масло.

Проверку герметичности газовой системы питания двигателя осуществляют сжатым воздухом, или углекислым газом, или азотом. При этом в системе питания двигателя не должно быть сжиженного нефтяного газа. Проверка герметичности производится при закрытых вентилях газового баллона в следующей последовательности: сжатый воздух (углекислый газ или азот) из баллона (см. рис. 8.1) подается через открытый вентиль 2 в редуктор 3, где его давление снижается до 1,6 МПа. Из редуктора сжатый воздух через специальный штуцер 6 поступает в газовую систему питания двигателя. После заполнения системы питания