Материал: 2165

Внимание! Если размещение файла нарушает Ваши авторские права, то обязательно сообщите нам

Рис.4.Конструкция стенки панели сборного цилиндрического резервуара

51

Рис. 5.Узел сопряжения стеновых панелей с днищем:

а жесткое сопряжение; б шарнирное сопряжение; 1 – стенка;

2 – выравнивающий слой раствора; 3 – бетон на щебне мелких фракций; 4 – битумная мастика; 5 – днище; 6 – кольцевая напрягаемая арматура

52

Рис.6. Натяжение высокопрочной проволоки арматурно-навивочной

машиной

53

Рис. 7. Напряжение стержневой арматуры электротермическим способом:

арасположение напрягаемой арматуры на цилиндрической стенке;

барматурная заготовка (одно звено кольца); в – анкерный упор

54

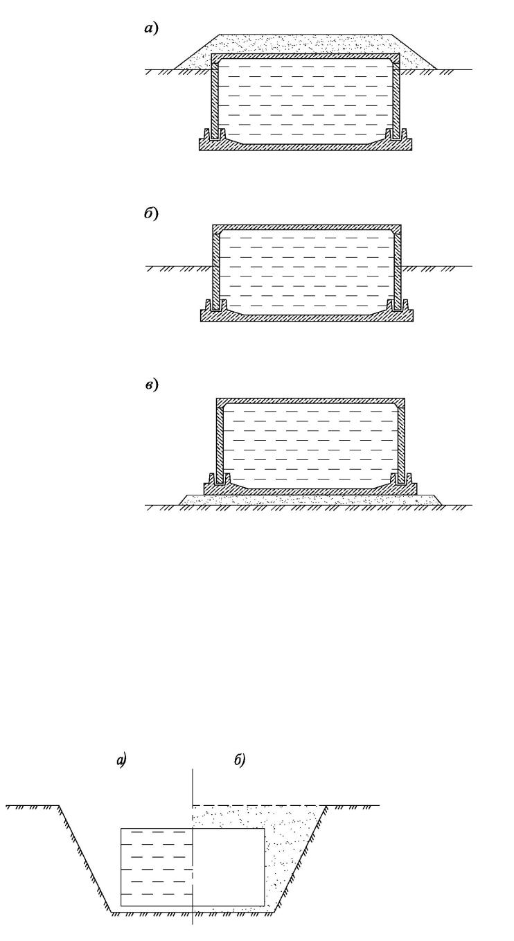
Рис. 8. Типы резервуаров в зависимости от глубины заложения:

а – подземный (заглубленный); б – полузаглубленный; в – наземный

55