Материал: 2165

Внимание! Если размещение файла нарушает Ваши авторские права, то обязательно сообщите нам

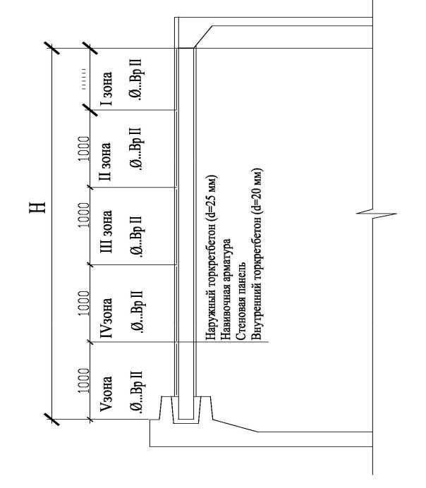
Рис. 25. Армирование стенки резервуара предварительно – напряженной

проволочной арматурой

66

Рис. 26. Расположение стержневой напрягаемой арматуры, анкерных узлов и

опорных уголков

67

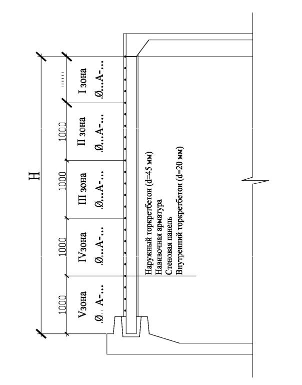
Рис. 27. Армирование стенки резервуара предварительно - напряженной

стержневой арматурой

68

Рис. 28. Расчетная схема при определении сил трения

69

Учебное издание

Проектирование сборного железобетонного цилиндрического резервуара

Методические указания к практическим занятиям по дисциплине

«Железобетонные инженерные сооружения»

Составители: Артур Генрихович Кельнер

***

Редактор И. Г. Кузнецова Компьютерная верстка О.Т. Лебедь

***

Подписано к печати 28.08.2011 Формат 60х90 1/16. Бумага писчая Оперативный способ печати Гарнитура Timen New Roman Усл. п. л. 1 , уч.-изд. л. ___

Тираж ____ экз. Заказ № ____

Цена договорная

Издательство СибАДИ 644099, г.Омск, ул. П.Некрасова,10

Отпечатано в подразделении ОП издательства СибАДИ 644099, г.Омск, ул. П.Некрасова, 10

70