процедур, при помощи которых выявляется эксплицитная информация, заложенная в тексте, а значит, связан с категорией эксплицитности\имплицитности. Подтекст может возникать как спонтанно, так и в результате сознательных действий говорящего (так же как может восприниматься осознанно или неосознанно), а значит, связан с категорией интенциональности.
Названные категории – информативность, эксплицитность \ имплицитность, интенциональность не исчерпывают характеристики подтекста. Для более адекватного определения категориальных признаков подтекста следует рассмотреть смежные с ним явления, чтобы выяснить, чему противопоставляется подтекст благодаря этим категориям. И.Р. Гальперин противопоставлял подтекст пресуппозиции, символу, приращению смысла, обнаруживая соответственно такие его характеристики, как лингвистичность (в отличие от пресуппозиции, которая, с точки зрения ученого, экстралингвистична), имплицитность и неясность, размытость, а также интенциональность ("запланированность") (Гальперин 1981). С точки зрения теории внутренней речи подтекст – часть замысла текста, часть смысла, остающаяся в пресуппозиции. Информативное содержание пресуппозиции может быть как лингвистическим, так и экстралингвистическим. Поэтому противопоставлять подтекст пресуппозиции мы не будем, а, наоборот, рассмотрим его как особый вид данного явления. И.В. Арнольд вводит термин "текстовая импликация" для обозначения того явления, которое отличается от подтекста только количественно: "Как импликация, так и подтекст создают дополнительную глубину содержания, но в разных масштабах.
...Подтекст и импликацию часто трудно разграничить, поскольку оба являются вариантом подразумевания и часто встречаются вместе, присутствуя в тексте одновременно, они взаимодействуют друг с другом" (Арнольд 2007: 85). Тем самым подтексту приписывается свойство макротекстуальности. В.А. Кухаренко, напротив, использует термин "импликация" для обозначения всех видов подразумевания, и различает импликацию предшествования, которая предназначена для создания "впечатления с наличии предшествующего тексту опыта, общего для писателя и читателя", и импликацию одновременности, цель которой − "создание эмоционально-психологической глубины текста, при этом полностью или частично изменяется линейно реализуемое смысловое содержание произведения" (Кухаренко 1988). Здесь можно заметить, что целесообразно было бы выделить также импликацию выведения следствия, но данный вид явления ученым не указан.
Средствами выражения подтекста являются языковые средства и способы их использования. Среди языковых средств выражения
131
подтекста исследователи выделяют отклонение от нормы: «Именно непорядок информативен уже с тем, что не сливается с фоном» (Арутюнова), «Любое нарушение нормы побуждает читателя искать подтекст» (Долинин). К языковым средствам выражения подтекста можно отнести диминутивные морфемы, многозначные слова, дейктические слова, частицы, повтор как средство создания связности текста, однако фактически любое языковое средство может быть включено в этот список. Среди средств дополнительной маркировки языковых единиц отметим нарушение стандартного функционирования языковых средств (парцелляция, эллипсис,
умолчание, нарушение синтаксического или логического порядка расположения компонентов высказывания); использование отдельных единиц текста в нестандартных позициях – более типично для лексических (нарушения сочетаемости слов) и морфологических (неоправданное использование определенных артиклей и т.д.) средств;
использование способов дополнительной маркировки текста без видимых нарушений узуальных норм, но с коммуникативной избыточностью, которая создает маркированность (различные виды повторов, неадекватно большие паузы также могут рассматриваться как проявление коммуникативной избыточности (в таком случае они трактуются как повторение паузы).
Термин подтекст часто используется как дублет термина смысл, например, в книге К.А. Долинина "Интерпретация текста" (2007: 6-7) понятие содержания также разделяется на эксплицитное содержание (или значение) и имплицитное содержание (или подтекст).
Термин подтекст |
оказывается всего |
лишь метафорическим |
||
обозначением |
того же |
понятия, |
которое обозначается термином |
|
cмысл, |
внутренний |
смысл, |
имплицитное |
|
содержание, сигнификат. |
Если авторы, как А. Р. Лурия или |
|||
К.А. Долинин, специально оговаривают дублетность этих терминов, то употребление термина подтекст не вызывает никаких возражений.
Но подтекст − это нечто другое, чем, скажем, двойной, окказиональный или эзотерический смысл. Часто восстановление подтекстового смысла возможно, т.к. подтекст – явление парадигматики текста: в основе его распознания лежит способность человека к параллельному восприятию двух дистанцированных друг от друга, но семантически связанных между собой сообщений. В этом случае, по словам В.А. Звегинцева, «к непосредственно воспринимаемой информации, заключенной в «поверхностной структуре» объекта, приплюсовывается и иная, скрытая, исходящая из модели данного объекта, информация» (Звегинцев 1976).
Таким образом, подтекст обычно определяется как имплицитно содержащаяся в тексте информация. Теории подтекста, относящие его
132
к семантической структуре текста, практически отождествляют подтекст с понятием смысла. Исключением является точка зрения Гальперина, который определяет подтекст как дополнительную информацию, которая возникает в результате взаимодействия содержательно-фактуальной (сюжет) и содержательно-концептуальной (мировоззрение автора, идея произведения) информации текста.
Вопрос о соотнесении понятия подтекста с другими формами «имплицитного знания» – пресуппозицией (презумпцией), импликацией и особыми структурами семантического представления – «фреймом», «схемой», «сценой», «сценарием» (Ч. Филлмор, Т.А. ван Дейк, В. Кинч), которые используются для моделирования стратегий понимания связного текста, требует следующих замечаний. Подтекст возникает на базе актуализированного текстового представления, на базе структур вербальной памяти, тогда как перечисленные выше понятия были введены для описания различных форм заранее предполагаемых известными (и не обязательно задаваемых непосредственно какими-то языковыми формами) знаний, общих для всех членов языкового коллектива (или, по крайней мере, для большинства его членов) и необходимых для адекватного понимания текста; все это некие «готовые общие знания», подтекст же является индивидуальной характеристикой конкретного текста. Пресуппозиция дает лишь возможность эксплицировать подтекст, который каждый раз непредсказуем и рождается заново.
Особый род пресуппозиций, в том числе подтекста, создается так называемым текстом в тексте. Понятия «интертекстуальность», «прецедентный текст» стали особенно актуальными в период постмодернизма. Появились даже термины «цитатная литература», «цитатное мышление». Заимствование чужого текста стало принимать самые разнообразные, иногда причудливые формы. И главное в этой игре чужим словом – усиление смысловой насыщенности текста, вхождение в общий контекст соответствующей культуры.
Несомненно, подтекст является частью семантики текста, дополнительным смыслом, который можно назвать авторской пресуппозицией. Подтекст одновременно – и продукт усилия (сознательного или бессознательного) говорящего, и результат аналитического восприятия текста слушающим (дешифровка подтекста производится с учетом всех пресуппозиций).
"Продуцирование и восприятие речевого высказывания вместе с проблемой речевого общения… " представляет собой одну из ведущих проблем, связанных с выражением и распознаваем семантики текста (Тарасов 1987: 3). Как отмечает Е.Ф. Тарасов, эта проблема относится к области психолингвистики. А.А. Леонтьев указывает, что психолингвистика "возникла в связи с необходимостью
133
дать теоретическое осмысление ряду практических задач, для решения которых чисто лингвистический подход, связанный с анализом текста, а не говорящего человека, оказался недостаточным" (Леонтьев A.A. 1997: 204). Психолингвистика в разных ее трактовках и воплощениях в жизнь … идет к единой цели – описанию и объяснению особенностей функционирования языка как психического феномена … с учетом сложного взаимодействия множества внешних и внутренних факторов при изначальной включенности индивида в социальнокультурные взаимодействия (Залевская 1999: 26). В.В. Волков (1994: 8) уточняет, что объектом лингвистики являются языковой материал и имплицированная в нем языковая система, а объектом психолингвистики – речевая организация и речевая деятельность. Леонтьев A.A. (1969: 5-28; 101-112) указывает, что отношение "язык как система (предмет) – язык как процесс (речь)" всегда входило в компетенцию лингвистики; отношение "язык как способность (речевой механизм) – язык как процесс (речь)" исследуется психологией и смежными областями физиологии; отношение "язык как система (предмет) – язык как способность (речевой механизм)" изучается психолингвистикой. Именно в рамках психолингвистики зародилась теория коммуникации (теория речевой деятельности). Психолингвистический подход к исследованию языковых явлений предполагает трактовку последних с позиций концепции специфики индивидуального знания, формируемого в соответствии с психофизиологическими возможностями индивида, но под контролем системы норм и оценок, вырабатываемых в социуме.
Исходя из этого, нужно отметить, что включение вопросов психолингвистики в курс семасиологии представляется целесообразным для формирования системы основных понятий курса: коммуникация и ее аспекты, язык и речь, внешняя и внутренняя речь, значение и смысл, механизмы порождения и восприятия сообщения. Кроме того, с осознанием в мировой науке роли межличностных знаковых, (символических) взаимодействий в умственных процессах активность трактуется как когнитивная, если реализующий ее человек использует символы или другие средства, направленные вне его и подчиняющиеся некоторым нормативам, которые определяют корректность или некорректность использования этих средств (Харре 1996: 3). Однако такие средства приобретаются только через совместную деятельность людей, в том числе речевую, т.е. через дискурс. Заметим, что эти идеи были значительно ранее (в 30-е гг.) сформулированы в работах Л.С. Выготского.
Модели порождения речи могут быть классифицированы на межуровневые (стадии процесса порождения речи выделяются в соответствии с выступающими на каждом из них языковыми
134
подсистемами), циклические (циклы порождения речевого высказывания) и интегративные (указание на вовлекаемый в процессе порождения уровень сочетаются с выделением последовательных фаз процесса).
В.Д. Климонов в описании опыта коммуникативно ориентированной модели речепорождения (1985) отмечает, что действие кодирующего компонента направлено на создание семантического представления будущего высказывания, которое состоит в переводе неязыковой информации в семантическую. Семантическое представление описывается им как многоярусное иерархически организованное образование, включающее перформативный, коммуникативный, грамматический и концептуально-семантический ярусы. Процесс порождения определяется интенцией говорящего и стратегией речевого поведения, которая зависит от условий речи и личности говорящего: кодируемый компонент – семантическое представление – трансформационный компонент – поверхностная структура – фонологический компонент – фонетическая структура (трансформационно-циклическая модель, без разграничения стадий превербальных и невербальных); деривационные связи характеризуются как постепенные замены символов и семантических признаков лексическим материалом.
Циклические модели включают понятие внутренней речи как промежуточного психического звена между замыслом и реализацией. Ср. у Выготского: семантический план – интериоризованный. У его последователей семантический план делится на интериоризованный и экстериоризованный (например, у А.А. Леонтьева):
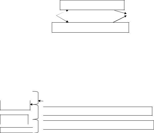
Схема 7. Циклическая модель порождения речи
Лексико-семантический план
|
|
Внешняя речь |
Внутренняя речь (замысел) |
|
|
|
|
|
|
|
|
Грамматическое структурирование
В представленной схеме неясно, где начинается внешняя речь и где именно совершается само грамматическое структурирование и выбор слов.
70-е годы была популярна точка зрения о том, что синтаксические структуры в виде абстрактных построений существуют в сознании, а потом заполняются лексическим материалом. Б.Ю. Норман предложил общую схему процесса преобразования внутренней речи во внешнюю, соотносительную с системой уровней: порождение начинается с выбора структурной схемы (Норман 1978: 48-49):
Схема 8. Схема Б.Ю. Нормана
|
|
Замысел (внутренне-речевая программа) |
|
|
|
синтаксис |
135 |
|
|
||
Лексико-семантический план
лексика 

Грамматическое структурирование морфология 