Материал: 1753

Внимание! Если размещение файла нарушает Ваши авторские права, то обязательно сообщите нам

Подставим в это выражение формулу для определения Ra :

Mкоп

Mn Mn 1

a Mn Мкоп Мn 1

b

Mn

a

. (7.24)

 

 

 

 

n

n

n

Полный изгибающий момент Мк в сечении k в соответствии с принципом суперпозиции будет равен сумме найденного момента Мкоп от действия найденных значений опорных моментов и так назы-

ваемого балочного момента Мко , возникающего в сечении k от действия вертикальных нагрузок при рассмотрении пролёта неразрезной балки как однопролётной статически определимой двухопорной балки. Тогда формула для определения изгибающего момента в сечении k в пролёте неразрезной балки примет вид

Мк Мко Мкоп Мко Мn 1

b

Mn

a

.

(7.25)

 

 

 

n

n

 

Для построения л.в. Мк изгибающего момента в сечении k формула (7.25) принимает вид

Л.в.Мк Л.в.Мко Л.в.Мn 1

b

Л.в.Мn

a

.

(7.26)

n

 

 

 

n

 

Линия влияния Мк показана на рис. 7.12.

7.7. Линии влияния поперечных сил

Построение линии влияния Qк осуществляют на основе известного выражения, которое применительно к построению линии влияния принимает вид

Л.в.Qk

Л.в.Qко

Л.в.Мn

 

Л.в.Мn 1

.

(7.27)

 

 

 

 

n

n

 

На рис. 7.13 показано построение линии влияния поперечной силы Qк в сечении k, выполненное для пролёта неразрезной балки на основании выражения (7.27).

115

7.8. Линии влияния опорных реакций

Рассмотрим n-ю опору неразрезной балки, фрагмент которой показан на рис. 7.14.

Опорную реакцию в заданной системе, аналогично случаю определения Мк, определяем из выражения

Rn Rno Rnоп.

(7.28)

_

 

F=1

 

К

Мn

Мn-1

а

b

n

 

аb

Л.в.Q0к

n

а

 

n

 

 

Л.в. Мn-1

Л.в. Мn

Л.в. Qк

Рис. 7.13

Рассмотрим эпюру Моп (см. рис. 7.14). Определим поперечные силы левее и правее опоры n:

tg 1 = Qn

 

Mn Mn 1

;

tg 2 = Qn 1

Mn 1 Mn

.

 

 

 

 

 

n

 

n 1

 

 

 

 

116

 

 

Рассмотрим равновесие опоры n (рис. 7.15). Из условия равновесия получаем

Rnоп Qn 1 Qn .

(7.29)

Подставляя в (7.29) формулы для определения Qn и Qn+1, получим выражение

оп

 

Mn 1 Mn

 

Mn Mn 1

 

Mn 1

 

 

1

 

1

 

 

Mn 1

 

 

 

 

 

 

 

 

 

 

Rn

 

 

 

 

 

 

 

 

 

 

 

Mn

 

 

.(7.30)

n 1

n

n 1

 

 

n

 

 

 

 

 

 

n

n 1

 

 

 

_

Rn

 

 

 

 

 

 

n-1

F=1

n

 

n+1

 

 

 

n

 

n+1

 

 

 

1.0

 

0

 

 

 

 

Л.в. R n

Мn-1

 

Мn

 

Мn+1

 

 

 

Мn-1

α1

 

 

 

 

Мn

 

Эп. Моп

 

 

α2

 

 

 

Мn+1

Рис. 7.14

Для построения линий влияния формула (7.30) преобразуется в следующее выражение:

117

Л.в.R

 

Л.в.Ro

 

Л.в.М

n 1

 

1

 

1

 

Л.в.М

 

 

Л.в.М

n 1

. (7.31)

n

 

 

 

 

 

 

 

n

 

 

 

 

 

 

 

 

 

n

 

n

 

 

n

 

 

 

 

 

n

 

 

 

 

 

 

 

 

 

n 1

 

 

 

 

 

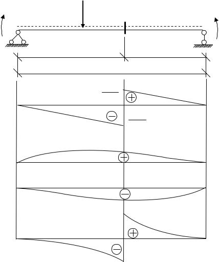
Формы линий влияния опорных моментов, внутренних усилий и опорной реакции для неразрезной балки приведены на рис. 7.16.

0

1

К

2

3

Л.в. М0

Л.в. М1

Л.в. М2

Л.в. М0к

Л.в. Мк Л.в. Q0к

Л.в. Qк

Л.в. R01

Л.в. R1

Рис. 7.15

118

7.9. Понятие об огибающих эпюрах

При расчёте стержневых конструкций, используемых в транспортных сооружениях преобладающей чаще всего является подвижная нагрузка (автомобили, поезда и др.). Очевидно, что в одном и том же поперечном сечении элемента конструкции при различном положении на сооружении подвижной системы нагрузок будут возникать различные по величине и направлению внутренние усилия. Естественно, что эти усилия будут формироваться от двух составляющих нагрузок – постоянной (как правило, собственный вес элемента конструкции) и временной, называемой подвижной .

Для правильного конструирования таких сооружений инженеруконструктору необходимо знать наибольшее и наименьшее (экстремальные) значения внутреннего усилия в каждом поперечном сечении элемента конструкции. Линии, соединяющие значения экстремальных усилий, называются огибающей эпюрой.

Согласно сказанному, ординаты огибающих эпюр внутренних усилий определяют в соответствии с формулами:

Smax Sпост

Sвременmax ;

Smin Sпост

(7.32)

Sвременmin .

В этих формулах Sпост усилие в поперечном сечении элемента

конструкции от действия постоянной нагрузки; Sвременmax и Sвременmin наибольшее и наименьшее значения в том же поперечном сечении элемента от действия временной подвижной нагрузки. Наиболее рационально находить значения Sвременmax и Sвременmin , а также Sпост путём соответствующего загружения линии влияния искомого усилия как постоянной нагрузкой, так и подвижной, располагая её над наибольшими положительными ординатами линии влияния Sвременmax и над наибольшими отрицательными ординатами той же линии влияния Sвременmin .

На рис. 7.16 показана огибающая эпюра моментов для неразрезной балки.

Эп. Могиб

Mmax

 

Mпост

119

Mmin