Материал: Управляемость автомобиля и безопасность движения

Внимание! Если размещение файла нарушает Ваши авторские права, то обязательно сообщите нам

Увеличение тяги на колесах в данных ситуациях вызовет более медленное снижение скорости, и поэтому может оказаться полезным только в том случае, когда это вызовет занос задней оси при хорошем сцеплении передних колес. При этом радиус поворота будет уменьшаться.

При снижении коэффициента сцепления или вследствие конструктивных особенностей автомобиля запас устойчивости может иметь отрицательные значения, при которых величина боковой силы превысит критическое значение, что вызовет занос. Характер необходимых управляющих действий в этом случае изменится. Вопрос о том, можно ли тормозить двигателем и с какой интенсивностью, для этого случая не имеет однозначного решения. Все определяется скоростью заноса и возможностью его прекращения при наличии тормозного момента на задних колесах. В большинстве случаев этот вопрос приходится решать в процессе развития аварийной ситуации. Выключение сцепления является последней попыткой остановить занос. Нельзя заранее определить, насколько и как нужно повернуть рулевое колесо. Действия водителя определяются только поведением автомобиля. Можно лишь сформировать несколько общих положений.

Имеется критический угол поворота продольной оси автомобиля, при котором прекращение заноса становится невозможным. Чем позже водитель начнет поворачивать рулевое колесо и чем ниже будет скорость его поворота, тем на больший угол успеет повернуться автомобиль. Поэтому поворот рулевого колеса нужно начинать, как только начнет ощущаться вращение автомобиля, причем сразу же с наиболее высокой скоростью.

Если рулевое колесо продолжать поворачивать с постоянной скоростью до момента прекращения заноса, то возникнет занос в противоположную сторону. Поэтому скорость поворота рулевого колеса необходимо снижать по мере уменьшения скорости заноса. Обратный поворот рулевого колеса, как правило, необходимо начинать чуть раньше, чем начнется вращение автомобиля в противоположную сторону, так как опережение поворота колес относительно угла поворота автомобиля является основным условном быстрого прекращения и ликвидации повторного заноса.

Опережающий поворот колес при повторных заносах возможен в тех случаях, когда водитель знает, где их нейтральное положение. Для этого необходимо уметь поворачивать рулевое колесо на максимально возможный угол без изменения точек соприкосновения кистей рук с его ободом. Коррекция заноса вызывает увеличение радиуса поворота. Поэтому, устранив занос, необходимо снова повернуть рулевое колесо в сторону поворота, что вызовет новый занос и все будет повторяться снова, до тех пор, пока скорость автомобиля не упадет до безопасной для движения по этому повороту или пока автомобиль не выйдет на прямую. В такой ситуации также лучше сразу выключить сцепление, так как наличие тяговой или тормозной силы на колесах только ускорит развитие заноса.

При сносе переднего моста автомобиль сходит с дороги на наружную сторону, при заносе - на внутреннюю сторону поворота. Однако если на входе в поворот будет значительно превышена предельная скорость, даже при возникновении сноса автомобиль, вращаясь, начинает двигаться к наружной кромке дороги. В этом случае необходимо попытаться остановить его вращение описанными ранее способами, так как это позволит в некоторой мере самому выбрать место для съезда с дороги, что поможет снизить тяжесть последствий при дальнейшем развитии дорожно-транспортного происшествия.

Из всего сказанного никоим образом не следует делать вывод о том, что на повороте вообще нельзя тормозить. Тормозить на повороте бывает необходимо довольно часто. Но при этом всегда нужно помнить, что чем больше скорость и соответственно боковое ускорение автомобиля, тем меньше величина допустимого при этом замедления.

Когда сумма тормозной и боковой сил станет равной силе сцепления, начинается снос или занос автомобиля. Поэтому при торможении на повороте необходимо быть готовым к этому и не забывать, что для ликвидации сноса или заноса, прежде всего, необходимо растормозить колеса.

Если на пути движения автомобиля на расстоянии, меньшем, чем остановочный путь, внезапно появляется препятствие, то с помощью торможения предотвратить наезд будет невозможно. Однако его еще можно избежать, совершив объезд препятствия. Например, при скорости 80 км/ч минимально возможный тормозной путь составляет 30 - 35 м, а минимальное расстояние объезда - 16 - 18 м. При скорости 120 км/ч эта разница становится еще больше: 65 - 90 м при торможении и 28 - 30 м при объезде. Однако объезд на минимальном расстоянии может выполнить только хорошо тренированный водитель. Сложность заключается в том, что при этом маневре заносит практически все автомобили, в том числе и обладающие на повороте положительным запасом устойчивости. Кроме того, если скорость заноса высока, возникают курсовые колебания. По данным испытаний расстояние объезда, при котором возникает занос легковых автомобилей, при скорости 30 км/ч равно примерно 26 м, при скорости 120 км/ч - примерно 40 м.

Это говорит о том, что когда торможение уже бесполезно, в ряде случаев может быть выполнен объезд даже не очень опытным водителем. Однако этому в большинстве случаев мешает боязнь опустить педаль тормоза при виде неумолимо приближающегося препятствия.

Управление автомобилем при действии внешних возмущений. Если автомобиль начинает смешаться в сторону под действием бокового ветра или поперечного наклона дороги, торможение также приводит к противоположному, чем ожидается, результату. Как и на повороте, в распоряжении водителя остаются только рулевое колесо, педали управления подачей топлива и сцепления. При ликвидации отклонений, вызванных внешними силами, очень важно начать реагировать на их действие раньше, чем начнет отклоняться автомобиль. Это возможно, когда водитель ощущает действие боковых сил в виде увеличения усилия на рулевом колесе. Одной из ошибок, часто приводящей к потере управляемости в этой ситуации, является стремление тут же вернуть автомобиль на прежнее место при отклонении его к кромке покрытия. Дело в том, что при попытке быстрее вернуться на середину дороги возникает центробежная сила, направленная в ту же сторону, что и внешняя сила. Вследствие этого занос возникает раньше, чем можно было бы ожидать. Поэтому первой задачей при отклонении автомобиля в сторону под действием внешних сил является прекращение этого отклонения. Только прекратив его, можно начать плавное возвращение автомобиля к середине дороги.

Если автомобиль попадает колесами одной стороны на мягкую обочину или в снег, его начинает неудержимо тянуть в кювет. В этом случае, прежде всего, нужно попытаться удержать автомобиль на прямой и помнить, что иногда лучше попасть в кювет, чем быть неожиданно выброшенным на встречную полосу движения при очень энергичных попытках выбраться на дорогу.

4. Органы управления

Органы управления автомобиля по своему функциональному назначению делятся на две группы. К первой группе относятся органы, с помощью которых изменяются направление и скорость движения автомобиля: рулевое колесо, рычаг переключения передач, педаль сцепления, педаль управления дроссельной заслонкой или подачей топлива, тормозная педаль и рукоятка стояночного тормоза. Вторая группа включает органы управления вспомогательными устройствами: кнопку или педаль включения стартера, кнопку управления воздушной заслонкой карбюратора, включатель зажигания, ручной или ножной переключатель света, кнопку электрического сигнала, рычаг включения указателей поворота, органы, управляющие стеклоочистителем, отопителем, вентиляцией, кондиционером, освещением и др. На автомобилях высокой проходимости, кроме того, имеются рычаг переключения раздаточной коробки и рычаг включения переднего моста. Специальные автомобили оборудуются органами для управления дополнительными специальными механизмами [19,20].

В зависимости от частоты пользования органы управления можно разделить на постоянные и эпизодические. Рулевое колесо и педаль управления дроссельной заслонкой или педаль подачи топлива относятся к постоянным органам управления, а педаль сцепления, тормозная педаль, рычаг переключения передач, переключатель света, рычаг или кнопка переключателя указателей поворота, кнопка управления звуковым сигналом и рычаг ручного тормоза - к эпизодическим. Органы управления могут быть ручными или ножными.

Параметры органов управления автомобиля должны соответствовать психофизиологическим и анатомическим возможностям водителя и отвечать эстетическим требованиям. При этом нужно учитывать и принцип, встречной адаптации, т. е. оптимально возможного приспособления человека к автомобилю.

К конструкции органов управления предъявляются следующие требования:

ü высокий уровень автоматизации управления автомобилем;

ü малые время и усилия, необходимые для выполнения рабочих движений;

ü удобная траектория движения рук и органов управления;

ü травмобезопасная конструкция органов управления;

ü обеспечение информативности и удобная форма рукояток;

ü соответствие эстетическим требованиям.

Выполнение указанных выше требований достигается путем автоматизации переключения передач, совмещения нескольких операций в одном органе управления, применения гидравлических и пневматических приводов, размещения органов управления в оптимальных зонах рабочих движений водителя, применения тактильно-гностических и гигиенических форм рукояток.

Рулевое колесо. Рулевое колесо служит для изменения направления движения автомобиля через рулевой вал, рулевую передачу и рулевой привод. Тороидный обод колеса смещен относительно оси рулевого вала, вследствие этого усилие, приложенное к нему, действует на некотором плече, что обеспечивает небольшие усилия вращения. Кроме обода, рулевое колесо имеет спицы и ступицу. Размеры и расположение спиц могут быть разнообразными. Конусность рулевого колеса влияет на величину его смещения вдоль оси вала и зависит от радиуса рулевого колеса и расчетного усилия.

К рулевому колесу предъявляются два основных эргономических требования: прилагаемое усилие при его вращении не должно превышать 30…50 Н для одной руки и 100…110 Н для двух; его угловая скорость должна обеспечивать надежное управление автомобилем при любой скорости движения.

Легкость вращения рулевого колеса зависит от передаточного числа рулевого механизма и диаметра обода. У большинства современных автомобилей передаточное число рулевых механизмов находится в пределах 15…40, а диаметр обода - 300…500 мм. Диаметр обода рулевого колеса тяжелых грузовых автомобилей выбирают ближе к верхнему; пределу, а для легковых и особенно спортивных - ближе к нижнему пределу.

На некоторых автомобилях устанавливается гидроусилитель рулевого управления, служащий для уменьшения усилия, прилагаемого водителем к рулевому колесу, что позволяет точнее управлять автомобилем и быстрее реагировать на дорожные ситуации, а также уменьшает утомляемость водителя и повышает безопасность движения. Гидроусилитель частично гасит колебания кузова, вызываемые неровностями дороги, не мешая водителю чувствовать ее. При небольших углах поворота рулевого колеса управление осуществляется без участия гидроусилителя, так как для корректировки движения требуются небольшие усилия. При возникновении значительных возмущающих внешних сил, которые действуют на колеса автомобиля, водитель при наличии гидроусилителя небольшим усилием может удержать ведомые колеса в нужном положении, что особенно важно при выходе из строя шины одного из передних колес. Применение гидроусилителя, благодаря которому уменьшается усилие, прилагаемое к рулевому колесу, дает возможность уменьшить диаметр его обода, что позволяет улучшить обзорность.

Рычаги и рукоятки. Удобство управления автомобилем во многом зависит от формы рычагов и рукояток органов управления, их размещения относительно тела водителя, удаленности друг от друга, направления перемещения, усилий, которые нужно прикладывать для их перемещения. Учитывая наличие различных по степени удобства зон в пределах моторных полей водителя, органы постоянного использования следует размещать в оптимальной рабочей зоне, а органы эпизодического использования в нормальных и максимальных зонах (рисунок 4.1). На рулевой колонке или рядом с ней располагают рычаги переключения передач и указатели поворота, кнопку или дужку звукового сигнала. На передней панели находятся ключ зажигания, рукоятки управления стеклоочистителем и омывателем стекол, воздушной заслонкой, включателем отопления, вентиляции и т. п.

Рисунок 4.1 Расположение рычагов и рулевого колеса грузового автомобиля относительно рабочих зон рук водителя (размеры указаны в см): а - расположение рычагов управления; б - расположение рулевого колеса; 1 - оптимальная рабочая зона; 2 - нормальная зона; 3 - максимальная зона

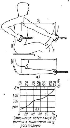
Рисунок 4.2 Зависимость максимального растягивающего усилия F руки от расстояния S0 между рычагом ручного тормоза и серединой плеча водителя: 1 - дуга, радиус которой соответствует оптимальному расстоянию (с физиологической точки зрения) рычага от середины плеча водителя; 2 - дуга, радиус которой соответствует максимальному расстоянию (с анатомической точки зрения) рычага от середины плеча водителя.

Место расположения рычага переключения передач зависит, от усилия, необходимого для его перемещения. Вследствие этого рычаг следует располагать в оптимальной зоне рабочих движений водителя. Рукоятку стояночного тормоза размещают в этой же зоне с учетом усилия, прикладываемого к ней. Зависимость развиваемого водителем усилия от места расположения рычага показана на рисунке 4.2.

Ниже приведены некоторые рекомендации по органам управления. Полный ход рукоятки ручного тормоза, мм:

ü  для легкового автомобиля…………………………….….……..150

ü  грузового………………………………….….……..200

Предельные усилия, Н:

ü  на тяге рукоятки стояночного тормоза…………....….……18

ü  на рукоятке переключения передач……………….….….……..6

Основные расстояния, мм:

ü от рукояток рычагов переключения передач и стояночного тормоза в любом положении до других элементов кабины, не менее…..….….....40

ü  от рукояток прочих рычагов до опорной поверхности сиденья….…230

ü  между рулевым колесом и любыми деталями кабины, не менее….....100

Указанные выше величины рассчитаны для водителей среднего роста. Для учета отклонений в росте элементы рабочего места выполняют регулируемыми (сиденье, педали).

Педали управления. Удобство управления автомобилем и безопасность движения во многом определяются расположением педалей управления. При размещении педалей необходимо учитывать частоту и продолжительность пользования ими, величину прилагаемых усилий, обеспечение безопасности движения, а также анатомо-физиологические особенности водителя. Усилие, прокладываемое водителем к педалям, зависит от ее расположения (рисунок 4.3). Из графика следует, что нога человека развивает наибольшее усилие, если упор приходится на бедренную часть. Максимальное усилие, равное 1862 Н, достигается при отклонении упора от вертикального положения на 70°.

Опорная площадка любой педали должна быть расположена так, чтобы при положении ноги с опорой на пятку углы голеностопного, коленного и тазобедренного суставов имели оптимальные значения и составляли соответственно 90…100, 95…135 и 90…120°. Пространственное положение площадки педали должно соответствовать естественному положению ступни водителя.