Материал: Управляемость автомобиля и безопасность движения

Внимание! Если размещение файла нарушает Ваши авторские права, то обязательно сообщите нам

где kу1 и kу2 - коэффициенты сопротивления уводу соответственно переднего и заднего мостов, Н/рад;

M1 и М2 - массы, отнесенные соответственно к переднему и заднему мостам, кг.

При повышении скорости автомобиля углы увода также возрастают. При этом у автомобиля с излишней шинной поворачиваемостью угол δ2 увеличивается быстрее угла δ1. Вследствие этого правая часть выражения (2.7) уменьшается и при некоторой так называемой критической скорости vув оказывается равной нулю. При этой скорости автомобиль начинает двигаться криволинейно, хотя его управляемые колеса находятся в нейтральном положении. Если скорость автомобиля больше vув, то разность δ2 - δ1 > L/Rэ, и угол θ становится отрицательным. Это означает, что для поворота автомобиля вправо передние колеса нужно повернуть влево. Следовательно, автомобиль с излишней шинной поворачиваемостью теряет управляемость, если его скорость больше критической vув.

Для определения критической скорости, приняв угол θ =0, подставим в формулу (2.7) разность углов δ1 и δ2 полученную из выражений (2.8) и (2.9), тогда:

δ2 - δ1=( М2 / kу2 - М1 / kу1)×v2/Rэ = L/Rэ

Следовательно, критическая скорость по условиям увода:

vув=. (2.10)

У автомобиля с недостаточной или нейтральной шинной поворачиваемостью критическая скорость отсутствует, так как при δ1 =δ2 подкоренное выражение отрицательно и скорость vув, является мнимой величиной, а при δ1=δ2 она равна бесконечности.

Чтобы обеспечить недостаточную шинную поворачиваемость автомобиля, несколько уменьшают давление воздуха в шинах передних колес по сравнению с давлением в шинах задних колес и тем самым снижают коэффициент поворачиваемости (ηпов). Кроме того, центр тяжести автомобиля немного смещают в сторону переднего моста, что увеличивает часть центробежной силы, действующую на управляемые колеса.

.3 Устойчивость переднего и заднего мостов

При определении максимально допустимой (критической) скорости, с которой можно вести автомобиль без поперечного скольжения vск предполагается [7,8,9,10,15], что продольные силы отсутствуют и оба моста автомобиля скользят в поперечном направлении одновременно. Такое явление в практике наблюдается редко, обычно раньше начинают скользить колеса одного из мостов: заднего или переднего. Для качения колеса без продольного и поперечного проскальзывания необходимы следующие условия:

Fсц=Rz ×φ≥,

где Rx, Ry, Rz,- касательная, поперечная, нормальная реакция дороги на колесо.

Отсюда:

φ ≥,

где χ= Rx /Rz - удельная касательная реакция, равная для ведущего колеса Fт /Rz, а для тормозного Fтор /Rz; для ведомого колеса χ=f.

Поперечная составляющая центробежной силы Fy определяет поперечную реакцию дороги на колесо

Fy =M×v2×θ/L= G×v2/(g×R). (2.11)

Подставим вместо поперечной силы её значение по формуле (2.11),тогда:

φ 2= χ 2 + (G×v2/(g×R×Rz))2.

Не учитывая динамических нагрузок на колеса, можно приближенно принять Rz= G. Следовательно, максимальная скорость, с которой автомобиль может двигаться без скольжения при совместном действии касательных и поперечных сил,

v=.

Скорость v меньше скорости vск, определенной для случая равномерного движения автомобиля и разгона, примерно на 10…20%. При интенсивном торможении χ ≈ φ, при этом v≈ 0, и даже небольшое отклонение может привести к заносу.

Аналогично можно получить формулы, определяющие условия устойчивости переднего и заднего мостов. Соответствующие критические скорости определяют по формулам:

vск1=; (2.12)

vск2=.

где m1 и m2 - коэффициенты изменения вертикальных реакций; для двухосных автомобилей при движении под действием силы тяги m1=0.8…0.9; m2=1.05…1.1; при торможении m1=1.2…1.3 и m2=0.7…0.8.

При активных режимах движения у заднеприводных автомобилей χ1˂χ2. При торможении колеса заднего моста разгружаются, а переднего нагружаются и m1> m2 .Поэтому в обоих случаях vск1> vск2 , т.е. наиболее вероятен занос заднего моста.

На рисунке 2.8, а показан автомобиль, движущийся криволинейно по дуге радиуса R. Если скорость автомобиля v превышает критическое значение vск2, то задний мост будет проскальзывать в поперечном направлении с некоторой скоростью vу2. В результате сложения скоростей задний мост начнет перемещаться по направлению вектора v3 и радиус уменьшается до R1. Уменьшение радиуса вызывает увеличение центробежной силы, что в свою очередь приведет к дальнейшему уменьшению радиуса. При некотором значении радиуса начнут проскальзывать колеса переднего моста. Однако скорость поперечного скольжения заднего моста все время будет расти быстрее, и автомобиль будет двигаться по дуге непрерывно уменьшающегося радиуса. Такое движение автомобиля называется заносом. Занос чрезвычайно опасен, так как развивается обычно быстро и может привести к выходу автомобиля за пределы полосы движения или опрокидыванию.

Рисунок 2.8 Занос переднего и заднего мостов автомобиля

Если vск1<vск2, то при v=vск1 начинается поперечное скольжение переднего моста со скоростью vу1. (рисунок 2.8 б). В этом случае передний мост перемещается по направлению вектора v3. и радиус увеличивается от R до R1. Увеличение радиуса приводит к уменьшению центробежной силы, и скорость vу1 понижается. Следовательно, такой автомобиль не может войти в занос, хотя может частично утратить управляемость.

Чтобы прервать начавшийся занос, нужно прекратить торможение или подачу топлива, уменьшив тем самым величину χ. Кроме того нужно повернуть передние колеса в сторону скольжения заднего моста. Пусть во время начала заноса передние колеса занимали нейтральное положение и центр поворота находился в точке O (рисунок 2.8 в). После поворота колес на угол θ центр поворота сместится в точку О1 и радиус поворота увеличится от от R до R1, а центробежная сила уменьшится.

.4 Оценка управляемости автомобиля ГАЗ-31105

Исходными данными для расчета характеристик управляемости являются:

. Размерные параметры автомобиля ГАЗ-31105 [16]

а) наибольшая ширина ………………Ba=1,846 м;

б) наибольшая высота………………..Ha=1,476 м;

в) база автомобиля……………………L=2,8 м;

г) площадь лобового сопротивления может быть приближенно определена по выражению [7]

Aв = αв×Ha× Ba =0,78×1,476×1,846=2,125 м2;

где αв - коэффициент заполнения площади для легковых автомобилей αв = =0,78…0,8. Принимаем αв = 0,78.

. Снаряженная и полная масса автомобиля [16].

а) снаряженная масса

m0=1470 кг;

в том числе на заднюю ось m02=690 кг;

б) полная масса

ma=1870 кг;

в том числе на переднюю ось ma1 = 890 кг;

в том числе на заднюю ось ma2 = 980 кг.

. Координаты центра тяжести [17]

а) высота центра тяжести

hц=0,595 м;

б) расстояние от центра тяжести:

до передней оси автомобиля

а =( ma2/ ma)×L=980/1870×2,8 = 1,476 м;

до задней оси автомобиля

b = L - a = 2,8 - 1,467 = 1,333 м.

. Коэффициент полезного действия трансмиссии [7]

ηт= 0,8…0,92;

Принимаем ηт= 0,92.

. Коэффициент сопротивления воздуха [7]

kв = 0,15…0,35 H×c2/м4;

Принимаем kв = 0,2 H×c2/м4

. Статический радиус колеса. Для шин размером 205/70R14 статический радиус колеса [16]

r = 0,295 м.

. Максимальная мощность двигателя.

Ne max = 77,2 кDт при 4750 об/мин;

. Максимальный крутящий момент двигателя

Ме мах = 182 Н×м при 2500 - 3000 об/мин.

Определим курсовой угол автомобиля при выполнении первого маневра (своевременный поворот рулевого колеса и изменение направления движения). Курсовой угол автомобиля при входе в поворот (γ1) и при выходе из поворота определяются согласно формулам, приведенным в таблице 2.1:

γ1 = g×φy×T1 /(2×v) и γ2 = g×φy×T1 /v = 2×γ1.

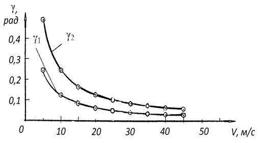
Результаты расчетов по этим формулам оформляем в виде таблиц 2.3, 2.4, 2.5, 2.6 и 2.7, рисунков 2.9, 2.10, 2.11, 2.12 и 2.13 соответственно при времени Т1 поворота рулевого колеса в одну сторону 0,5; 1; 1,5; 2; 3 с. φу = 0,5.

Таблица 2.3

Зависимость курсового угла при входе и выходе из поворота от скорости движения автомобиля при Т = 0.5 с.

Скорость движения авт., м/с

5

10

15

20

25

30

35

40

45

Курсовой угол γ1, рад

0.245

0.123

0.082

0.061

0.049

0.041

0.035

0.031

0.027

Курсовой угол γ2, рад

0.491

0.245

0.164

0.123

0.098

0.082

0.070

0.061

0.055


Таблица 2.4

Зависимость курсового угла при входе и выходе из поворота от скорости автомобиля при Т = 1 с.

Скорость движения авт., м/с

5

10

15

20

25

30

35

40

45

Курсовой угол γ1, рад

0.491

0.245

0.164

0.123

0.098

0.082

0.070

0.061

0.055

Курсовой угол γ2, рад

0.981

0.491

0.327

0.245

0.196

0.164

0.140

0.123

0.105


Таблица 2.5

Зависимость курсового угла при входе и выходе из поворота от скорости автомобиля при Т = 1,5 с.

Скорость движения авт., м/с

5

10

15

20

25

30

35

40

45

Курсовой угол γ1, рад

0.736

0.368

0.245

0.184

0.147

0.123

0.105

0.092

0.082

Курсовой угол γ2, рад

1.472

0.736

0.491

0.368

0.294

0.245

0.210

0.184

0.164


Таблица 2.6

Зависимость курсового угла при входе и выходе из поворота от скорости автомобиля при Т = 2 с.

Скорость движения авт., м/с

5

10

15

20

25

30

35

40

45

Курсовой угол γ1, рад

0.981

0.491

0.327

0.245

0.196

0.164

0.140

0.123

0.105

Курсовой угол γ2, рад

1.962

0.981

0.654

0.491

0.392

0.327

0.280

0.245

0.218


Таблица 2.7

Зависимость курсового угла при входе и выходе из поворота от скорости автомобиля при Т = 3 с.

Скорость движения авт., м/с

5

10

15

20

25

30

35

40

45

Курсовой угол γ1, рад

1.472

0.736

0.491

0.368

0.294

0.245

0.210

0.184

0.164

Курсовой угол γ2, рад

2.943

1.472

0.981

0.736

0.589

0.491

0.420

0.368

0.327


Как видим из рисунков 2.9 - 2.13 курсовой угол при входе и выходе из поворотов возрастает прямо пропорционально времени Т1 первой фазы поворота (увеличения угла поворота θ управляемых колес) и обратно пропорционально скорости движения. Так за время Т1=0,5 с при возрастании скорости движения с 5 м/с до 20 м/с курсовой угол поворота автомобиля при входе в поворот увеличивается с 0,245 до 0,61 рад. При увеличение времени Т1 с 0,5 до 3 с при скорости движения 20 м/с курсовой угол γ1 при входе в поворот увеличивается с 0,061 рад до 0,368 рад.

Рисунок 2.9 Зависимость курсового угла γ1 и γ2 от скорости движения при Т1=0,5с

Рисунок 2.10 Зависимость курсового угла γ1 и γ2 от скорости движения при Т1=1с

Рисунок 2.11 Зависимость курсового угла γ1 и γ2 от скорости движения при Т1=1,5 с

Таким образом, формулы, приведенные в таблице 2.1 позволяют найти γ, x, y и определить положение автомобиля на дороге в процессе входа в поворот.

Для оценки непосредственно связанной с управляемостью устойчивости переднего и заднего мостов автомобиля рассчитаем и построим график зависимости максимально возможной скорости без скольжения при совместном действии на автомобиль касательных и поперечных сил от удельной касательной реакции колес.

Максимальная скорость, с которой автомобиль может двигаться без скольжения при совместном действии касательных и поперечных сил, определяется по формуле:

v=. (2.13)

где χ= Rx /Rz - удельная касательная реакция, равная для ведущего колеса Fт /Rz, а для тормозного Fтор /Rz; для ведомого колеса χ=f. Принимаем R=100 м; φ=0.7.

Результаты расчетов по формуле (2.13) оформляем таблицей 2.8 и рисунком 2.14.

Рисунок 2.12 Зависимость курсового угла γ1 и γ2 от скорости движения при Т1=2,0 с