Материал: Улучшение условий труда на участке заточки режущего инструмента

Внимание! Если размещение файла нарушает Ваши авторские права, то обязательно сообщите нам

Для снижения шума между станками необходимо установить стальные экраны с панелями жесткости (размер ячеек между ребрами не более 1х1 мм), так как они обладают хорошей звукоизоляцией при минимальной толщине. Так же рекомендуется звукопоглощающая облицовка помещения. Но даже при работе на одном станке уровень звукового давления превышает норму, поэтому работников обязательно оснащают шумозащитными наушниками.

8.5 Вентиляция


Вентиляция является эффективным средством обеспечения комфортных или допустимых параметров воздуха в помещениях.

Вентиляцией называется организованный регулируемый воздухообмен, обеспечивающий удаление из помещения воздуха и подачу на его место свежего. На данном участке применяется смешанная система вентиляции

Смешанная система вентиляции является сочетанием элементов местной и общеобменной вентиляции. Местная система удаляет вредные вещества из кожухов и укрытий машин. Однако часть вредных веществ через неплотности укрытий проникает в помещение. Эта часть удаляется общеобменной вытяжной вентиляцией [12].

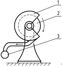
При работе на шлифовально-заточных станках выделяется большое количество абразивной пыли, поэтому во все кожухи шлифовальных кругов встраиваются местные отсосы. Общий вид такой конструкции представлен на рисунке 8.13. С помощью местной вентиляции необходимые условия создаются на отдельных рабочих местах. Местная вытяжная локализующая вентиляция - основной метод борьбы с вредными выделениями заключается в устройстве и организации отсосов от укрытий [12].

- абразивный круг, 2 - кожух, 3 - магистральный воздуховод.

Рисунок 8.13 - Местная вытяжная вентиляция на шлифовально-заточном станке

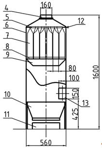
Местный отсос присоединяется к магистрали, которая ведет в пылеуловитель. На рассматриваемом участке размещены два пылеуловителя ПУМА 800 производительностью 800 м3/ч (рис.8.14).

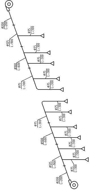
К одному из них подсоединены 3 станка с 5 абразивными кругами, ко второму - 3 станка с 6 абразивными кругами (рис 8.15). В пылеуловителе воздух очищается от пыли посредством двух ступеней: циклон и рукавный фильтр. После очистки воздух поступает обратно в помещение, что позволяет значительно сэкономить на приточной вентиляции и нагревании приточного воздуха. Недостатком циклической системы является недостижимость 100% очистки. У пылеуловителя ПУМА 800 она составляет 98%, а значит 2% пыли возвращается в воздух рабочей зоны. Согласно ГОСТ 12.1.005-88 «ССБТ. Общие санитарно-гигиенические требования к воздуху рабочей зоны» ПДК абразивной пыли (электрокорунд, карбид кремния) 6 мг/м3, что при малых объемах комнаты (≈ 80 м3) достигается достаточно быстро.

Пылеуловители сблокированы со станками для исключения их работы при выключенной местной вытяжной вентиляции.

Очистка воздуховодов производится не реже одного раза в 6 месяцев согласно ПОТ Р М-006-97.

Кроме того, имеется общеобменная вентиляция производительностью 350 м3/ч. Она предназначена для обеспечения заданных параметров микроклимата, а так же удаления абразивно-металлической пыли, не удаленной пылеуловителями. В соответствии со СНиП 2.04.05-91 «Отопление, вентиляция и кондиционирование» расход наружного воздуха в помещении не должен быть меньше 60 м3/ч на человека. Т.е. одновременно к работе на участке допускается не более 5 человек.

- выходной патрубок пылеуловителя; 5 - верхняя рукавная решетка; 6 - корпус пылеуловителя; 7 - фильтровальный рукав; 8 - нижняя рукавная решетка; 9 - выходной патрубок циклона; 10 - корпус циклона; 11 - пылесборник; 12 - встряхивающий механизм фильтра; 13 - входной патрубок пылеуловителя.

Рисунок 8.14 - Общий вид пылеуловителя ПУМА 800

Рисунок 8.15 - Схема местной вытяжной вентиляции на участке заточки режущего инструмента

.5.1 Расчет концентрации пыли на участке заточки режущего инструмента

Концентрацию абразивно-металлической пыли в помещении при заточке режущего инструмента определяем по формуле:


где m - масса абразивно-металлической пыли, выделяющаяся за 20 минут работы, г;

Кмо - коэффициент эффективности местного отсоса;

Кп - коэффициент очистки пылеуловителя;

V - объем помещения, м3;

N - коэффициент неравномерности распределения пыли;

Р - коэффициент оседания пыли.

Находим m по формуле:


где М - массовое выделение пыли, г/с;

t - время работы.

M определяется по справочным данным [18], указанным в таблице

Таблица 8.13 - Массовое выделение пыли заточных станков

Вид оборудования

Диаметр круга, мм

Выделяющееся вещество, г/с

Заточные станки


Пыль абразивная

Пыль металлическая


100

0,004

0,006


150

0,006

0,008


200

0,008

0.012


250

0,011

0,016


300

0,013

0,021


350

0,016

0,024


400

0,019

0,029


450

0,022

0,032


500

0.024

0,036


550

0,027

0,040


Возьмем станок ТШ-1 с диаметром абразивного круга 250 мм.

Подставляя полученные данные в формулу (9), получаем:

Коэффициент эффективности местного отсоса находится в диапазоне от 0,95 до 0,995 [18]. Возьмем среднее 0,975.

Коэффициент очистки пылеуловителя определяется из паспорта на оборудование. У пылеуловителя ПУМА 800 он равняется 0,98.

Объем помещения V:

Так как пыль скапливается преимущественно в нижней половине помещения, вводится коэффициент неравномерности распределения N, равный 1,5;

Коэффициент оседания абразивно-металлической пыли равен 0,2 [19], то есть 4/5 всей пыли сразу оседает.

Подставляем все значения в формулу (8):

Концентрация пыли не превышает ПДК (6 мг/м3), а значит, безопасна для работников.

. Электробезопасность


Все оборудование на участке подключено к трехфазной пятипроводной сети частотой 50 Гц с заземленной нейтралью. Ее схема представлена на рисунке 9.1. Участок относится к классу П-IIа в соответствии с Правилами устройства электроустановок (ПУЭ).

Рисунок 9.1 - Электрическая схема пятипроводной сети на участке

Нулевой рабочий проводник N служит для питания светильников в помещении.

Над каждым станком вывешены их названия и характеристики, а так же таблички с номинальным напряжением (рисунок 9.2)

Рисунок 9.2 - Табличка «Напряжение 380 В»

Станки и пылеуловители относятся к I классу защиты согласно ГОСТ 12.2.007.0-75 «ССБТ. Изделия электротехнические. Общие требования безопасности», т.к. имеют рабочую изоляцию и элемент для заземления. Провод, присоединяющий оборудование к источнику питания имеет заземляющую жилу и вилку с заземляющим контактом.

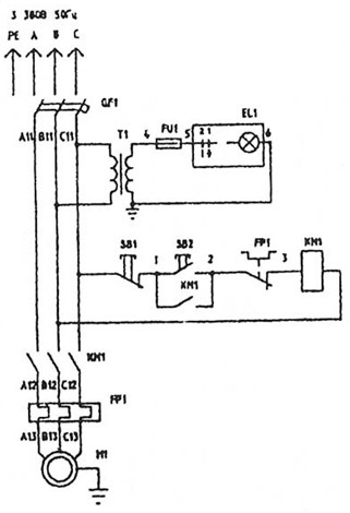
Электрическая схема станков ТШ-1 и ТШ-2 представлена на рисунке 9.3.

Рисунок 9.3 - Электрическая схема станков ТШ-1 и ТШ-2

Основной причиной поражения работников электрическим током является касание корпуса станка, находящегося под напряжением вследствие нарушения изоляции проводки. Воздействие тока на организм зависит от электрического сопротивления тела человека. Оно варьируется в диапазоне от 1000 до 100000 Ом. В расчетах всегда принимается минимальное 1000 Ом.

Действие тока на человека отражено в таблице 9.1.

Таблица 9.1 - Действие тока на человека в зависимости от его силы

Сила тока, мА

Действие

0,6 - 1,5

Порогово-ощутимый

10 - 15

Неотпускающий

50

Повреждение внутренних органов

100

Остановка сердца


Как видно, при касании токоведущей части в таких условиях ток будет смертельным, поэтому необходимо принять все возможные меры для защиты работников от его воздействия.

Согласно ПУЭ токоведущие части электроустановки не должны быть доступны для случайного прикосновения, а доступные прикосновению открытые и сторонние проводящие части не должны находиться под напряжением, представляющим опасность поражения электрическим током в нормальном режиме работы электроустановки, а также при повреждении изоляции.

Поражение человека электрическим током возможно при его контакте с нетоковедущими частями станка, оказавшимися под напряжением в результате нарушения изоляции. В этом случае снизить ток, протекающий через тело человека можно либо за счет увеличения электрического сопротивления цепи (применение СИЗ и СКЗ), либо за счет уменьшения потенциала корпуса и увеличения потенциала земли, т.к. напряжение прикосновения равняется:


Для защиты от поражения электрическим током на участке заточки применяются следующие технические меры защиты:

электрическая изоляция;

контроль и профилактика повреждения изоляции;

защита от случайного прикосновения к токоведущим частям;

защитное заземление, зануление и защитное отключение;

применение индивидуальных защитных средств.

Защита от случайного прикосновения к токоведущим частям практически во всех электрических сетях до 1000 В обеспечивается изоляцией.

Сопротивление изоляции каждого ее участка не допускается менее 0,5 МОм на фазу. Испытания изоляции проводятся в соответствии с Правилами технической эксплуатации электроустановок потребителей. Их осуществляют не менее двух работников повышенным напряжением сети. Результаты испытания повышенным напряжением считаются удовлетворительными, если при приложении полного испытательного напряжения не наблюдалось скользящих разрядов, толчков тока утечки или плавного нарастания тока утечки, пробоев или перекрытий изоляции, и если сопротивление изоляции, измеренное мегаомметром, после испытания осталось прежним.

Если характеристики изоляции резко ухудшились или близки к браковочной норме, то выясняется причина ухудшения изоляции и принимаются меры к ее устранению. Если дефект изоляции не выявлен или не устранен, то сроки последующих измерений и испытаний устанавливаются начальником цеха с учетом состояния и режима работы изоляции [14].

Для дополнительной защиты от прямого прикосновения в электроустановках напряжением до 1 кВ согласно требованиям ПУЭ используется защитное автоматическое отключение питания.

Защитное автоматическое отключение питания осуществляется посредством автоматического размыкания цепи или нескольких фазных проводников. Характеристики защитных аппаратов автоматического отключения и параметры защитных проводников должны быть согласованы, чтобы обеспечивалось нормированное время отключения поврежденной цепи защитно-коммутационным аппаратом в соответствии с номинальным напряжением питающей сети. В электроустановках, где применено автоматическое отключение питания, выполняют уравнивание потенциалов для снижения напряжения прикосновения до отключения подачи тока.

На участке заточки применяются дифференциальные автоматические выключатели (ДАВ). Схема дифференциального автомата основана на защите цепей от коротких замыканий и перегрузок, а также защита людей от поражения электрическим током при касании к токоведущим частям (рисунок 9.4).

ДАВ состоит из быстродействующего автоматического выключателя и устройства защитного отключения, который реагирует на разность токов в прямом и обратном направлениях.

Если изоляция электропроводки не повреждена и отсутствует касание человека к токоведущим частям, значит в сети отсутствует ток утечки. Значит токи в прямом и обратном проводниках нагрузки равны. Эти токи наводят в магнитном сердечнике трансформатора тока ДАВ равные, но встречно направленные магнитные потоки. В результате чего ток во вторичной обмотке равен нулю и не вызывает срабатывание чувствительного элемента - магнитоэлектрической защелки.

Рисунок 9.4 - Схема работы ДАВ

При возникновении утечки, например: при прикосновении человека к фазному проводнику, баланс токов и магнитных потоков нарушается, во вторичной обмотке появляется ток небаланса, который вызывает срабатывание магнитоэлектрической защелки, воздействующей в свою очередь на механизм расцепителя автомата с контактной системой.

Для осуществления периодического контроля работоспособности ДАВ предусмотрена цепь тестирования. При нажатии кнопки "Тест" искусственно создается отключающий дифференциальный ток. Срабатывание аппаратов защиты означает, что оно в целом исправно [15].

Принцип защитного заземления основан на выравнивании потенциалов корпуса станка и земли для уменьшения напряжения прикосновения. Защитное заземление на заточных станках осуществляется посредством заземляющих болтов. Они соединяют заземляющий провод, идущий к магистрали заземления, с корпусом станка. Схема заземления в сети с изолированной нейтралью приведена на рисунке 9.5.

При хорошей изоляции сопротивление фаз равно 40000 Ом, поэтому ток Iз будет безопасным для человека.

В соответствии с ГОСТ 12.2.007.0-75 заземляющий болт выполняется из металла, стойкого в отношении коррозии, или покрыт металлом, предохраняющим его от коррозии, и контактная часть не должна иметь поверхностной окраски. Возле болта наносится нестираемый при эксплуатации знак заземления, который изображен на рисунке 9.6.

- заземленное оборудование; 2 - заземлитель; Iз - ток замыкания на землю; Z1, Z2, Z3 - сопротивления фаз; rз - сопротивление защитного заземления.

Рисунок 9.5 - Принципиальная схема защитного заземления в сети с изолированной нейтралью

Рисунок 9.6 - Знак «Заземление»

Болт изготавливается по ГОСТ 21120-75 «Зажимы электротехнические. Зажимы заземляющие и знаки заземления. Конструкция и размеры». Общий вид заземляющего болта изображен на рисунке 9.7.