Материал: Углеродные наноматериалы, производство, свойства, применение (Мищенко), 2008, c.172

Внимание! Если размещение файла нарушает Ваши авторские права, то обязательно сообщите нам

 

А-70

 

 

 

 

 

 

 

 

 

 

8

Бензин А-70 + + 1,3 %

79,9

76,6

8,1

5,8

 

N-метиланилина

 

 

 

 

 

Бензин А-70 + + 1,3 %

 

 

 

 

9

N-метиланилина ++

81,2

77,8

9,4

7

 

0,002 % "Таунита"

 

 

 

 

 

 

 

 

 

 

ГОСТ 511 и ГОСТ 8226 соответственно для определений октановых чисел по моторному и исследовательскому методам, с использованием бензинов Регуляр-92 и Нормаль-80 Рязанского НПЗ и прямогонно-

го А-70.

По результатам полученных данных (табл. 6.8) можно сделать следующие выводы: применение УНМ "Таунит" повышает эффек-тивность октаноповышающего воздействия N-метиланилина в высокооктановых бензинах на 0,3…0,4 ед., бензинах марок А-76 и А-70 на 0,5…1,4 ед.

Эффект повышения антидетонационного воздействия наноуглерода можно объяснить координирующим воздействием нанотрубок углерода для углеводородных соединений легких фракций, которые наиболее реакционно-активны и формируют детонационные свойства бензинов. Собираясь в жидкокристаллические агрегаты на основе наноуглерода, такие соединения теряют свою реакционную способность и становятся более детонационно-устойчивыми.

6.7. ПРИСАДКИ К МОТОРНЫМ МАСЛАМ

Присадка к моторным маслам на основе наноуглерода обладает ярко выраженными ремонтно-восстановительными свойствами, усиливает моюще-диспергирующие свойства работающего масла, повышает антифрикционные свойства. Способствует повышению подвижности поршневых колец, нормализации работы гидрокомпенсаторов, улучшению теплоотвода и циркуляции масла в двигателе. Снижает токсичность отработавших газов двигателя. Но из-за процесса коагуляции наноуглерода в процессе работы двигателя образуются крупнодисперсные частицы графита, которые улавливаются системой очистки масла.

Для получения минерального масла, не уступающего по своим эксплуатационным характеристикам базовым синтетическим маслам разработана многофункциональная присадка на основе наноуглерода "Таунит", наноструктурированных металлов переменной валентности, оксидов и материалов IV – VIII групп периодической таблицы Менделеева, позволяющая заменить ряд присадок, каждая из которых выполняет лишь одну защитную функцию. Это важно, так как различные присадки могут взаимодействовать друг с другом в условиях высоких температур и механических нагрузок.

Оценку антифрикционных свойств новой присадки к маслам проводили на машине трения универсальной МТУ-1, позволяющей оценить коэффициент внешнего трения масла.

Было установлено, что при введении в минеральное индустриальное масло 0,5 % многофункциональной присадки на основе УНМ "Таунит" коэффициент трения снизился в 1,4 – 1,8 раза.

Оценку ремонтно-восстановительных свойств проводили на двигателе ВАЗ-2103 с пробегом 96 тыс. км, измерением компрессии в цилиндрах двигателя до и после введения присадки.

Установлено, что использование минерального масла с 0,5 % многофункциональной присадкой на основе УНМ "Таунит" повышает компрессионные свойства с 8,5…9,5 до 11…11,5.

Моющие свойства новой присадки оценивались визуальным осмотром деталей системы газораспределения двигателя ВАЗ-2103 до использования минерального масла с присадкой и после 1,5 тыс. км пробега автомобиля.

Установлено, что использование минерального масла с 0,5 % многофункциональной присадкой на основе УНМ "Таунит" полностью устраняет следы смолоотложения с элементов системы газораспределения.

6.8. АДСОРБЕНТЫ ВОДОРОДА

Сорбционная способность УНТ связана в первую очередь с морфологическими особенностями их строения – наличием внутренних полостей и межслоевых пространств, сростков нанотруб, устойчивых агломератов, а также достаточно большой удельной поверхностью для МУНТ до 200 м2 /см3.

Несмотря на то, что УНТ способны активно поглощать целый спектр различных газов (СО, СО2, СхНу, NO, NO2, CF4 и др.), с практической точки зрения наибольший интерес представляет их сорбционная способность по отношению к водороду.

Высокая удельная поверхность УНТ, возможность заполнения внутренней полости и способность обратимо сорбировать газы привели к росту числа работ, направленных на создание аккумуляторов H2 и повышение их емкости [23, 24].

Интерес к использованию УНТ для хранения водорода возрос после опубликования первых экспериментальных данных [25], где говорится, что ОУНТ диаметром 1,2 нм при –140 ° С и давлении 40 кПа сорбируют Н2 в количестве 5…10 мас. % или 20 кг/м3. Данные являются экстраполяцией образца, содержащего 0,1 мас. % УНТ, на УНТ чистотой 99 %, и поэтому их трудно признать точными.

В работе [26] показано, что специально обработанные (отжиг 2 ч при 773 К) УНТ диаметром 1,85 нм могут хранить при комнатной температуре и давлении 10 МПа до 4,2 % Н2 от своей массы (атомное отношение Н : С = 0,52), причем около 80 % Н2 может быть выделено при атмосферном давлении и комнатной температуре, а остальное при нагревании. По оценкам авторов, изучаемые образцы углеродных материалов содержали только 50…60 % УНТ, так что очистка должна привести к заметному повышению емкости.

Теоретические расчеты максимально возможного содержания Н2 в сростках УНТ различных диаметров, которые представлены в [27], показывают, что сорбционная емкость НТ по Н2 увеличивается с увеличением их диаметра. Так, сростки УНТ диаметром 0,4 нм способны сорбировать до 3,3 мас. % водорода, а диаметром 10 нм – до 21,3 мас. %. Необходимая для использования НТ как аккумуляторов Н2 в автомобильной промышленности емкость (6,5 мас. %) может быть достигнута уже при диаметре УНТ, равном 2,1 нм.

Сорбционная емкость УНТ по Н2 повышается и при их легировании щелочными металлами. Сенсацию вызвало сообщение о 20 %-ном насыщении водородом МУНТ, легированных литием, и 14 %-ном – легированных калием [28]. Следует отметить, что результаты этой работы вызвали определенные сомнения и пока не были подтверждены.

Крайне заманчивая перспектива создания аккумуляторов водорода на базе УНТ более десяти лет активно обсуждается и исследуется учеными многих стран. К сожалению, это тот случай, когда количество разработок никак не трансформируется в их качество. Полученные данные настолько противоречивы (от 20 и даже 50 % мас. Н2 до 1…2 %) [17], что появляется предположение, что ряд из них выдают желаемое за действительность. Подтверждение этому – отсутствие реально осуществленных аккумулирующих устройств, внедренных в практику.

Негативное отношение к принципиальной возможности создания эффективного аккумулятора Н2 на базе УНТ основывается на следующих рассуждениях [17].

Равновесное давление Н2 над различными углеродными материалами, включая ОУНТ, активированный уголь и углеродные волокна, описывается уравнением:

Р = СТ0,5ехр(− Надс / ) ,

где С – постоянная; Т – температура; Надс − теплота адсорбции (5,0 ±± 0,5 кДж/моль); k – постоянная Больцмана. Емкость по Н2, как показано, линейно зависит от удельной поверхности углеродного материала и при криогенных температурах (77 К) составляет лишь 1,5 мас. % на 1000 м2 /г. Удельная поверхность идеальных ОУНТ равна всего 1315 м2 /г. Даже если трубки являются открытыми, их удельная поверхность составляет 2630 м2 /г, а рассчитанная предельная емкость – менее 4 мас. % при 77 К. При комнатной температуре эта величина во много раз ниже.

На основании материала, приведенного в [29], у нас возникают сомнения в справедливости приведенного выше уравнения.

Следует напомнить, что начальная емкость, которая поставлена в качестве цели перед разработчиками аккумуляторов Н2 , составляет 6…6,5 мас. %.

Мерный

цилиндр

Тензодатчик

ПМТ-2 В3

В1

 

В2

 

В4

Резервуар

НАСОС

ВАКУУМ-

Термопара

Водород

Рис. 6.26. Принципиальная схема установки для исследования адсорбции:

В1, В2, В3, В4 – газовые вентили; ПМТ-2 – термопарный вакуумметр

Измерения сорбционной емкости УНМ "Таунит" проводили на экспериментальной установке, принципиальная схема которой показана на рис. 6.26.

Из каждой серии образцов УНМ отбиралось по три пробы массой » 1 г. Каждую пробу загружали в измерительную ячейку и вакуумировали до 10–2 мм рт. ст. Дегазацию пробы проводили при 573 К и давлении 10–2 мм рт. ст. в течение 3 часов. Затем в систему напускали водород марки "А", 99.99 % (ТУ 252-001–93). Насыщение образца проводили в течение 12 часов при температуре 298 К. После насыщения измеряли объем выпущенного из ячейки газа, вытесняя воду из мерного цилиндра. Затем процедуру повторяли снова, начиная с дегазации образца без вскрытия ячейки. Давление насыщения ступенчато уменьшалось от опыта к опыту с шагом 1…3 МПа, начиная с 8 МПа.

Давление в ячейке измеряли тензоэлектрическим датчиком "Метран-100-ДИ-1161" с диапазоном измерений 1…16 МПа и точностью ± 0,1 % от верхнего предела измерений. Объем ячейки Vс = 41,7 мл определяли измерением количества жидкости (этиловый спирт и ацетон), необходимой для ее заполнения с помощью бюретки объемом 50 мл с точностью ± 0,1 мл. Объем калиброванного мерного цилиндра составлял 2 л, точность определения объема ± 8 мл. Точность измерения температуры ртутным термометром TЛ-20 (ГОСТ 16590–71) равнялась ± 0,1 °С.

Количество адсорбированного водорода па определяли как разность между количеством газа nс, выпущенным из ячейки, и количеством n, рассчитанным по уравнению состояния Ван-дер-Ваальса:

 

2

 

 

p +

n a

 

(V nb) = nRT ,

 

 

 

V

2

 

 

 

 

 

 

 

где р – давление газа в ячейке, Па; V = Vc

Vп

объем, занимаемый газом, определяемый как разность

между объемом ячейки Vc и объемом пробы УНМ Vп, м3; а = 0,02453 Па×м6 × моль–2 ; b = 2,651×10–5 м3 ×моль–1 ; R = 8,314 Дж×моль–1 ×К–1 универсальная газовая постоянная; Т – температура, К; n – количество газа в ячейке, моль.

В результате испытаний установлено, что УНМ, имеющий высокую степень очистки (не менее 95 %) и состоящий из однородных по геометрическим размерам МУНТ (40 ± 60 нм), имеет обратимую сорбционную емкость на уровне 4,8 % (мас.).

Проверка воспроизводимости экспериментальных данных по сорбции водорода по результатам опытов на трех пробах из каждой серии образцов УНМ показала, что среднеквадратичная ошибка измерений не превышает 0,1 мас. %.

Основными источниками погрешностей при использовании данной методики являются ошибки измерения давления р и температуры Т, объема ячейки и объема выпущенного газа. Погрешностью при определении объема пробы V < 0,01 мл пренебрегали, так как она в 10 раз меньше точности определения объема ячейки. В результате экспериментально полученное количество адсорбированного водорода определяется с точностью

na = (nm ± DnV )- (n ± Dn) ,

где nV < 0,0005 моль точность определения объема выпущенного газа с помощью мерного цилиндра; n = f (p ± р, V ± V, Т ± T) точность определения количества водорода в ячейке по уравнению состояния Ван-дер-Ваальса.

Количество растворенного в воде водорода за время проведения измерения (60 с) считали пренебрежимо малым, так как растворение лимитируется диффузией Н2 в воде с коэффициентом D ≈ 10–9 м2 /с (при Т ≈ 300 К). Используя первый закон Фика, можно оценить количество водорода, которое диффундирует через площадку диаметром 0,1 м с линейным градиентом концентрации водорода 200 моль/м+4 за время порядка одной минуты. Эта величина не превышает 10–7 моль, что значительно меньше других погрешностей.

Предельная абсолютная погрешность n, связанная с точностью измерения температуры Т, давления водорода р и объема V ячейки, определяли выражением:

 

n

 

 

n

 

n

 

 

 

 

 

DV +

 

DT .

Dn =

 

Dp +

 

 

 

p

 

V

 

T

Зависимость поглощенного количества газа (в весовых процентах) ω от давления р:

w =

 

ma

×100 % ,

 

m + ma

 

 

 

где m – масса углерода в исследуемой пробе,

г; та = na M Н2 ; M Н2 – молярная масса водорода, г / моль.

Дифференцируя по переменной ma , получим выражение для расчета предельной абсолютной погрешности в весовых процентах:

Dw = ( m )2 (DnV + Dn)M H2 . m + ma

В результате проведенных расчетов величина ошибки измерения для найденных количеств адсорбированного водорода та колеблется в интервале от +0,5 мас. % для давления насыщения порядка 0,1 МПа до +0,7 мас. % для давления 8 МПа.

Таким образом было установлено достаточно обнадеживающее для возможности дальнейшего использования на практике значение сорбционной емкости Н2 УНМ "Таунит": 4,8 ± 0,7 %.

Чем же можно объяснить такой достаточно высокий результат? Повидимому, причина кроется в первую очередь в структуре УНМ "Таунит". Как показали результаты диагностики, структура данных МУНТ представляет собой пакетированные нанотрубки с преимущественно конической формой графеновых слоев. В отличие от МУНТ, построенных по принципу "русская матрешка", в которых проникновение в межслоевое пространство может происходить только с торцевых поверхностей, с которых еще надо снять "колпачок", у УНТ "Таунит" сорбция Н2 может активно протекать и с образующей цилиндрической поверхности трубки. Межслойное расстояние 0,34 нм не препятствует проникновению Н2 и вместе с тем позволяет за счет естественных дефектов графеновых слоев зафиксировать молекулы Н2 в теле нанотрубки.

Если к этому добавить возможность повысить сорбционную емкость данного УНМ за счет: химического или механического активирования; проведения легирования трубок щелочными металлами или введения в них MgO, KNO3 , NiNO3; исследования нанотрубок с оптимальной морфологией путем синтеза УНМ большего диаметра (60…100 нм) и др., можно рассчитывать, что минимальный уровень в 6…6,5 мас. % будет преодолен.

Добавляют оптимизма работы отечественных разработчиков, которые доказали, что имея сравнительно небольшую предельную поверхность (меньше 200 м2 /г), пиролитические МУНТ лучше сорбируют Н2, чем активированный углерод с поверхностью 3000 м2 /г [30]. Доказано [31], что емкость УНТ по Н2 может быть повышена путем закаливания насыщенных образцов.

Таким образом, создание аккумуляторов Н2 на базе МУНТ представляется вполне реальным уже в ближайшие годы.

6.9. НАНОМОДИФИЦИРОВАННЫЕ МЕМБРАНЫ

Для очистки жидкостей и, в особенности, питьевой воды широко применяются различные сорбенты и мембранные фильтры. Повышению эффективности использования этих материалов могут спо-

собствовать углеродные наноструктурные образования, обладающие высокой удельной поверхностью, капиллярными свойствами, избирательной сорбирующей способностью. К настоящему времени появились работы, в которых сделаны попытки использования УНМ в целях модифицирования известных мембранных элементов и создания принципиально новых фильтровальных материалов.

В работе [32] описан способ получения градиентно-пористой структуры путем синтеза упорядоченного слоя волокнистого наноуглерода на поверхности кремниевой мембраны. Толщина слоя УНМ из нановолокон (d = 30…150 нм) и нанотрубок (d = 20…50 нм) составила 0,1…0,4 мкм, удельная поверхность ≈ 100 м2 / г. Установлено существенное (в 4 раза) снижение поверхностного сопротивления пористой структуры и значительное увеличение удельной поверхности макро-пористой структуры кремниевой матрицы. Интересны результаты внедрения углеродных нановолокон (d < 100 нм) в полимерную структуру мембран PTMSP [33]. Внесение в материал мембраны менее 10 % УНВ увеличило газопроницаемость для углеводородов в 2 – 3 раза, значительно (в 3 раза) увеличилась селективность мембраны. По-видимому, авторам удалось за счет сравнительно небольшого количества внесенных в полимерную матрицу УНВ обеспечить образование перколяционного кластера, что вызвало интенсивное изменение свойств мембраны.

Проведенные исследования ставили своей целью модификацию обратноосмотических полимерных мембран МГА-95 (пористые полимерные полупрозрачные пленки на основе ацетата целлюлозы на подложке из нетканого полипропилена) и ESPA (энергосберегающий полиамид – Energy Saving Poly Amide) путем внедрения в данный материал УНМ "Таунит". Мембраны используются для очистки, в основном, солоноватых вод, получения бутилированной воды и в других высокопроизводительных установках.

На образцы мембран, представляющие собой прямоугольные пластины (120 × 65 мм), намывали слой УНМ "Таунит" путем обработки в суспензии (0,2 г УНМ / 150 мл дистиллята). Затем образцы высушивались при 40 °С в течение 60 минут и механически закреплялись в активном слое мембран. Масса УНМ в одном образце составляла ≈ 1,1 г.

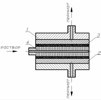
Фильтрующие характеристики модифицированных мембран оценивались в экспериментальном модуле, состоящем из двух фланцев, выполненных из диэлектрического материала 1. На одном из фланцев располагался катод, выполненный из пористого проката марки стали Х18Н15-ПМ с пористостью 20…45 %, на котором размещали подложку (ватман) 2. На подложке размещалась прикатодная ацетатцеллюлозная мембрана МГА-95 или мембрана ESPA 3. На другом фланце размещали подложку (ватман), на которой затем размещали прианодную мембрану типа МГА-95 или ESPA. Мембраны разделяла перфорированная решетка 4. Схема модуля показана на рис. 6.27.

Рис. 6.27. Плоскокамерный экспериментальный модуль