Материал: Углеродные наноматериалы, производство, свойства, применение (Мищенко), 2008, c.172

Внимание! Если размещение файла нарушает Ваши авторские права, то обязательно сообщите нам

2.2. РЕАКТОРЫ С ВИБРООЖИЖЕННЫМ СЛОЕМ КАТАЛИЗАТОРА

Максимальную площадь контакта фаз в системе газ– твердое обеспечивают аппараты с ожиженным слоем. Для мелкодисперсного катализатора наиболее приемлемым способом ожижения может оказаться виброожижение, которое практически исключает унос. Реактор с виброожиженным слоем описан в работе [17].

Реакция разложения углеводородов является эндотермической. По этой причине практическая реализация предлагаемого процесса в крупном масштабе связана с решением проблемы равномерного подвода в реактор большого количества тепла. Это может быть реализовано в аппарате с виброожиженным слоем катализатора (рис. 2.22).

Реактор состоит из корпуса 1, в котором содержится слой катализатора 2, узла подачи реагента 3, отводящего патрубка 4 и нагревателя 5. Слой катализатора в реакторе виброожижается с помощью вибропривода 6, подключенного к корпусу реактора.

В реактор диаметром 30 мм засыпалось 0,1 г гранулированного катализатора с размером частиц 0,2…0,5 мм, состоящего из 87 мас. % никеля, 3 мас. % меди и 10 мас. % оксида алюминия и содержащего в своем составе медь и никель в виде кристаллов медно-никелевых сплавов размером 5…160 нм. С помощью вибропривода катализатор приводился в виброожиженное состояние. Нагревателем температура катализатора доводилась до 550 °С, затем в виброожиженный слой катализатора подавался метан, который, проходя через слой катализатора, разлагался на углерод волокнистой структуры и водород. Расход метана поддерживался таким, чтобы обеспечивалось время контакта (в расчета на объем катализатора) реагента и катализатора, равное 0,03 с. Образовавшийся углерод оставался на катализаторе и полностью удерживался в реакторе. Процесс проводился до полной дезактивации катализатора.

Для предотвращения агломерации в работе [18] предложено в слой мелкодисперсного катализатора на основе никеля добавлять инертный материал. При этом массовое отношение инертного материала к катализатору составляет не менее 15 %.

Втом же патенте представлена схема установки для получения углеродного материала в аппарате с виброприводом. Реактор (рис. 2.23) состоит из корпуса 1, в котором помещен слой катализатора 2, газораспределительной решетки 3, отводящего патрубка 4 и нагревателя 5. Слой катализатора в реакторе виброожижается с помощью вибратора 6, подключенного к корпусу реактора. Вибрация осуществляется в вертикальном направлении с амплитудой 0,5 мм и частотой 50 Гц.

Вкачестве нагревателя используется электронагреватель. В качестве вибратора – электромагнитный вибратор. Газораспределительная решетка выполнена из пористой меди.

При синтезе углеродного материала в реактор 1 засыпают слой гранулированного катализатора и инертного материала (углерода или оксида алюминия). Под газораспределительную решетку 3 подают углеводородсодержащий газ. Слой катализатора и инертного материала виброожижают с помощью вибратора 6, подключенного к корпусу реактора. Наличие инертного материала препятствует агломерации катализатора и его быстрой дезактивации.

К существенному недостатку такой конструкции следует отнести возможность забивания пористой перегородки мелкодисперсным катализатором и углеродным продуктом.

6

CH4 + H2

1

4

5

3

2

CH4

Рис. 2.23. Схема реактора с виброожиженным слоем катализатора:

1 – корпус; 2 – слой катализатора; 3 – газораспределительная решетка; 4 – отводящий патрубок; 5 – нагреватель; 6 – вибратор

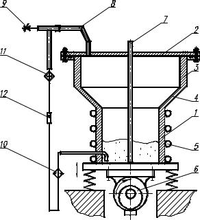
В патенте на полезную модель [19] представлен вариант реактора с виброожиженным слоем, имеющий рециркуляционный газовый контур (рис. 2.24).

Корпус 1 снабжен верхней обечайкой 3, конической переходной вставкой 4 и закрыт крышкой 2. На внешней стороне корпуса 1 установлен нагреватель 5. Корпус 1 прикреплен к виброприводу 6. В крышке 2 установлен патрубок подачи исходного газа 7 и рециркуляционный контур 8, соединяющийся с нижней частью корпуса 1. В рециркуляционном контуре 8 установлено дросселирующее устройство 9 и подогреватель газа 10. В рециркуляционном контуре 8 могут быть дополнительно установлены холодильник 11 и измеритель расхода 12.

 

Рис. 2.24. Виброреактор с рециркуляционным контуром:

1

корпус; 2 – крышка; 3 – верхняя обечайка; 4 – коническая вставка;

5

нагреватель; 6 – вибропривод; 7

патрубок подачи исходного газа;

 

8 – рециркуляционный контур; 9

дросселирующее устройство;

10 – подогреватель газа; 11 – холодильник; 12 – расходомер

Воснове работы устройства лежит принцип действия, описанный в открытии, внесенном в Государственный реестр открытий СССР под № 138 с приоритетом от 4 июня 1963 г., которое формулируется так: "Экспериментально установлено неизвестное ранее явление возникновения статического перепада давления газа в виброкипящем слое, т.е. в слое, образованном

врезультате циклического изменения пористости дисперсного материала, подвергаемого вертикальному вибрационному воздействию с ускорением, превышающим ускорение свободного падения материала в данной среде".

Устройство для получения углеродного материала работает следующим образом. В корпус 1 помещается слой катализатора, реактор с помощью крышки 2 герметизируется, включается нагреватель 5 и вибропривод 6. При достижении температуры внутри корпуса заданной величины через патрубок подачи исходного газа 7 подается исходный углеродсодержащий газ, который, попадая в слой катализатора, разлагается на углерод и водород. Попадая в верхнюю обечайку 3, частично прореагировавший газ теряет свою скорость, а частицы материала, подхваченные им, опускаются в виброожиженный слой. Частицы, оседающие на стенках, также возвращаются в слой, двигаясь по конической вставке 4. Отводимый газ попадает в рециркуляционный контур 8, часть которого через дросселирующее устройство 9 отправляется на утилизацию, а остальная часть возвращается в нижнюю часть корпуса 1, подогреваясь до температуры реакции в теплообменнике 10. Если в рециркуляционном контуре 8 установлен холодильник 11, то газ охлаждается, а холодильник 11 выполняет роль теплового насоса, поскольку установлен в нисходящей части контура, форсируя подачу газа через рециркуляционный контур. Расход газа в рециркуляционном контуре контролируется измерителем расхода газа 12, при этом измеритель расхода работает с охлажденным газом, что повышает его срок службы и точность измерения. Подогреватель газа 10, установленный в восходящей части рециркуляционного контура, нагревает газ до температуры реакции, после чего газ возвращается в реакционную зону.

Данное устройство для получения углеродного материала обладает простотой конструкции, повышенной надежностью, позволяет повысить производительность и получить углеродный материал высокой чистоты и однородности.

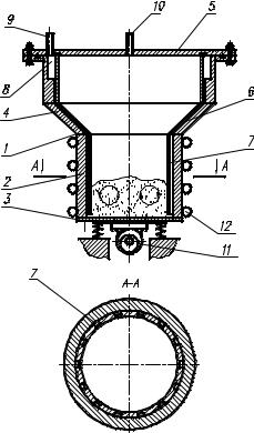
Впатенте на полезную модель [20] предлагается осуществлять подачу реагентного газа по продольным каналам в нижнюю часть реактора с виброожиженным слоем катализатора (рис. 2.25).

Реактор состоит из корпуса 1, выполненного в виде цилиндрической обечайки 2 и днища 3. Верхняя часть корпуса 1 снабжена коническим раструбом 4, верхняя часть которого примыкает к крышке 5. В корпусе 1 установлена обечайка 6, повторяющая конфигурацию конического раструба 4 и цилиндрической обечайки 2, в которой выполнены вертикальные каналы 7, перекрываемые корпусом 1. В верхней части корпуса 1 расположена расточка 8, перекрываемая обечайкой 6. Нижняя часть каналов 7 открыта вблизи днища 3. Крышка 5 снабжена патрубком подачи исходного газа 9, сообщающимся с коллектором 8, и патрубком отвода газообразных продуктов пиролиза 10. Корпус 1 установлен на виброприводе 11. С внешней стороны корпуса 1 установлен нагреватель 12. Днище 3 может быть выполнено в виде вогнутого диска.

Устройство работает следующим образом. В обечайку 2 корпуса 1 помещается слой катализатора, реактор с помощью крышки 5 герметизируется, включается нагреватель 12 и вибропривод 11. При достижении заданной температуры через патрубок подачи исходного газа 9 подается углеродсодержащий газ, который, попадая в кольцевую расточку 8, равномерно распределяется и проходит в каналы 7. В каналах 7

Рис. 2.25. Реактор с продольными каналами для подачи газа:

1 – корпус; 2 – цилиндрическая обечайка; 3 – днище; 4 – конический раструб; 5 – крышка; 6 – внутренняя обечайка; 7 – продольные каналы; 8 – распределительный коллектор; 9 – патрубок подачи газа; 10 – патрубок отвода продуктов пиролиза; 11 – вибропривод

исходный газ нагревается до температуры реакции и через их открытые части в придонной части корпуса 1 попадает в слой материала по периметру реактора, тем самым обеспечивая равномерное распределение газа в слое. Обечайка 6 препятствует попаданию газа внутрь реакционной зоны до его подогревания. При действии вибрации на реактор с плоским днищем 3 образуются циркуляционные контуры, материал в которых поднимается по центру аппарата и опускается вдоль стенок. Движущийся катализатор тем самым играет роль побудителя расхода газа – захватывает подающийся газ, увлекает его внутрь слоя и препятствуют проскоку газа вдоль стенок корпуса.

Попадая в конический раструб 4, уже прореагировавший газ теряет свою скорость, а частицы материала, подхваченные им, опускаются в виброожиженный слой. Прореагировавший газ отводится через патрубок 10. Выполнение днища 3 вогнутым обеспечивает торообразное перемещение зернистой загрузки и разрушение ядра ее сегрегации. Это обеспечивает контакт газа со всеми частицами продукта и увеличивает производительность реактора.

Оригинальная конструкция реактора с возможностью виброожижения слоя катализатора представлена в патенте [21]. Изобретение решает задачу повышения эффективности процесса получения углеродного материала за счет увеличения степени переработки углеводородов в углерод, снижения затрат, связанных с подводом тепла в реактор, и уменьшения вредных выбросов в атмосферу.

Установка (рис. 2.26) состоит из первого реактора 1 разложения, внутри которого помещен катализатор 2 разложения углеводородов и реактор 3 окисления водорода с катализатором 4 парциального окисления водорода. Реактор 3 обвивает трубка 5 предварительного нагрева свежего углеводорода. Внутри реактора 3 установлена трубка 6 подачи водородсодержащей газообразной смеси. Кроме того, в состав установки входят конденсатор 7, второй реактор 8 разложения углеводородов, мембранный насос 9 и вентили 10 19. В экспериментах осуществляли вибрацию реакторов 1 и 8 с помощью не указанных на схеме электромагнитных вибраторов с частотой 50 Гц и амплитудой 2,5 мм. Объем каждого реактора разложения был равен 200 см3. Диаметр реактора окисления 10 мм, а объем 30 см3.

Одним из возможных вариантов работы установки является следующий. На дно реактора 1 разложения углеводородов засыпают никельсодержащий катализатор 2. В реактор 3 окисления водорода помещают медно-хромовый катализатор парциального окисления водорода. Вентили 10 – 15 , 19 открываются, остальные – закрыты. Свежий метан с расходом 25 л/ч подают через вентиль 10 в трубку 5 предварительного нагрева свежего метана, где нагревают за счет контакта трубки с корпусом реактора 3 окисления водорода. Попадая на дно первого реактора разложения, метан поднимается вверх, контактируя с виброожиженым слоем катализатора 2 и разлагаясь на нем. При разложении углерод откладывается на катализаторе, а газообразные продукты реакции, проходя через вентиль 11, смешиваются с кислородом и по трубке 6 направляются в реактор 3 парциального окисления водорода. Поднимаясь вверх внутри корпуса реактора 3, газообразная смесь псевдоожижает частицы катализатора 4 парциального окисления, а водород, находящийся в смеси, окисляется до воды. После этого смесь направляется в конденсатор 7, где вода конденсируется и отделяется от метана. Метан через вентиль 14, 15 с помощью насоса 9 направляется снова в реактор 1 разложения.

Рис. 2.26. Установка с реакторами разложения углеводорода и парциального окисления водорода:

1 – реактор разложения углеводорода; 2 – катализатор синтеза углеродного материала; 3 – реактор парциального окисления водорода; 4 – катализатор окисления водорода; 5 – трубка подогрева углеводорода; 6 – трубка подачи водородсодержащей смеси и окислителя;

7 – конденсатор; 8 – второй реактор разложения углеводорода; 9 – мембранный насос; 10 – 19 – вентили

При данной схеме работы средний расход свежего метана составлял 4,5 л/ ч, расход кислорода 4,5 л/ ч, расход метана после мембранного насоса 20,5 л/ ч, средняя степень превращения метана в первом реакторе разложения 18 %. Температура виброожиженного слоя в первом реакторе разложения 550 °C, температура виброожиженного слоя в реакторе окисления водорода 650 °C. Выход углерода 141 г на 1 г катализатора разложения. Время работы до полной выработки катализатора разложения углеводородов 14,7 ч.

При проектировании реакторов синтеза УНМ в виброожиженном слое возникает необходимость исследовать физикомеханические свойства сыпучих реагентов, которые оказывают существенное влияние на характер вибрационного воздействия на реактор. К таким свойствам следует отнести насыпную плотность, истинную плотность, эквивалентный диаметр частиц, способность материала передавать вибрационное воздействие и т.п.

Задача осложняется тем, что в ходе процесса эти свойства значительно меняются из-за роста УНТ, вызывая необходимость регулирования, а иногда и изменения характера силового воздействия на реактор. Подача углеродсодержащего сырья в реактор также может вызывать нежелательные явления, например, создание неблагоприятной гидродинамической обстановки в аппарате и нарушение температурного режима в зоне реакции. С другой стороны, подача газообразного сырья позволяет снизить вибрационное воздействие на реактор вследствие создаваемой газом подъемной силы. При этом однородность слоя сохраняется.

Вариативность физико-механических свойств продуктов в ходе синтеза существенно затрудняет описание процессов, происходящих внутри реактора, формализованной математической моделью. Поэтому целесообразным представляется рассмотрение процесса, происходящего внутри реактора, в квазистационарном состоянии. Это позволяет рассчитать параметры оборудования в "критических" условиях, с тем, чтобы обеспечить нормальную гидродинамическую обстановку. Под нормальной гидродинамической обстановкой понимается обеспечение отсутствия уноса твердой фазы из зоны реакции и сохранение однородности ожиженного слоя, например, при минимальном эквивалентном диаметре частиц или в тот момент, когда скорость газа будет наибольшей. В этом случае выполнение необходимых режимов в "критических" ситуациях позволит с высокой долей гарантии работать в "штатных" режимах.

В ходе экспериментальных исследований были определены некоторые свойства (коэффициент поглощения энергии k, коэффициент изменения высоты слоя kH в зависимости от относительного ускорения вибрации j) УНМ "Таунит", позволившие при проектировании реакторов с виброожиженным слоем использовать достаточно простую и удобную методику расчета.

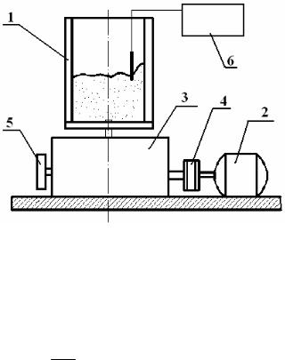
Коэффициент поглощения энергии k – способность слоя УНМ передавать вибрацию – определяли на экспериментальной установке (рис. 2.27).

Корпус ячейки 1 выполнен из органического стекла. Через днище корпус закрепляли на виброприводе, который обеспечивал гармонические колебания в вертикальном направлении. Вибропривод состоял из электродвигателя постоянного тока 2 и кривошипно-коромыслового механизма (ККМ) 3, соединенных с помощью ременной передачи 4. Возможность регулирования амплитуды колебаний обеспечивалась конструкцией ККМ. Контроль за амплитудой осуществляли индикатором часового типа ИЧ-10.

Рис. 2.27. Схема экспериментальной установки для определения коэффициента поглощения энергии

На выходном валу ККМ был установлен датчик импульсов 5, который подключался к электронному частотомеру ЧЗ-54, что позволяло контролировать частоту вибрации ω.

Интенсивность вибрации на свободной поверхности виброкипящего слоя измеряли с помощью модуля измерения вибрации ХМ-121 (поз. 6).

В первом опыте в ячейку засыпали УНМ, причем высоту слоя изменяли от 5 до 45 мм, далее измеряли относительное ускорение вибрации на открытой поверхности слоя jc с помощью модуля измерения вибрации, а относительное ускорение

вибрации вибропривода вычисляли как j = Aω2 . Значение амплитуды А = 0,7 мм в течение опыта не изменяли, а частоту g

вибрации ω варьировали путем повышения напряжения на обмотке электродвигателя постоянного тока. Режим работы вибропривода устанавливали таким образом, чтобы наблюдалось интенсивное перемешивание слоя материала и были ярко выражены установившиеся циркуляционные контуры. После этого вычисляли значение коэффициента поглощения энергии k из уравнения jc = j e. Результаты опыта представлены в табл. 2.1.

Во втором опыте УНМ были насыпаны в ячейку, так что высота слоя составляла 45 мм. Амплитуда вибрации корпуса ячейки А = 0,7 мм, частота ω = 78 Гц. С помощью модуля измерения вибрации относительное ускорение вибрации j измеряли в слое материала на различной высоте от дна ячейки. Результаты опыта представлены в табл. 2.2.

Для дальнейших расчетов приняли среднее значение k = 2,5 м–1 .

Таблица 2 . 1

H, 10–3 м

ω, Гц

j

jc

k, м–1

5

37

3,852581

3,8521

2,4967

 

 

 

 

 

10

40

4,225803

4,2247

2,6105

 

 

 

 

 

15

44

5,448208

5,4462

2,4574

 

 

 

 

 

20

47

6,216473

6,2134

2,4721

 

 

 

 

 

25

52

7,60948

7,6047

2,5137

 

 

 

 

 

30

59

9,79608

9,7887

2,5123

 

 

 

 

 

35

64

11,52679

11,5167

2,5014

 

 

 

 

 

40

70

13,78937

13,7756

2,4976

 

 

 

 

 

45

78

17,12133

17,1021

2,4975

 

 

 

 

 

Таблица 2 . 2

H, 10–3 м

j

jc

k, м–1

0

17,12133

17,12133

2,45

 

 

 

 

5

17,12133

17,11928

2,39

 

 

 

 

10

17,12133

17,11695

2,56

 

 

 

 

15

17,12133

17,11566

2,21

 

 

 

 

20

17,12133

17,11263

2,54

 

 

 

 

25

17,12133

17,11042

2,55

 

 

 

 

30

17,12133

17,10839

2,52

 

 

 

 

35

17,12133

17,10606

2,55