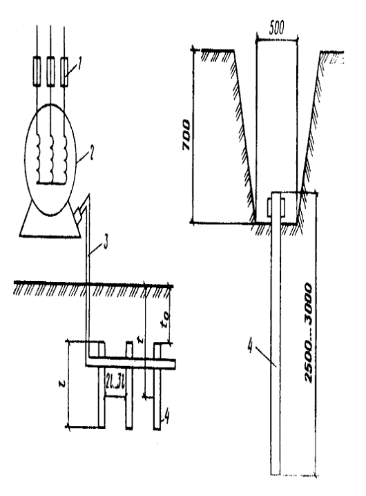
ПП - пробивной предохранитель; Rо - заземление нулевой точки трансформатора; Rз - заземляющее устройство; Rиз - сопротивление изоляции; Uпр - напряжение рикосновения; Iз - ток замыкания на землю; Iчел - ток, протекающий через человека; 1 - плавкие вставки; 2 - электродвигатель; 3 - график распределения потенциалов на поверхности земли.
Определение удельного сопротивления грунта
rрасч = r y = 100*1,7 = 170 Ом*м
Где y - коэффициент сезонности. Для I климатической зоны принимаем y = 1,7
Сопротивление одиночного вертикального заземлителя
Определение сопротивления одиночного вертикального заземлителя
Rв, Ом. В формуле t - расстояние от середины заземлителя до поверхности грунта, м; l и d - длина и диаметр заземлителя.
Сопротивление стальной полосы, соединяющей стержневые заземлители
В формуле l - длина полосы, м; t - расстояние от полосы до поверхности земли, м;d=0,5b (b - ширина полосы, равная 0,08м). Определяем расчетное удельное сопротивление грунта r’расч при использовании соединительной полосы в виде горизонтального злектрода, длиной 50м. При длине полосы 50м, y’=5,9
r’расч = r y’ = 100*5,9 = 590 Ом*м
Определяем ориентировочное число одиночных стержневых заземлителей.
Определяем
ориентировочное число n одиночных стержневых заземлителей. В формуле [rз] -
допустимое по нормам сопротивление заземляющего устройства, hВ - коэффициент использования вертикальных заземлителей (для
ориентировочного расчета примем равным 1)
n = RВ /
[rз] hВ = 48 / 4*1 = 12 шт
Принимаем расположение вертикальных заземлителей по контуру с расстоянием между смежными заземлителями равным 2l. Действительные значения коэффициента использования исходя из принятой схемы размещения вертикальных заземлителей будут равны hВ = 0,66 и hr = 0,39
Определяем необходимое число вертикальных заземлителей
n = RВ / [rз] hВ =
48 / 4*0,66 = 18 шт
Вычисляем общее расчетное сопротивление заземляющего устройства R с учетом соединительной полосы
Правильно расчитанное заземляющее устройство должно отвечать условию R =<[rз]
Расчёт
выполнен верно, т.к. 3,76 < 4
9.4 Экономическая оценка последствий
производственного травматизма и профзаболеваний
Тяжелые увечья людей на производстве, возникающие вследствие несчастных случаев, советское общество рассматривает как невосполнимые. Вместе с тем материальные последствия всех этих случаев на наших предприятиях всесторонне учитываются. В акте о несчастном случае на производстве по форме Н-1 п. 17 предусматривает учет этих потерь в следующем объеме: число дней нетрудоспособности; выплата по больничному листку; стоимость испорченного оборудования и инструмента, материалов и стоимость" разрушенных зданий и сооружений.
Перечисленный объем потерь включает в основном потери, вызванные
непосредственно несчастным случаем. В действительности эти потери значительнее.
Материальные потери (последствия), причиняемые обществу .из-за
нетрудоспособности работника в связи с травмой, слагаются из следующих затрат и
убытков: П1-выплата пострадавшему по листку нетрудоспособности; П2-размер
пенсии, назначенной пострадавшему в связи с травмой; П3-то же, близким
родственникам пострадавшего в связи с травмой; П4-выплаты пособий при временном
переводе работающих на другую работу в связи с травмой; П5-возмещение ущерба
работающим при частичной потере трудоспособности; П6-затраты предприятий на
профессиональную подготовку рабочих, принимаемых вместо выбывших в связи с
травмой; П7-другие потери, которые в большинстве случаев не учитываются, хотя
иногда они могут быть значительными. В итоге общие материальные потери, руб,
составят
Мп = П1+П2+П3+П4+П5+П6+П7
Укрупненный подсчет общих материальных потерь исходя из приведенной формулы определяется из зависимости
Мп=Дв З j
где Дв - потери рабочего времени у пострадавших с утратой трудоспособности на один и более рабочий день, временная нетрудоспособность которых закончилась в отчетном периоде (за исследуемый период времени), дн.; З-средняя дневная заработная плата одного работающего, руб.; j-коэффициент, учитывающий все элементы материальных затрат (выплаты по листкам нетрудоспособдости, пенсии и т. п.) по отношению к заработной плате (j=1,5.„2,0). Эффективность мероприятий по улучшению услоний и охраны труда. Прогнозирование уронил травматизма и профессиональных заболеваний.Оценку экономической эффективности мероприятий по охране труда, согласно “Определению эффективности мероприятий по улучшению условий труда”, проводят в следующих направлениях: определение материальных последствий -травматизма; затрат времени при введении мероприятий, улучшающих условия труда; сочетание предыдущих двух методов.
Например, рекомендуется подсчитывать годовую экономию от улучшения
условий труда (Эмп), достигнутую за счет сокращения потерь, связанных с
заболеванием, благодаря уменьшению затрат как по временной нетрудоспособности,
так и в связи со стойкой нетрудоспособностью по формуле
Эмп=Ад-Ап
где Ад и Ад-размеры потерь от временной нетрудоспособности до и после
внедрения мероприятий по улучшению условий труда. Общие потери от временной
нетрудоспособности составляют
A=ai(hi+Ni),
где ai --потери рабочего времени от временной нетрудоспособности, ди; hi - средняя дневная недовыработка продукции в i-м. году и расчете па одного работающего, руб.; Ni-средний дневной размер пособий по больничным листам, руб.
Сокращение затрат, вызванное стойкой утратой трудоспособности и
постоянным выбытием работников из производства, определяется по формуле
Эмп = Вд - Вп
где Вд и Вц-размеры потерь от стойкой нетрудоспособности до и после
улучшения условий труда. Общие потери от стойкой нетрудоспособности, приводящей
к постоянному выбыванию работников из производства, составляют
B = Lij (Hi + Wi + Ii + Zi),
где Lij - число лет (j), недоработанных до пенсионного возраста всеми лицами, выбывшими из производства в i-м году; Hi-средняя годовая выработка продукции на одного работающего в i-м году, руб.; Wi-средний годовой размер пенсии инвалидам труда в i-м году, руб.; Ii - средние годовые расходы на подготовку одного работника взамен выбывшего из производства, руб.; Zi-средний размер прочих затрат и доплат в связи со стойкой нетрудоспособностью и выбытием работника из производства, руб.
На современном уровне развития научно-технического прогресса прогнозирование в области науки, техники, отраслей народного хозяйства является обязательным условием. Прогнозирование же уровня травматизма и профессиональных заболеваний имеет целью определить дальнейшую тенденцию его изменения на основе значения этого уровня в прошлом и в настоящее время.
Это позволяет разрабатывать мероприятия, предупреждающие производственный
травматизм и профессиональные заболевания, и планировать финансирование этих
мероприятий. Для прогнозирования уровня травматизма и профзаболеваний как один
из вариантов можно применить метод наименьших квадратов. Предположим, что в
какой-то организации имеются статистические данные по травматизму или профессиональным
заболеваниям за ряд лет t1,
t2, …,tk. Известна также интенсивность
травматизма l1, l2, …, lк. Применив указанный метод, можно построить кривую l = y (t), по
которой определяют значение интенсивности травматизма в последующий период, т.
е., например, в момент времени t.
l = y (t).
По предполагаемому значению интенсивности травматизма можно определить
вероятность безопасной работы по экспоненте
Р* (t) = е-lt*
и сравнить ее с соответствующими вероятностями в последующие годы.
Мероприятия для дальнейшего снижения уровня травматизма или профессионального
заболевания необходимо разрабатывать, исходя из этой вероятности. Возможную
заболеваемость с временной утратой трудоспособности на 100 работающих при
вполне благоприятных условиях труда в днях прогнозируют по формуле
ВУТб = (2,42 4 - 0,167х) 100,
где х-средний возраст работающих, лет.
10. ДЕТАЛЬ ПРОЕКТА
Борьба со снегозаносимостью
В данном проекте встречаются участки с невысокими насыпями. С расширением сети автомобильных дорог в нашей стране и ежегодным увеличением объемов грузовых и пассажирских перевозок возрастают трудности в бесперебойном движении автодорожного транспорта в зимнее время.
Убытки простоя транспортных средств и снижение скорости их движения при снежных заносах исчисляются огромными убытками.
В борьбе со снежными заносами высокой эффективностью обладают
снегозадерживающие лесные полосы. Они значительно снижают затраты труда средств
на уборку снега с проезжей части дорог.
10.1 Определение годового расчетного
снегоприноса заданной обеспеченности
На основании сведений метеостанции по ветровому режиму и установленной
Мельником зависимости между осредненной интенсивностью горизонтального переноса
снега и скоростью ветра на высоте флюгера определяются объемы переносимого
снега. Эта зависимость выражается формулой:
где i - интенсивность горизонтального переноса снега, м3/пог.м-ч;
c - коэффициент пропорциональности, величина которого зависит от плотности снега в метелевых сугробах;-скорость ветра на высоте флюгера, м/с=0,00026 ·63 =0,056 м3/пог.м-ч.
Количество
переносимого снега (W) за время действия (t) метелевого ветра определенного
направления можно вычислить по формуле:
Практически,
для расчета снегоприноса из журналов наблюдений метеостанции выбирают сведения
по скорости и продолжительности ветров, менее чем за 10 идущих подряд зим, при
определенных погодных условиях (при температуре воздуха ниже 00, скорости ветра
на высоте флюгера V≥6 м/с и высоте снежного покрова не менее 10 см).
Таблица 10.1 Метереологические элементы зимы по наблюдениям метеостанции
|
Число месяца |
Среднесуточная тем-ра, 0С |
Направление и скорость ветра,м/с |
Высота снежного покрова, см |
|||||||
|
|
|
в часы наблюдений |
|
|||||||
|
|
|
0 |
3 |
6 |
12 |
15 |
18 |
21 |
|
|
|
8 |
-1,7 |
|
|
|
СВ-6 |
С-7 |
С-7 |
|
|
10 |
|
9 |
-5,0 |
|
С-4 |
СВ-6 |
СВ-6 |
СВ-6 |
СВ-5 |
|
|
12 |
|
12 |
-7,0 |
ЮВ-4 |
ЮВ-5 |
ЮВ-6 |
ЮВ-4 |
|
ЮВ-7 |
|
|
14 |
|
15 |
-7,4 |
|
ЮЗ-5 |
ЮЗ-7 |
ЮЗ-5 |
ЮЗ-4 |
|
|
|
15 |
|
22 |
-10,5 |
СЗ-5 |
СЗ-4 |
З-5 |
СЗ-4 |
СЗ-3 |
СЗ-6 |
|
|
15 |
|
28 |
-8,0 |
|
|
СВ-6 |
СВ-10 |
СЗ-15 |
СВ-15 |
СВ-10 |
|
19 |
Таблица 10.2 Повторяемость метелевых ветров по направлениям и скоростям в зиму
|
Скорость ветра м/с |
Случай повторяемости ветров (t) по направлениям |
|||||||
|
|
С |
СВ |
В |
ЮВ |
Ю |
ЮЗ |
З |
СЗ |
|
3 |
3 |
3 |
|
|
|
|
|
|
|
4 |
4 |
2 |
|
|
2 |
2 |
|
|
|
5 |
3 |
3 |
|
2 |
|
4 |
1 |
3 |
|
6 |
6 |
6 |
3 |
4 |
|
2 |
|
|
|
7 |
2 |
4 |
3 |
|
|
1 |
2 |
2 |
|
8 |
2 |
1 |
3 |
|
2 |
1 |
|
|
|
9 |
2 |
3 |
|
|
|
2 |
3 |
1 |
|
10 |
3 |
4 |
1 |
1 |
3 |
|
|
2 |
|
11 |
1 |
2 |
1 |
|
|
|
|
|
|
12 |
|
- |
- |
|
|
|
|
|
|
13 |
1 |
3 |
|
|
|
1 |
|
|
|
14 |
|
- |
|
|
|
|
|
|
|
15 |
1 |
1 |
|
|
|
1 |
|
2 |