Материал: Строительные машины (в вопросах и ответах)

Внимание! Если размещение файла нарушает Ваши авторские права, то обязательно сообщите нам

колесами, на которой смонтированы все узлы растворонасоса. Раствор в рабочую камеру с диафрагмой и обратными клапанами поступает снизу вверх (т.е. противоточно) из приемного бункера с процеживающим виброситом под действием вакуума, попеременно создаваемого при рабочем ходе плунжера. Возвратнопоступательное движение плунжеру сообщается от электродвигателя через клиноременную передачу, редуктор и кривошипношатунный механизм.

Промышленность выпускает растворонасосы производительностью 2,4 и 6 м3/ч. Основными недостатками диафрагменных насосов являются недолговечность резиновой диафрагмы, снижение подачи (производительности) насоса в результате неполного заполнения насосной камеры водой из-за ее утечек и испарения. Дальность подачи растворонасоса при максимальном рабочем давлении 1,5 мПа составляет по горизонтали 100…200 м, по вертикали 20…40 м.

Поршневые растворонасосы применяют для перекачивания растворов подвижностью не менее 5…7 см и крупностью фракции не более 5…12 мм. Перекачивание раствора осуществляется движущимся возвратно-поступательно поршнем, непосредственно воздействующим на раствор и осуществляющим его всасывание и нагнетание. Поршневые растворонасосы характеризуются независимостью подачи от развиваемого напора, хорошей всасывающей способностью и более высоким ресурсом цилиндропоршневой группы по сравнению с резиновой диафрагмой.

Производительность (подача) однопоршневых насосов 2…4 м3/ч, максимальное рабочее давление 1,5…3,5 мПа, дальность подачи по горизонтали 60…250 м, по вертикали 30…60 м. Для работы при давлениях более3,0 мПаприменяют дифференциальные растворонасосы.

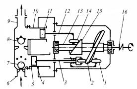
Дифференциальный растворонасос (рис. 140) обеспечивает вы-

сокую равномерность подачи раствора подвижностью не менее 5 см за счет попеременной работы поршней, движущихся в двух параллельных цилиндрах – основном и компенсационном. Причем длина хода основного поршня в два раза больше, чем у компенсационного. Штоки этих поршней кинематически связаны через ролики с кулач-

196

ками торцевого типа, расположенными на общем валу. Вращение валу с кулачками сообщается от электродвигателя через двухскоростную клиноременную передачу, редуктор и соединительную муфту. Растворонасос имеет двойную производительность (подачу) 2 и 4 м3/ч и перекачивает растворы на расстояние до 300 м по горизонтали и до 100 м по вертикали при максимальном рабочем давлении 4 мПа.

Рис. 140. Принципиальная схема дефференциального поршневого растворонасоса: 1 – ролики; 2 – кулачки торцевого типа; 3 – штоки; 4 – поршень; 5 – основной цилиндр; 6 – компенсационный цилиндр; 7 – всасывающий клапан; 8 – нагнетательный клапан; 9 – нагнетательный патрубок; 10 – компенсационный цилиндр; 11 – всасывающий поршень; 12 – шток; 13 – вал; 14 – ролики с кулачками торцевого типа; 15

кулачки торцевого типа; 16 – соединительная муфта

Техническая производительность (подача) поршневого растворонасоса (м3/ч)

Пт = 900πdп2 LпnпKн,

где dп – диаметр поршня, м; Lп – ход поршня, м;

nп – число двойных ходов поршня в секунду, равное частоте вращения коленчатого вала привода, с–1;

Kн – коэффициент объемного наполнения, оценивающий потери подачи растворонасоса.

197

Винтовые растворонасосы в отличие от поршневых не имеют клапанов и применяются для перекачивания штукатурных растворов на гипсовых вяжущих, гипсовых замазок, шпаклевок, паст, мастик и малярных составов различной вязкости. В качестве вытеснителя у таких насосов используется винт, вращающийся в неподвижной обойме.

Винтовые насосы характеризуются высокой равномерностью подачи, простотой конструкции и эксплуатации, компактностью и малой массой. Они развивают рабочее давление до 2 мПа и обеспечивают дальность подачи материала до 100 м по горизонтали и до 60 м по вертикали.

Штукатурные форсунки предназначены для нанесения на отделываемую поверхность штукатурных растворных смесей подвижностью не менее 7 см с фракцией заполнителя не более 5 мм и устанавливаются на свободном конце растворовода.

Форсунки представляют собой устройство с жестким или эластичным наконечником (соплом) для дробления струи раствора на отдельные мелкие частицы, придания ей необходимой формы и скорости в целях обеспечения плотного прилегания раствора к обрабатываемой поверхности. Форсунки изготовляют двух типов: ФШП – пневматического действия и ФШМ – механического действия (бескомпрессорные). В форсунках пневматического действия раствор дробится и выбрасывается из наконечника с большой скоростью сжатым воздухом, подаваемым из компрессора под давлением 0,2…0,6 мПа. В форсунках механического действия дробление и нанесение раствора осуществляется за счет использования кинематической энергии потока раствора, поступающего в форсунку под давлением, создаваемым растворонасосом.

Наибольшее распространение получили форсунки пневматического действия, которыми наносят штукатурные растворы подвижностью от 7 см и более. Различают форсунки пневматического действия с кольцевой и центральной подачей сжатого воздуха.

Скорость движения растворной смеси на выходе из сопла форсунки

198

vр = 2Pф ,

ρр

где Pф – перепад давления на входе и выходе из сопла форсунки,

Па, (Pф = 0,2…0,5 мПа);

ρр – плотность раствора, кг/м3.

Вфорсунках механического действия применяют щелевые сопла, формирующие плоский факел. Форсунками наносят штукатурные растворные смеси подвижностью от 9 см и более. Их выпускают двух видов – с регулируемой и нерегулируемой щелью (напором).

Штукатурные агрегаты, машины и установки предназначены для приема (или приготовления), переработки (перемешивания), подачи и нанесения на подготовленные поверхности штукатурных растворов и отделочных составов с помощью форсунок, сопел и насадок. Различают агрегаты типа АШ (агрегат штукатурный), работающие только

спривозным готовым штукатурным раствором, и агрегаты типа АШС (агрегат штукатурно-смесительный), в технологическую цепь которых включен цикличный растворосмеситель для приготовления штукатурного раствора непосредственно на объекте или перемешивания готового товарного раствора.

Производительность машин и агрегатов определяется производительностью базового растворонасоса.

Машины и установки для торкретирования применяют при от-

делке помещений и сооружений, подвергающихся сильному увлажнению. Их поверхности покрывают водонепроницаемым защитным слоем специальной торкретной штукатурки.

Торкретная штукатурка получается набрызгиванием (торкретированием) на поверхность цементно-песчаной и затворенной водой растворной или мелкозернистой бетонной смеси под давлением через сопло или штукатурную форсунку. Смесь, вылетающая из сопла,

ссилой ударяется о поверхность и покрывает ее плотным слоем, который после затвердевания приобретает водонепроницаемость и повышенную механическую прочность.

199

Различают сухое и мокрое торкретирование. При сухом торкретировании сухая торкретная смесь подается сжатым воздухом по шлангу к соплу, где затворяется водой, подводимой к соплу по водяному шлангу. При мокром торкретировании к штукатурной форсунке пневматического или механического действия подается под давлением готовая смесь. Струя смеси к торкретируемой поверхности направляется перпендикулярно. Во время работы сопло держат на расстоянии около 1 м от обрабатываемой поверхности, перемещая его по спирали. Торкретирование производят в два, три или четыре слоя толщиной по 10…20 мм, причем каждый последующий слой наносят только после схватывания предыдущего. Кстати, с помощью этой же установки производят также подготовку поверхности, подлежащей торкретированию. Сначала поверхность тщательно очищают от грязи и наплывов бетона сухим песком, а затем обдувают сжатым воздухом и промывают водой под давлением.

Штукатурные станции предназначены для осуществления высокопроизводительного комплексно-механизированного непрерывного процесса подачи и нанесения раствора. Основным параметром станций является производительность установленных на них растворонасосов.

Рис. 141. Двухдисковая штукатурно-затирочная машина: 1 – наружныйзатирочныйдиск; 2 – внутреннийзатирочный диск; 3 – двухступенчатый редуктор; 4 – электродвигатель

200