Материал: Строительные машины (в вопросах и ответах)

Внимание! Если размещение файла нарушает Ваши авторские права, то обязательно сообщите нам

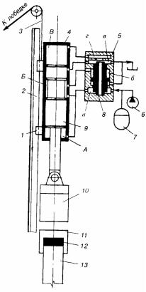
Рис. 122. Принципиальная схема свайного гидромолота: 1 – ролик; 2 – направляющая; 3 – канат; 4 – гидромолот; 5 – гидрораспределитель; 6 – насос; 7 – гидропневмоаккумулятор; 8 – золотник гидрораспределителя; 9 – боек; 10 – ударная часть; 11 – наголовник; 12 – демпфер; 13 – свая;

А, Б, В, а, б, в, г – полости

Для паровоздушных молотов η = 0,85…0,9; для штанговых ди- зель-молотов η = 0,35…0,4; для трубчатых дизель-молотов η = = 0,6…0,65; для гидравлических молотов η = 0,55…0,65.

Эффективность погружения сваи в грунт зависит от соотношения масс сваи mс и ударной части молота mм, частоты ударов молота nм

166

и скорости соударения vс ударной части молота с шаботом. Практически установлена необходимость соблюдения следующихусловий:

1)0,5 mс 2,5; mм

2)vс 6 м/с;

3)nм 30 мин–1.

При невыполнении условия первого, т.е. если mс > 2,5, эффек- mм

тивность погружения сваи резко снижается. При невыполнении условия второго, т.е. если vс > 6 м/с, большая часть энергии удара затрачивается на разрушение наголовника и головки сваи. При невыполнении условия третьего, т.е. если nм < 30 мин–1, свая успевает полностью остановиться и молоту приходится дополнительно преодолевать инерцию неподвижной сваи.

51. Каковы технические характеристики вибропогружателей, вибромолотов и шпунтовыдергивателей?

Вибропогружатели (рис. 123) сообщают погружаемым в грунт (или извлекаемым из него) элементам (свае, шпунту, трубе) направленные вдоль их оси колебания определенной частоты и амплитуды, благодаря чему резко снижается коэффициент трения между грунтом и поверхностью внедряемого (извлекаемого) элемента.

Составными частями вибропогружателя являются электродвигатель, вибровозбудитель и наголовник. Жесткое соединение вибропогружателя с погружаемым элементом обеспечивается сменным наголовником с механическим или гидравлическим захватом.

Главным параметром вибропогружателей является установленная мощность электродвигателей. К основным параметрам относятся вынуждающая сила, статический момент дебалансов, амплитуда и частота колебаний.

Различают низкочастотные (n 10 Гц) и высокочастотные (n 16,6 Гц) вибропогружатели.

167

аб

Рис. 123. Принципиальные схемы: а – низкочастотного; б – высокочастотного вибропогружателей: 1 – приводной электродвигатель; 2 – промежуточная шестерня; 3 – синхронизирующая цилиндрическая шестерня; 4 – направляющие ролики; 5 – наголовник; 6 – сваи; 7 – дебалансы; 8 – подвеска; 9 – приводной электродвигатель; 10 – вертикальная цепная передача; 11 – горизонтальная цепная передача; 12 – конический редуктор; 13 – вибратор амортизирующих пружин; 14

вибратор; 15 – подпружинные пригрузочные плиты

Низкочастотные вибропогружатели используют для погружения в однородные слабые грунты массивных железобетонных оболочек и свай длиной до 12 м. Они характеризуются значительной амплитудой колебаний, сравнительно большими статическими моментами дебалансов, вынуждающей силой и общей массой, малой частотой колебаний.

Высокочастотные вибропогружатели применяют для погружения в малосвязные грунты элементов с малым лобовым сопротивлением: шпунта, труб и профильного металла длиной до 20 м.

168

Вибропогружатели в 2,5…3 раза производительнее паровоздушных и дизельных молотов. Они удобны в управлении и не разрушают погружаемые элементы. Основными их недостатками являются непригодность для погружения свай (шпунта) в связные маловлажные грунты и сравнительно небольшой срок службы электродвигателей. Вибромолоты (рис. 124) сообщают погружаемым элементам как вибрационные, так и ударные импульсы и обеспечивают эффективное погружение в плотные грунты металлического шпунта длиной до 13 м, металлических свай и труб длиной до 20 м. Конструктивно вибромолоты отличаются от вибропогружателей только наличием ударной части, нижней плиты с наковальней и направляющих элементов с пружинами. При вращении дебалансов вибровозбудителя ударник наносит частые (до 24 Гц) удары по наковальне, установленной свободно на нижней плите молота и передающей удары непосредственно погружаемому элементу.

Рис. 124. Принципиальная схема вибромолота: 1 – вибровозбудитель; 2 – дебалансы; 3 – ударник; 4 – нижняя плита; 5 – наковальня; 6 – рабочие пружины; 7 – наголовник

Режим работы вибромолота (энергию и частоту ударов) регулируют в процессе его работы путем изменения зазора между ударником и наковальней.

Главный и основные параметры вибромолотов те же, что и у вибропогружателей. Кроме того, они характеризуются энергией и частотой ударов.

169

Вибромолоты имеют суммарную мощность электродвигателей 14…80 кВт, максимальную вынуждающую силу 112…180 кН, частоту ударов 8…12 Гц. Вибромолоты, как и вибропогружатели, работают в комплексе с копром или стреловым самоходным краном соответствующей грузоподъемности.

Рис. 125. Принципиальная схема шпунтовыдергивателя: 1 – подвеска; 2 – виброизолятор; 3 – вибровозбудитель с бойком; 4 – вибровозбудитель; 5 – пружины; 6 – рама; 7 – клиновый захват; 8 – направляющие; 9 – клинья; 10 – наковальня

Шпунтовыдергиватели (рис. 125) предназначены для извлечения из грунта ранее погруженных металлических свай, труб и шпун-

170