Материал: Создание лабораторно-опытного образца установки с использованием теплового насоса

Внимание! Если размещение файла нарушает Ваши авторские права, то обязательно сообщите нам

Степень отрицательного влияния абсорбционной холодильной машины на окружающую среду выявляется в результате анализа факторов, оказывающих вредное воздействие на природу со стороны холодильной техники в целом.

К числу этих факторов относятся: тепловые сбросы, шум и вибрация, загрязнение воды, утечки холодильного агента и масла.

Рассмотрим эти факторы подробнее.

Тепловые сбросы - это тепло, которое, по второму закону термодинамики, отводится в конденсаторе холодильной машины, причем та часть тепла конденсации, которая связана с затратами энергии на сжатие холодильного агента, составляет долю техногенной теплоты, поступающей в биосферу.

При строгом экологическом анализе требуется решать оптимизационную задачу с учетом таких факторов, как уменьшение теплового сброса за счет сокращения разности температур в аппаратах, но при одновременном увеличении тепловых сбросов при изготовлении холодильных машин большой материалоемкости; улучшение качества теплоизоляции охлаждаемых объектов, но при увеличении ее стоимости.

Дальнейшее совершенствование абсорбционных холодильных машин, обеспечение возможности их работы от источников теплоты всё более низкого потенциала может в перспективе привести к значительному снижению теплового загрязнения окружающей среды.

Шум и вибрация - распространение в окружающую среду механических колебаний, возникающих при работе холодильной машины. С энергетической точки зрения вибрация и шум переходят в конце концов в теплоту, и, хотя это тепло крайне незначительно, виброшумовые загрязнения окружающей среды нельзя исключать из числа факторов, вредно влияющих на организм человека.

Исходя из принципа, заложенного в основу работы абсорбционной холодильной машины, можно утверждать, что она обладает наиболее благоприятными виброакустическими характеристиками.

Загрязнение воды - фактор, связанный с прямоточным водоснабжением, которое еще находит применение ввиду наименьшей стоимости, однако ведет к ухудшению качества воды. На практике в подавляющем большинстве случаев осуществление мероприятий, позволяющих пользоваться водой для охлаждения элементов холодильной машины без ухудшения ее качества, требует больших экономических затрат. При возрастании ценности водных ресурсов в дальнейшем эти экономические затраты будут оправданы обеспечением сохранности потребительских свойств воды.

Утечки холодильного агента и смазочного масла при правильном исполнении и грамотной эксплуатации холодильной установки могут быть устранены, за исключением тех. которые связаны с конструктивными особенностями ее элементов.

В целом загрязнение рабочими веществами окружающей среды со стороны холодильной техники невелико, особенно по сравнению с другими промышленными отраслями.

Однако в настоящее время экологами серьезно ставится вопрос о попадании в атмосферу хлоросодержащих фреонов. что связано с риском уменьшения плотности жизненно важного для планеты озонового слоя в стратосфере.

В соответствии со скорректированной версией Монреальского протокола с 1 января 1996 г, запрещено применение озоноопасного хладагента R 12. Проблема альтернативных хладагентов рассматривается не только с точки зрения озоноопасности, но и с точки зрения влияния на глобальнее потепление климата.

В качестве альтернативных "натуральных" хладагентов на одном из первых мест стоит аммиак для использования в холодильных установках мощностью более 20 кВт. Ожидается применение аммиака в перспективе в малых холодильных машинах для коммерческих установок, в том числе абсорбционных.

2.1 Основы термодинамики растворов, принцип действия абсорбционной холодильной машины


В составе абсорбционной холодильной машины роль компрессора выполняется системой абсорбер-генератор. При этом процессы, связанные с работой компрессора, осуществляются с помощью растворов, состоящих из двух или трех компонентов.

В холодильной технике это, как правило, раствор, состоящий из двух (бинарный) компонентов с различными температурами кипения при одинаковом давлении. Один компонент, с более низкой температурой кипения, является холодильным агентом, другой - абсорбентом (поглотителем).

Раствор, обеспечивающий процессы в абсорбционной холодильной машине, носит название её рабочего вещества (тела).

К рабочим веществам абсорбционных холодильных машин предъявляются два основных требования:

полная взаимная растворимость компонентов;

значительное различие величин нормальных температур кипения компонентов.

Наибольшее применение в холодильной технике получили абсорбционные холодильные машины, работающие на растворах вода-аммиак (водоаммиачные), вода-бромистый литий (бромистолитиевые). В водоаммиачных холодильных машинах холодильным агентом является аммиак, в бромистолитиевых - вода.

Раствор при совершении цикла абсорбционной холодильной машины меняет свое состояние.

Для определения состояния двухкомпонентных систем наряду с заданием таких параметров, как температура, давление необходимо также иметь данные о концентрации компонентов.

Концентрацией называется содержание одного из компонентов в единице количества смеси.

Для расчетов процессов, протекающих в абсорбционных холодильных машинах, удобно применять диаграммы энтальпия-концентрация. Концентрацию при этом выражают массовыми долями

Рабочие вещества представляют две группы смесей: раствор аммиака в воде относится к первой группе, в нем оба компонента являются летучими; раствор бромистого лития в воде относится ко второй группе, в нем абсорбент (бромистый литий) характеризуется практически нулевой летучестью. В паровой фазе растворов первой группы присутствуют оба компонента, а во второй - только один.

Температура насыщения зависит от концентрации раствора и изменяется, возрастая от температуры насыщения первого чистого компонента до температуры насыщения второго чистого компонента. На рис. 2.1 представлены диаграммы и состояния раствора первой (а) и второй (б) групп. Диаграмма  строится в соответствии с законом Рауля и законом Кирхгофа.

Согласно закону Рауля давление насыщенного пара над раствором зависит от состава раствора, а энтальпия прямо пропорциональна температуре.

Для растворов первой группы в соответствии с первым законом Коновалова пар, находящийся в равновесии с жидкостью, богаче тем из компонентов, добавление которого к жидкости снижает температуру кипения смеси или повышает давление насыщенного пара над ней при постоянной температуре, таким образом, пар над раствором обогащен более летучим компонентом.

Как видно из диаграммы (а), изотерма в области влажного пара имеет наклон, следовательно, в паре холодильного агента больше, чем в жидкости. Обычно в этой области изотермы не наносятся. Для их построения имеется вспомогательная кривая (указана штрихами). Точка М определяет произвольное состояние влажного пара в процессе кипения, когда кипящая жидкость и насыщенный пар имеют температуру t1и концентрации соответственно  и

Изобарное равновесие в  диаграмме для веществ второй группы (рис. 2.1, б) в общих чертах аналогично. Существенным отличием является то, что паровая фаза содержит только один летучий компонент, поэтому линия равновесия пара и жидкости лежит на оси энтальпий. Следует обратить внимание на то, что на рис.2.1, б диаграмма не имеет области ξ=1. Это объясняется тем, что пар не имеет в своём составе нелетучего компонента, поэтому полный переход раствора с начальной концентрацией ξа в паровую область невозможен.

При сравнении диаграмм "а" и "б" очевидно, что они являются как бы зеркальным отражением друг друга.

Причина заключается в том, что для водоаммиачного раствора массовая концентрация определяется по содержанию легкокипящего компонента (аммиака), а для водного раствора бромистого лития - по поглотителю (бромистому литию).

Перед рассмотрением отдельных процессов двухкомпонентных систем следует отметить следующее:

как и для чистых веществ, методики нахождения таких термодинамических характеристик двухфазных сред, как энтальпия, энтропия и удельный объем аналогичны (различие состоит лишь в том, что для каждой из фаз эти величины при р=const и однокомпонентной среде не изменяются, а при двухкомпонентных - зависят от концентрации, что следует из правила Гиббса, поэтому процессы фазового перехода для неазеотропных систем происходят при переменной температуре);

общие закономерности термодинамики, которые не зависят от природы вещества, справедливы и для многокомпонентных систем:

термодинамическое состояние многокомпонентных систем описывают, применяя уравнения состояния, которые имеют дополнительные параметры концентрации компонентов.

Для изобарных процессов переноса теплоты общей закономерностью является равенство переданной теплоты и изменения полных энтальпий внутренней системы.

Поэтому для процесса нагрева 1 кг ненасыщенного раствора с концентрацией ξA от температуры tA до температуры tF

 (2-1)

Дальнейший нагрев раствора также происходит при переменной температуре, но характер изменения температур другой, так как происходит процесс парообразования. Различие составов паровой и жидкой фазы при сохранении общей концентрации системы приводит к тому, что с увеличением паросодержания уменьшается концентрация в жидкости легкокипящего компонента. Например, для точки М концентрация раствора составит ξF1 и количество теплоты, подведенной извне,

 (2.2)

В состоянии Е для системы, представленной на рис. 1.1а, весь раствор превратится в пар. Дальнейший нагрев этой системы приведет к образованию перегретого пара (точка G):

 (2.3)

Для системы, представленной на рис. 2.1 б, процесс происходит до определенной максимальной температуры кипения tmax. Этой температуре соответствует максимальная концентрация раствора.

Процессы охлаждения и конденсации происходят в направлении, обратном нагреву и кипению, с последовательностью процессов, представленных на рис. 1.1, а:

G-E - охлаждение пара до состояния насыщения;

E-F - конденсация при переменной температуре;

F-A - охлаждение раствора.

Аналогично на рис. 1.1, б:

E-F - конденсация при переменной температуре; F-A - охлаждение раствора.

В абсорбционных холодильных машинах процессы кипения осуществляют для разделения раствора на паровую и жидкую фазы (десорбция).

Паровая фаза веществ второй группы содержит чистый компонент. В этом случае простым выпариванием с разделением паровой и жидкостной фаз получают чистый холодильный агент.

Для веществ первой группы (рис. 2.1, а) из раствора с концентрацией ξF1 нельзя получить в процессе кипения пар с концентрацией выше ξD1

Рис. 2.1 Изображение изобарного равновесия в  диаграмме: а - вещество первой группы; б - вещество второй группы

Повышение концентрации пара можно достигнуть, если парожидкостную смесь состояния М разделить, отводя пар из обогреваемой части генератора, а затем провести процесс конденсации D1-K, что обеспечит концентрацию пара ξD2>ξD1. Повышение концентрации пара достигается в процессе ректификации. Ректификацией называется процесс обогащения паровой фазы одной или несколькими компонентами, основанный на фазовых превращениях гетерогенной системы с различным составом паровой и жидкой фаз.

Обычно ректификацию выполняют жидкостью, подаваемой на испарение в генератор. Паровая фаза после разделения подается в ректификатор, где промывается жидким раствором. В результате происходящего тепло- и массообмена пар охлаждается и обогащается легкокипящим компонентом при сопутствующем нагреве и разбавлении раствора. Процессы изменения состояния пара и жидкости происходят за счёт внутреннего теплообмена без дополнительных затрат на охлаждение и нагрев. Дальнейшее обогащение паровой фазы холодильным агентом (укрепление пара) происходит в дефлегматоре за счет отвода тепла конденсации водой.

В процессе абсорбции происходит поглощение паров холодильного агента жидкими поглотителями (абсорбентами). Считается, что абсорбция включает в себя два процесса - смешение жидкой и паровой фаз и поглощение пара жидкостью.

Для полной абсорбции паровой фазы необходимо, чтобы раствор, поступающий в абсорбер, находился в переохлажденном состоянии, и его было значительно больше, чем поглощаемого пара. С этой целью предусмотрен отвод тепла в абсорбере.

Анализ процессов, протекающих в абсорбционной холодильной машине, позволяет сформулировать принцип ее действия.

Эффект охлаждения в абсорбционной холодильной машине достигается вследствие трансформации тепла нагрева путем совмещения прямого цикла преобразования его в работу и обратного цикла - получения холода с затратой работы.

В осуществлении цикла машины участвуют три источника тепла: нагреватель, окружающая среда и охлаждаемый объект.

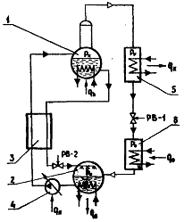
На рис. 2.2 представлена схема абсорбционной холодильной машины, которая может работать на бинарных смесях, как первого, так и второго типа.

Раствор с большим содержанием легкокипящего компонента, образующийся в абсорбере, поступает в насос при давлении кипения, где его давление повышается до давления конденсации. За счёт работы насоса к раствору подводится тепло qн. Концентрация раствора при этом не изменяется. Из-за несжимаемости жидкости энтальпия раствора до и после насоса остаётся постоянной. В рекуперативном теплообменнике раствор подогревается и с неизменной концентрацией подается в генератор. В генераторе при подводе тепла qh от греющего источника раствор кипит, его концентрация по легкокипящему компоненту уменьшается.

Рис. 2.2 Схема абсорбционной холодильной машины: 1 - генератор; 2 - абсорбер; 3 - теплообменник; 4 - насос; 5 - конденсатор; 6 - испаритель

В абсорбционной машине, работающей на бинарных смесях первого типа, образующийся пар подвергается очистке в процессе ректификации, происходящей в специально предусмотренной для этого части генератора.

Пар из генератора направляется в конденсатор, где сжижается при давлении Рк и отводе тепла конденсации qk. Затем жидкость дросселируется в регулирующем вентиле РВ-1. При этом давление снижается от Рк до Р0 Процесс дросселирования происходит при постоянной энтальпии и концентрации. Холодильный агент переходит из состояния переохлажденной жидкости в состояние влажного пара и поступает далее в испаритель, где кипит при подводе тепла q0 от охлаждаемого объекта. Поток пара из испарителя направляется в абсорбер. Туда же поступает раствор из генератора после охлаждения в теплообменнике и дросселирования в регулирующем вентиле РВ-2. В абсорбере происходит поглощение пара раствором при отводе тепла qa. Концентрация по легкокипящему компоненту повышается, и на этом цикл замыкается.

Таким образом, можно считать, что абсорбер является всасывающей стороной компрессора, а генератор - нагнетательной.