. Проектирование,
конструирование и моделирование технических средств
2.1 Системный анализ автоматизации установки
объёмной печати моделей
Создание нового эффективного объекта, новой технологии сегодня невозможно без системного подхода, предусматривающего анализ задач и синтез решений на всех этапах их разработки и реализации.
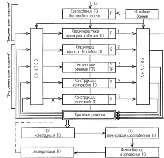
Укрупнённая схема рассматриваемого процесса системного проектирования (СП) технических объектов приведена на рисунке 1.
Согласно схеме СП базируется на двух основных принципах:
Во-первых, процесс проектирования полностью согласуется с описаниями объектов, сохраняя при этом иерархическую соподчинённость;
Во-вторых, СП осуществляется на основе анализа задач и синтеза решений, обладающих как определённой общностью, так и спецификой на различных этапах проектирования. Таких этапов в СП выделено пять.
На этапе 1 определяются критерии развития объекта с ориентацией на создание представителя нового поколения объектов данного класса с целью длительного применения и многократного тиражирования. Существенно уточняется функция создаваемого объекта, формируется набор критериев развития, используемых на последующих этапах системного проектирования.
На этапе 2 формируется структура и принцип действия объекта или процесса. Поскольку структура - это совокупность элементов и их устойчивых отношений, обеспечивающих целостность объекта, то на данном этапе определяется состав элементов (устройств, технологических приёмов), выполняющих отдельные части (операции), функции объекта. Для этого целесообразно использование декомпозиционных методов анализа и синтеза по схеме, обеспечивающей формирование двухуровневых структурных модулей. Вначале формируется 1-й модуль создаваемого объекта, затем последовательно получают этими же методами модули низших уровней, формируя таким путём многоуровневую иерархическую функциональную структуру технического объекта любой сложности.
Этап 3 является переходным, преобразующим структурные решения в конструктивные. На этом этапе осуществляется синтез технического решения, предусматривающий формирование образной модели технического объекта, представляющей собой конструкцию, лишённую параметров и других метрических характеристик. Новизна решений на этапе синтеза технического решения также достигается декомпозиционными подходами, позволяющими формировать варианты конструкций на основе системного перебора большого числа альтернатив и выбора новых эффективных конструкторских решений на уровне изобретений класса “устройства”. Таким образом, на этапах 2 и 3 осуществляется поисково-структурное проектирование, обеспечивающее получение инновационных решений на ранних этапах создания технических объектов и процессов.
На этапах 4 и 5 производится разработка конструкторской документации объекта и его элементов в соответствии с принятой стадийностью проектирования, например, эскизный, технический и рабочий проекты.
Таким образом, системный подход к созданию различных новых объектов, проектов, технологий базируется на анализе задач и синтезе решений. Для этого используются различные методы активизации инженерного творчества, позволяющие разделять задачи проектирования на части, а затем производить “свёртку” множеств альтернатив в конкретные решения - структуру, компоновку, конструкцию.
На рисунке 2.1 показана укрупнённая схема системного проектирования.
Рисунок 2.1 - Укрупнённая структурная схема
системного проектирования.
2.2 Синтез решений по автоматизации установки
объёмной печати моделей
Потребность и цели создания нового объекта, структуризация целей и предполагаемых задач, решение которых ведёт к достижению этих целей, формируют общее представление об объекте. При отсутствии аналога создаваемому объекту его анализ осуществляется посредством декомпозиции поставленных задач в пространстве в основном неметрических структурных характеристик, обусловленных требованиями к функционированию и общему строению этого объекта. Результатом такого анализа является декомпозиционная схема, при построении которой предлагается исходить из следующих положений:
Во-первых, декомпозиция осуществляется неформально и на первом уровне разбиения задач, исходя из назначения или потребности объекта, определяются основные направления, свойства и признаки, формирующие концепцию его строения в виде множества относительно независимых структурных характеристик, образующих n блоков 1-го уровня декомпозиции.
Во-вторых, принимается во внимание весьма важное обстоятельство, что проблема создания нового объекта не является полностью неизвестной. Для каждой области, свойства и признака первого уровня на втором уровне декомпозиции формируются множества альтернатив, выбираемых на основе анализа известных решений, в том числе из других более развитых классов объектов.
Используя техническое задание на проектирование,
а также, обсудив особенности проектируемого объекта, построим декомпозиционную
схему анализа задачи формирования структуры автоматизированной установки
объёмной печати моделей.
Таблица 2.1. Декомпозиционная схема анализа задачи формирования структуры автоматизированной установки объёмной печати моделей.
|
Xξ |
Первый уровень декомпозиции |
Xξβ |
Второй уровень декомпозиции |
|
X1 |
Технология печати |
X11 |
Лазерная |
|
|
|
X12 |
Струйная |
|
X2 |
Технология позиционирования печатающей головки |
X21 |
Декартова |
|
|
|
X22 |
Технология дельта-робота |
|
X3 |
Используемый пластик |
X31 |
|
|
|
|
X32 |
PLA и ABS |
|
X4 |
Режим работы шаговых двигателей |
X41 |
Шаговый |
|
|
|
X42 |
Полушаговый |
|
|
|
X43 |
Микрошаговый |
|
X5 |
Система индикации процесса печати |
X51 |
Отсутствует |
|
|
|
X52 |
Присутствует |
|
X6 |
Контроль температуры экструдера |
X61 |
Не осуществляется |
|
|
|
X62 |
Осуществляется |
|
X7 |
Количество головок экструдера |
X71 |
Одна |
|
|
|
X72 |
Две |
|
|
|
X73 |
Более двух |
|
X8 |
Нагревательная плита |
X81 |
Отсутствует |
|
|
|
X82 |
Присутствует |
|
X9 |
3D-модель передаётся в принтер |
X91 |
С помощью SD-карты |
|
|
|
X92 |
Через COM-порт с ЭВМ |
|
|
|
X93 |
Через USB-порт с ЭВМ |
|
X10 |
Возможность печати без подключения к ЭВМ |
X101 |
Отсутствует |
|
|
|
X102 |
Присутствует |
|
X11 |
Система безопасности |
X111 |
Отсутствует |
|
|
|
X112 |
Использование датчика контроля открытой дверцы |
|
|
|
X113 |
Использование датчика контроля открытой дверцы и датчика пламени |
Итого общее количество вариантов структуры N
определяется:
На первой ступени упорядочивания выделим из n блоков Xξ декомпозиционной схемы 2-4 блока, содержащих на уровне альтернатив Xξβ наиболее важные характеристики - это и будут целевые условия.
На основании исходного задания и из соображений улучшения качества устройства из декомпозиционной схемы (табл. 2.1) были выбраны 3 целевых условия: X12, X23, X32.
Выбранные локальные целевые условия неодинаково влияют на эффективность синтезируемого решения и потому должны быть ранжированы по их значимости и оценены с помощью параметра l.
Проведя декомпозицию задачи и выбрав в
полученном поисковом пространстве многоуровневую цель, необходимо решить вторую
часть задачи синтеза - сформировать многомерное «решение-ограничение». Так как
оптимизация неформальных решений при нескольких целях традиционными методами
неосуществима, то в этом случае в качестве оптимизационного подхода
целесообразно будет сформировать Паретово множество альтернатив.
Таблица 2.2. Определение оценок и рангов целевых условий.
|
Эксперты |
Оценки и ранги целевых условий |
||
|
|
XS1=X12 |
XS2=X23 |
XS3=X32 |
|
1-ый |
0,45 |
0,35 |
0,2 |
|
2-ой |
0,5 |
0,35 |
0,15 |
|
3-ий |
0,4 |
0,3 |
0,3 |
|
Суммарная оценка |
1,35 |
1,00 |
0,65 |
|
Средняя оценка ωi |
0,45 |
0,333 |
0.217 |
|
Скорректированная оценка |
0,45 |
0,35 |
0,2 |
|
Ранг целевого условия |
1 |
2 |
3 |
Альтернатива считается оптимальной по Парето, если всякая другая альтернатива, являющаяся более предпочтительной для одних целей, в то же время будет менее предпочтительной для остальных целей. Также для оптимальности по Парето никогда не следует выбирать альтернативу, которая не является Парето-оптимальной.
Каждой альтернативе XGjB в блоках XGj по каждому целевому условию XSiB присвоим оценку по трёхступенчатой шкале: 1 - лучшая альтернатива, 2 - альтернативы в блоке по отношению к данной локальной цели равноценны, 3 - в блоке есть лучшая альтернатива с кодом 1.
В таблице 2.3 представлены результаты присвоения
весов при выборе условий-ограничений. Таблица составлялась на основе
вышеуказанного принципа, где каждой оценке в соответствии с её кодом
присваивалось численное значение по правилу:
|
Код |
Значение |
|
1 |
λi |
|
2 |
λi/ mi |
|
3 |
0 |
Где mi - количество альтернатив XGjB в блоке XGj.
Таблица 2.3. Результаты присвоения весов оценкам при выборе условий-ограничений.
|
XGj |
XGjB |
XS1=X12; λ1=0,45 |
XS2=X23; λ2=0,35 |
XS3=X32; λ3=0,2 |
|
|
|
λ1GgB |
λ2GgB |
λ3GgB |
|
XG1=X4 |
[X41] |
0,15 |
0 |
0,067 |
|
|
X42 |
0,15 |
0 |
0,067 |
|
|
X43 |
0,15 |
0,35 |
0,067 |
|
XG2=X5 |
X51 |
0,15 |
0 |
0,1 |
|
|
[X52] |
0,15 |
0,35 |
0,1 |
|
XG3=X6 |
X61 |
0 |
0,175 |
0 |
|
|
[X62] |
0,45 |
0,175 |
0,2 |
|
XG4=X7 |
X71 |
0,15 |
0,117 |
0 |
|
|
[X72] |
0,15 |
0,117 |
0,2 |
|
|
X73 |
0,15 |
0,117 |
0 |
|
XG5=X8 |
[X81] |
0,225 |
0,175 |
0,2 |
|
|
X82 |
0,225 |
0,175 |
0 |
|
XG6=X9 |
X91 |
0 |
0 |
0,067 |
|
|
X92 |
0 |
0 |
0,067 |
|
|
[X93] |
0,45 |
0,35 |
0,067 |
|
XG7=X10 |
X101 |
0 |
0 |
0,1 |
|
|
[X102] |
0,45 |
0,35 |
0,1 |
|
XG8=X11 |
X101 |
0 |
0 |
0 |
|
|
X102 |
0 |
0 |
0 |
|
|
[X103] |
0,45 |
0,35 |
0,2 |
Теперь можно сформировать в виде множества
эффективное решение - наилучший оптимальный по Парето вариант структуры
создаваемого объекта:
X={X12, X23, X32, X41, X52, X62,
X72, X81, X93, X102, X113}.
По завершении декомпозиционного анализа и
синтеза создаётся структурная схема системы управления автоматизированной
установки объёмной печати моделей.
2.3 Разработка корпуса автоматизированной
установки
Все рассмотренные в пункте 1.2 готовые решения в области объёмной печати (3D-принтеры Darwin, Mendel и Rostock) не имели корпуса, как такового. У каждого из них были лишь верхнее и нижнее основания, к которым крепились направляющие и всё это упрочнялось диагональными рейками. Однако данное решение является небезопасным для пользователя установкой, так как все движущиеся механизмы, нагревающиеся элементы и сам разогретый пластик находятся в непосредственной близости к пользователю, который при неаккуратности может получить травму или ожёг. (подробнее о этом смотри в пункте 7.1).
Вывод о необходимости разработки корпуса для автоматизированной установки объёмной печати моделей напрашивается сам собой.
При разработке корпуса необходимо так же учесть что проектируемая установка (её первые реализации) является прототипом для исследований и разработки готового варианта. Исходя из этого проектируемый корпус решено изготовить из акрилового стекла, что позволит визуально контролировать процесс печати и выявлять ошибки в механике и программном обеспечении.
Корпус должен иметь два основания: верхнее и нижнее. Основания имеют форму равностороннего треугольника с отсечёнными вершинами, то есть являются шестиугольниками. На нижнем основании должны быть отверстия под крепление направляющих реек и стойки с зубчатым колесом для крепления ремня. Помимо этого на нижнем основании крепится платформа, на которой будет производиться печать. Верхнее основание имеет отверстия для крепления коробок с шаговыми двигателями и отверстие под зубчатый ремень. Так же на верхнем основании устанавливается электроника и электрооборудование (не считая трёх шаговых двигателей в коробках, на верхнем основании крепятся: блок питания, плата контроллера, ЖК-дисплей и клавиатура). Верхнее и нижнее основания имеют, расположенные в шахматном порядке выступы для крепления стенок.
Боковые стенки корпуса представляют собой три пары прямоугольников, с вырезами овальной формы внизу. Те, что больше по размеру имеют отверстие, через которое происходит съём готовой модели.
К этому отверстию необходима дверца. Так как таких отверстий будет три, то стоит выбрать одно из них и считать его основным. На него нужно установить датчик открытия дверцы. Два других отверстия нужно считать вспомогательными и держать постоянно в закрытом состоянии. Использовать их нужно только при необходимости (например при техническом обслуживании, или при установке сложных поддерживающих конструкций для печати на них модели). Боковые стенки должны иметь отверстия, расположенные в шахматном порядке для крепления к основаниям. Основания и стенки между собой склеиваются специальным клеем ACRIFIX 5R 0194 с добавлением ACRIFIX CA 0030.