Материал: Практикум з курсу Геологія

Внимание! Если размещение файла нарушает Ваши авторские права, то обязательно сообщите нам

Відлік абсолютних висот починають не від нуля, а від відмітки, що лежить трохи нижче висоти забою найглибшої свердловини. Наприклад, якщо абсолютна відмітка забою свердловини становить 92,5 м, авертикальний масштаб – 1:500, товідлік повертикалі профілю починають від висоти 90 або 85 м. Верхнє значення висот відповідає відмітці, вищій від найвищої точки на лінії профілю. Для прикладу, якщо найвища горизонталь дорівнює 160 м, то відлік закінчують висотою 165 або 170 м.

У горизонтальному напрямі від вертикальної осі переносять точки перетину горизонталей із лінією профілю. Ці точки ставлять на висоті, яка відповідає висоті горизонталі, враховуючи вибраний горизонтальний масштаб профілю. Наносять також точки (гирла) свердловин, беручи значення їхніх абсолютних висот із таблиць (додаток 4). Номери свердловин підписують так: “Св. 1”, “Св. 2” і т.д. Плавною кривою сполучають поставлені точки і викреслюють гіпсометричну криву.

Прямою субвертикальною лінією зображають урвище над рікою. Абсолютна висота брівки урвища повинна відповідати найвищій горизонталі, що перервана умовним позначенням урвища

вмісці проходження поперечного перерізу на карті. Вона також може бути між двома горизонталями, які перетинає лінія профілю;

втакому випадку треба провести інтерполяцію між ними. Висоту підошви урвища відображає найнижча горизонталь, що виходить з-під нього. Брівка крутого схилу розміщена відразу за найвищою горизонталлю зі смуги згущених горизонталей на схилі. Так викреслюють гіпсометричну лінію, що зображає рельєф земної поверхні в площині профілю. Ця лінія повинна бути дуже точною і виразною.

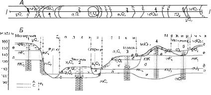
Нанесення на профіль даних про геологічну будову. Після того,

як складено гіпсометричний профіль, на нього наносять геологічні межі (контакти гірських порід), що виходять на денну поверхню. Відповідні дані беруть з геологічної карти. На профілі позначають ці межі невеликими вертикальними штрихами (від лінії профілю вниз). Вище від лінії профілю зазначають геологічний індекс відкладів, що озна-

чує їхній генезис і вік (наприклад, dQ3–4), а нижче – графічне позначення літологічного складу порід (додаток 5) смугою приблизно 0,5 см (рис. 6). Усі позначення на профілі (як і побудову гіпсометричного профілю) виконують простим олівцем.

21

Рис. 6. Схема нанесення на профіль (Б) відомостей про геологічну будову земної кори за даними бурових свердловин і геологічної карти (А):

І-І – лінія профілю; 1–5 – номери бурових свердловин і стратиграфічні колонки, нанесені на профіль за даними опису свердловин; а1 – стратиграфічні межі (достовірні і передбачувані), б1 – фаціальні межі (достовірні і передбачувані), в1 – лінії, які відображають механізм перенесення даних про геологічну будову земноїкоризкартинапрофіль; а–з– рекомендованапослідовністьпроведеннямеж шарів на глибині

Далі на профіль наносять інформацію про геологічну будову за даними опису свердловин (див. додаток 4). Вони наведені у вигляді таблиць, щоскладаютьсязп’ятистовпців, уякихзазначено: 1) порядковий номер шару порід, 2) геологічний індекс, 3) літологічний склад, 4) потужність, 5) глибину залягання підошви шару.

Від точок на гіпсометричному профілі, що відповідають гирлам свердловин, проводять вертикальні лінії до глибини, на якій закінчене буріння (забій свердловин). Тут ставлять невеликі горизонтальні штрихи. Дані абсолютних відміток покрівлі (верхньої межі) і підошви (нижньої межі) кожного шару, а також відмітки забоїв беруть з п’ятого стовпця опису свердловин. Навпроти кожного шару підписують відповідний йому індекс з другого стовпця таблиці, що відображає генезис і вік відкладів. Також наносять літологію порід смугою завширшки приблизно 1 см (рис. 6). Зазначимо, що підошва кожного шару є одночасно покрівлею нижчого шару. У найнижчого шару підошва лежить нижче забою свердловини на невідомій нам глибині. Покрівлею найвищого шару є земна поверхня.

22

Рис. 7. Виклинювання пласта глинистих порід:

А– зникнення пласта на піднятому крилі розлому внаслідок його денудації;

Б– виклинювання пласта внаслідок розмивання; В – виклинювання у місці проходження природної межі (берегової лінії озера, моря, краю льодовика тощо);

Г– фаціальне виклинювання пласта (у випадку заміщення фацій алювію)

Після виконання цієї операції для всіх свердловин проводять межі шарів між свердловинами, починаючи від покрівлі найнижчого шару. Далі переходять до обмежування наступного (молодшого) шару, який розміщений вище і т.д. Виняток з цієї послідовності становлять алювіальні відклади.

Потрібно враховувати, що шари перериваються (виклинюються) внаслідок різних причин. Такими причинами можуть бути пізніше розмивання відкладів, просторове обмеження чинників літогенезу (наприклад, алювіальних відкладів нема за межами річкової долини) (рис. 7).

Якщо якась свердловина не досягла шару внаслідок недостатньої глибини чи зниження його покрівлі (можливо, це пов’язано з тектонічним опусканням або розмиванням шару), то цей шар треба знайти в на-

23

ступній свердловині. Покрівлю такого шару позначають трохи нижче забою тих свердловин, які його не досягли.

Забої свердловин не можна з’єднувати з підошвами шарів. Межа шару повинна бути нижча від забою свердловини. Це пояснюють тим, що практично неможливі випадки, коли свердловина закінчується на межі шарів.

Виклинювання шарів виконують з урахуванням їхнього віку так, щоб молодші породи не заходили під давніші. Перш ніж зобразити виклинювання певного шару, спочатку потрібно нарисувати покрівлю нижчого шару, а потім провести виклинювання (шар, як звичайно, виклинюють посередині між свердловинами). Якщо виклинювання пов’язане з виходом пласта на денну поверхню, то покрівлю і підошву пласта на стратиграфічній колонці треба з’єднати з відповідними межами на гіпсометричному профілі.

Кожний генетичний тип відкладів має певні особливості залягання. Морськівідкладизалягаютьздебільшогогоризонтальноабомайжегоризонтально, хоча покрівля і підошва таких шарів можуть бути нерівними.

Нерівності їхньої покрівлі найчастіше пов’язані з розмиванням, що відбулося після відкладання порід. Нерівності підошви звичайно зумовлені особливостями того рельєфу, який існував тут у континентальний період, що передував трансгресії.

Континентальні відклади водного генезису (озерні, річкові, воднольодовикові) зображають у вигляді лінз, обернених випуклістю вниз, оскільки водойми завжди розміщені у від’ємних формах рельєфу. Винятком можуть бути відклади водно-льодовикового походження, що будують додатні форми рельєфу (ози, ками). Тому шари цих відкладів рисують на профілі у формі лінз, обернених випуклістю не тільки вниз, а й уверх.

Алювій кожної тераси зображають шаром однакової потужності на всьому її простяганні. Біля тилового шва тераси субвертикальною лінією (рис. 8) позначають прилягання річкових відкладів до порід корінних схилів або давніших терас, що розміщені вище. Зазначимо, що в цьому місці алювій часто буває перекритий делювіальним матеріалом, знесенимзприлеглогосхилу. Межішарівдавнішихвідкладів, у які врізалась річка, плавно долучають (доводять) до субвертикальних меж алювію.

У розрізі алювій має, як звичайно, двочленну будову, яку потрібно зобразити на профілі, враховуючи дані з опису свердловин. У нижній

24

частині алювіальної товщі здебільшого залягають піски і галечники, відкладені в руслі річки (руслова фація алювію). Вище по розрізу їх поступово заміщують дрібніші осади (дрібнозернисті піски, супіски, суглинки), відкладені на поверхні заплави (заплавна фація алювію). Місцями над русловим алювієм трапляються лінзи глин, багатих на органічні рештки. Ці лінзи утворились у старицях (старична фація алювію). Ширина лінз старичного алювію приблизно відповідає ширині сучасного русла ріки. На сучасній заплаві нагромадження старичного алювію відбувається і в наш час у старичних озерах.

Делювіальні й еолово-делювіальні відклади залягають плащоподібно, збільшуючись у потужності в зниженнях рельєфу і біля підошви схилів. Вони представлені безвалунними суглинками, іноді зі щебенем.

Якщоусусідніхсвердловинахшаривікладівмаютьоднаковийгенезисівік, алерізнулітологію, товтакомувипадкувідбуваєтьсяфаціальне заміщення, яке позначають відповідно на профілі (див. рис. 7, г).

Оформлення геолого-геоморфологічного профілю. Після того, як проведено межі всіх шарів, профіль дають на перевірку викладачеві й розпочинають оформлення профілю тушшю або гелевою ручкою чорного кольору (див. рис. 8). У середині кожного шару вписують геологічний індекс (вік і генезис відкладів), інші індекси (біля свердловин, приповерхневих відкладів) стирають. Коли шар відкладів займає невеликуплощуабомаєнезначнутовщину, тойогоіндексможнанадписати над земною поверхнею. Після нанесення індексів виконують штрихування всього пласта порід відповідно до прийнятих графічних позначень літологічного складу відкладів. Над лінією профілю надписують назви геоморфологічного навантаження (елементи і форми рельєфу)

– “русло”, “заплава”, “перша надзаплавна тераса”, “стариця”, “балка”, “яр”. Надписи розміщують горизонтально.

Над профілем пишуть його назву, наприклад “Геолого-геоморфо- логічний профіль через долину р. Спокійна по лінії ІІ”, нижче або правіше профілю – легенду, горизонтальний і вертикальний масштаб, ім’я і прізвище виконавця.

Легенда до профілю складається з трьох частин (див. рис. 8). У верхній (лівій) частині легенди, використовуючи геологічні індекси та різного кольору умовні знаки, відображають вік і генезис відкладів. Геологічні індекси і відповідне пояснення, що розкриває їхній зміст, розміщують у віковій послідовності (від молодших відкладів до давні-

25