Материал: Новоселов АГ Процессы и аппараты пищ производств Ч1

Внимание! Если размещение файла нарушает Ваши авторские права, то обязательно сообщите нам

Батарейные циклоны. Производительность циклона повышается с увеличением угловой скорости вращения потока и уменьшением радиуса r2 (см. формулу (2.19)) (уменьшается время разделения). В связи с этим оказалось целесообразным выполнять циклоны диаметром D = 150 250 мм.

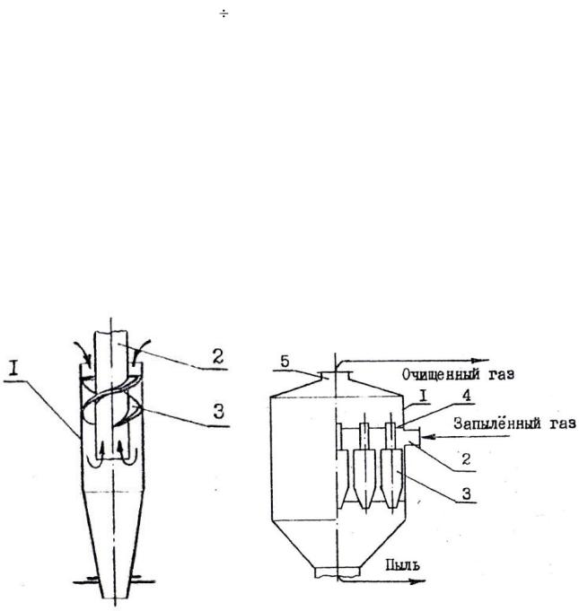
Аппарат для заданной производительности выполняется в виде батареи из параллельно работающих циклонов малого диаметра (рис. 2.9 и рис. 2.10). Запыленный газ (см. рис. 2.10) вводится в корпус 1 аппарата через патрубок 2 и распределяется по элементам 3, закрепленным в перегородках 4.

Внутри элементов (см. рис. 2.9) установлены винтовые лопасти, за счет которых запыленный газ закручивается. Очищенный газ по выводным трубам поступает в верхнюю часть аппарата и удаляется, а осевшая пыль удаляется из низшей части аппарата.

Батарейные циклоны могут работать при переменной нагрузке по газу, так как можно изменять число работающих элементов в батарее.

Рис. 2.9. Схема элемента

Рис.2.10. Схема батарейного циклона:

батарейного циклона:

1 – корпус; 2 – входной патрубок;

1 – корпус; 2 – выводная труба;

3 – элементы; 4 – перегородка; 5 – выходной

3 – винтовые лопасти

патрубок

26

Степень очистки для циклонов и батарейных циклонов зависит от свойств материала, дисперсного состава, концентрации пыли в газе и изменяется в широких пределах = 50 99 %. При этом минимальный диаметр выделяемых частиц может достигать 1 мкм.

Гидроциклоны (см. подробно [2]). Принципиально конструкции гидроциклонов ничем не отличаются от газовых циклонов, но степень очистки η = 30 40 %. Это связано с тем, что нельзя обеспечить больших скоростей движения жидкостей без турбулизации потока, ухудшающей процесс разделения.

Гидроциклоны применяют в основном для предварительной очистки жидкости, для классификации твердых частиц по степени крупности. Диаметры гидроциклонов в зависимости от назначения изменяются чаще всего в пределах от 10–15 до 350 мм.

2.3.3. Центрифугирование

Разделение суспензий и эмульсий в поле действия центробежных сил осуществляется во вращающихся аппаратах – центрифугах.

По фактору разделения Kр все центробежные машины делятся на два класса:

нормальные центрифуги Kр < 3000;

сверхцентрифуги Kр ≥ 3000.

По принципу действия выделяют центрифуги периодического и непрерывного действия.

Отстойная центрифуга. Основной элемент отстойной центрифуги – сплошной барабан 1, насаженный на вращающийся вал 2

(рис. 2.11).

Суспензия по трубе 3 вводится в нижнюю часть барабана и под действием центробежной силы отбрасывается к стенкам. Непосредственно на стенке барабана твердые частицы образуют слой осадка, а жидкость образует внутренний слой и вытесняется из барабана поступающей на разделение суспензией. Осветленная жидкость переливается через край барабана в корпус 4, а затем удаляется из аппарата. По окончании процесса (слой осадка достиг определенной величины) центрифугу останавливают и вручную выгружают слой осадка.

27

Рис. 2.11. Схема отстойной центрифуги периодического действия с ручной выгрузкой осадка:

1 – барабан; 2 – вал; 3 – труба; 4 – корпус

Разработаны непрерывно действующие центрифуги с механизированной выгрузкой осадка (см. подробно [2]).

Сущность процесса отстаивания в центрифугах состоит в следующем. Пусть твердая частица находится в точке А (см. рис. 2.11). Если предположить, что частица мелкая и полностью увлекается потоком, то она со скоростью потока wп движется в осевом направлении и в то же время под действием центробежной силы движется со скоростью wo к стенке барабана. Следовательно, частица с результирующей скоростью wp движется по криволинейной траектории, причем траектория АВ является предельной, при движении по которой твердая частица выделяется из потока. В этом случае должно выполняться условие пр = о (см. подразд. 2.2.3).

Время пребывания можно оценить по формуле

τпр

H

 

H

 

,

 

 

 

 

 

V / π (r22

 

 

wп

r12 )

 

 

28

 

 

где Н – высота барабана; V – объемный расход жидкости; r1 , r2

радиусы вращения внутренней и наружной поверхностей слоя жидкости.

Учитывая, что время процесса осаждения в поле действия центробежных сил можно определить по формуле (2.19) (для ламинарного режима осаждения), для отстойной центрифуги можно записать

 

 

18μ

 

ln

r2

 

 

H

 

 

.

(2.20)

d

2

ч ρс ) ω

2

r1

 

 

V

 

 

 

 

 

 

 

 

 

 

 

 

 

 

 

 

π (r 2

r 2 )

 

 

 

 

 

 

 

2

1

 

 

 

Решив (2.20) относительно V, получим

 

 

ρ

ч

ρ

с

d 2ω2

H π r2

r2

 

 

 

 

 

 

 

 

V

 

 

 

 

 

 

 

 

 

 

 

 

2

 

1

 

 

,

 

 

 

 

 

 

 

 

 

 

 

 

18μ ln

r2

 

 

 

 

 

 

 

 

 

 

 

 

 

 

 

 

 

 

 

 

 

 

 

 

 

 

 

 

 

 

 

 

 

 

 

 

 

 

 

 

 

r1

 

 

 

 

 

 

 

 

 

 

 

 

 

 

 

 

 

 

 

 

 

 

 

 

 

 

 

 

 

 

 

 

 

 

 

 

 

 

 

или

 

 

 

 

 

 

 

 

 

 

 

 

 

 

 

 

 

 

 

 

 

 

 

 

 

 

 

 

 

 

 

 

 

 

 

 

 

 

 

 

 

 

 

 

2

 

 

 

 

 

 

 

 

 

 

 

 

 

 

 

 

 

 

 

 

 

 

 

 

 

r1

 

1

 

 

 

 

 

 

 

 

 

V

ρч ρс

 

π d 2ω2 Hr12

 

 

 

r2

 

 

.

 

 

 

 

(2.21)

 

 

 

 

 

 

 

 

 

 

 

18 μ

 

r1

 

2

 

r2

 

 

 

 

 

 

 

 

 

 

 

 

 

 

 

 

 

 

 

 

 

 

 

 

 

 

 

 

 

 

 

 

 

 

 

 

 

 

 

 

 

 

 

 

 

 

 

 

 

 

 

 

 

 

ln

 

 

 

 

 

 

 

 

 

 

 

 

 

 

 

 

 

 

 

 

r2

 

 

r1

 

 

 

 

 

 

 

 

 

 

 

 

 

 

 

 

 

 

 

 

 

 

 

 

 

 

 

 

 

 

 

 

 

 

 

 

 

 

 

 

 

 

 

 

 

 

 

 

 

 

 

 

 

 

 

r1

 

1 .

Если осаждение

происходит

 

в

 

тонком

 

слое, то

r2

 

 

 

 

 

 

 

 

 

 

 

 

 

 

 

 

 

 

 

 

 

 

 

 

 

 

 

 

 

Следовательно, формула (2.21) в пределе даст

 

 

 

 

 

 

 

 

 

 

 

 

 

 

 

ч

ρ

c

) ω2r

 

 

 

 

 

 

 

 

 

 

 

 

 

 

V =

 

 

 

 

1

 

r H

w f

0c

.

 

(2.22)

 

 

 

 

 

 

 

 

 

 

 

 

 

 

 

 

 

 

 

 

 

18μ

 

 

 

 

1

 

 

 

 

0

 

 

 

 

 

 

 

 

 

 

 

 

 

 

 

 

 

 

 

 

 

 

 

 

 

 

 

 

 

Таким образом, формула (2.22) аналогична формуле (2.21), т. е. производительность отстойной центрифуги равна произведению скорости осаждения частицы в поле действия центробежных сил на

29

поверхность осаждения. Формула (2.22) дает оценку влияния основных параметров на процесс осаждения.

Тарельчатый сепаратор. Отстойные сверхцентрифуги для разделения эмульсий часто называют сепараторами. Их можно использовать и для осветления жидкостей. Сепараторы выполняются с диаметром барабана 150–300 мм, который вращается со скоростью

5 000–10 000 об/мин.

Работу сепаратора рассмотрим на примере молочного сепаратора (рис. 2.12) [2] .

Рис. 2.12. Схема барабана сепаратора:

1 – труба; 2 – центральная труба; 3 – пакет конических тарелок; 4 – тарелкодержатель; 5 – разделительная тарелка; 6, 8 – регулировочные винты;

7 – канал для отвода легкого компонента; 9 – корпус барабана; 10 – днище барабана; 11 – прокладка; 12 – гайка

Молоко по неподвижной трубе 1 подается в центральную трубу 2, откуда поступает в пакет конических тарелок 3. Тарелки молочных сепараторов имеют три отверстия через 120°, а на их внут-

30