Материал: Методы регистрации частиц. Ускорители частиц

Внимание! Если размещение файла нарушает Ваши авторские права, то обязательно сообщите нам

Рис. 45 - С. Ливингстоун и Э. Лоуренс у 27-дюймового циклотрона, который широко использовался в экспериментальных исследованиях ядерных реакций и искусственной радиоактивности

Рис. 46 - Схема циклотрона: вид сверху и сбоку: 1 - источник тяжелых заряженных частиц (протонов, ионов), 2 - орбита ускоряемой частицы, 3 - ускоряющие электроды (дуанты), 4 - генератор ускоряющего поля, 5 - электромагнит

Стрелки показывают силовые линии магнитного поля). Они перпендикулярны плоскости верхнего рисунка

Схема устройства циклотрона показана на рис.3. Тяжелые заряженные частицы (протоны, ионы) попадают в камеру из инжектора вблизи центра камеры и ускоряются переменным полем фиксированной частоты, приложенным к ускоряющим электродам (их два и они называются дуантами). Частицы с зарядом Ze и массой m движутся в постоянном магнитном поле напряженностью B, направленном перпендикулярно плоскости движения частиц, по раскручивающейся спирали. Радиус R траектории частицы, имеющей скорость v, определяется формулой,

 (1)

где  - релятивистский фактор.

В циклотроне для нерелятивистской (γ ≈ 1) частицы в постоянном и однородном магнитном поле радиус орбиты пропорционален скорости (1), а период обращения

 (2)

т. е. не зависит от энергии частицы. В зазоре между дуантами частицы ускоряются импульсным электрическим полем (внутри полых металлических дуантов электрического поля нет). В результате энергия и радиус орбиты возрастают. Повторяя ускорение электрическим полем на каждом обороте, энергию и радиус орбиты доводят до максимально допустимых значений. На последнем витке спирали включается отклоняющее электрическое поле, выводящее пучок наружу. Постоянство магнитного поля и частоты ускоряющего поля делают возможным непрерывный режим ускорения. Пока одни частицы двигаются по внешним виткам спирали, другие находятся в середине пути, а третьи только начинают движение.

Недостатком циклотрона является ограничение существенно нерелятивистскими энергиями частиц, так как даже не очень большие релятивистские поправки (отклонения γ от единицы) нарушают синхронность ускорения на разных витках и частицы с существенно возросшими энергиями уже не успевают оказаться в зазоре между дуантами в нужной для ускорения фазе электрического поля. В обычных циклотронах протоны можно ускорять до 20-25 МэВ.

Для ускорения тяжёлых частиц в режиме раскручивающейся спирали до энергий в десятки раз больших (вплоть до 1000 МэВ) используют модификацию циклотрона, называемую изохронным (релятивистским) циклотроном, а также фазотрон. В изохронных циклотронах релятивистские эффекты компенсируются радиальным возрастанием магнитного поля.

Бетатрон.

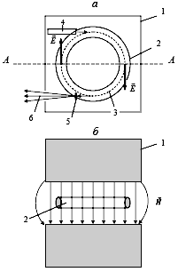
Рис. 47 - Схема бетатрона: а) вид сверху, б) сечение по линии АА. Показаны вектора Е и Н напряженностей электрического и магнитного полей. 1 - электромагнит, 2 - вакуумная камера, 3 - орбита электрона, 4 - инжектор, 5 - тормозная мишень, 6 - тормозное излучение

Первым циклическим ускорителем электронов явился бетатрон. Его первый экземпляр был построен в 1940 г. Д. Керстом. Бетатрон - это индукционный ускоритель, в котором энергия электронов увеличивается за счет вихревого электрического поля, создаваемого изменяющимся магнитным потоком, направленным перпендикулярно к плоскости орбиты частиц. Электроны двигаются по круговой орбите постоянного радиуса в нарастающем во времени по синусоидальному закону магнитном поле (обычно промышленной частоты 50 Гц). Удержание электронов на орбите постоянного радиуса обеспечивается определенным образом подобранным соотношением между величинами магнитного поля на орбите и внутри неё. Рабочим циклом является первая (нарастающая) четверть периода магнитного поля.

Бетатрон конструктивно представляет собой большой электромагнит, между полюсами которого расположена тороидальная вакуумная камера (см. рисунок). Электромагнит создаёт в зазоре между полюсами переменное (меняющееся со временем по закону синуса, обычно с промышленной частотой 50 Гц) магнитное поле напряженностью H, которое в плоскости вакуумной камеры создаёт вихревое электрическое поле Е (э.д.с. индукции). В вакуумную камеру с помощью инжектора (электронная пушка) в начале каждого периода нарастания магнитного поля (т.е. с частотой 50 Гц) впрыскиваются электроны, которые увлекаются вихревым электрическим полем Е в процесс ускорения по круговой орбите. В момент, когда магнитное поле достигает максимального значения (в конце первой четверти каждого периода), процесс ускорения электронов прекращается и сменяется их замедлением, так как вихревое поле Е меняет направление, а э.д.с. индукции - знак.

Электроны, достигшие наибольшей энергии, смещаются с равновесной орбиты и либо выводятся из камеры, либо направляются на специальную мишень внутри камеры, называемую тормозной. Торможение электронов в этой мишени в кулоновском поле ядер и электронов приводит к возникновению электромагнитного тормозного излучения, максимальная энергия которого  равна кинетической энергии Ее электронов в конце ускорения:  = Ее. Тормозные фотоны летят в направлении движения первичных электронов в узком конусе. Их энергетический спектр непрерывен, причем, чем меньше энергия фотонов, тем их больше в тормозном излучении. Формирование высокоэнергичного электромагнитного γ-излучения торможением высокоэнергичных электронов в мишени - наиболее простой и эффективный способ создания пучка γ-квантов высокой энергии для экспериментов в области ядерной физики и физики частиц.

Бетатроны преимущественно и используются как источники тормозного излучения. Благодаря простоте конструкции и управления, а также дешевизне бетатроны получили широкое применение в прикладных целях в диапазоне энергий 20-50 МэВ. Создание бетатронов на более высокие энергии сопряжено с необходимостью использования электромагнитов слишком большого размера и веса (магнитное поле приходится создавать не только на орбите, но и внутри неё).

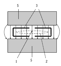
Микротрон.

Рис. 48 - Схема микротрона

В циклотронах нельзя ускорять электроны по той же схеме, как и протоны, так как они быстро достигают релятивистских скоростей. Тем не менее существуют ускорители (микротроны), в которых электроны, также как и протоны в циклотроне, многократно ускоряются импульсами высокочастотного электрического поля в постоянном однородном магнитном поле (принцип действия микротрона предложен в 1944 г. В. Векслером). В микротроне (рис. 1) частицы вводятся в ускорительную камеру не в центральной части магнитного поля, как в циклотроне, а на его краю. В месте ввода частиц помещается полый ускоряющий резонатор. При каждом обороте электроны получают энергию » 0.5 МэВ и попадают в резонатор точно в момент ускорения на каждом витке (период n-го оборота кратен периоду первого оборота). Электроны движутся по окружности увеличивающегося радиуса, причём все окружности касаются внутри резонатора. Энергии электронов в “классических” микротронах обычно не превышают 30 МэВ и ограничиваются размерами постоянного магнита и возрастающими требованиями к однородности его поля при увеличении габаритов ускорителя.

Рис. 49 - Схема разрезного микротрона

В настоящее время ограничения на энергии микротронов сняты использованием его варианта, названного разрезным микротроном (предложен А. Коломенским). Переход от классического микротрона к разрезному можно пояснить с помощью рис. 2.

Если магнит классического микротрона “разрезать” на две одинаковые части вдоль пунктирной линии АА и две эти части раздвинуть, оставив ускоряющий резонатор между половинками магнита, то приходим к схеме разрезного микротрона.

Теперь пространство между магнитами позволяет заменить небольшой резонатор, допускающий лишь малый ≈0.5 МэВ) прирост энергии за оборот, на самостоятельный (линейный) ускоритель с энергией ≈10 МэВ и более и это позволит многократно увеличить конечную энергию электронов (есть разрезные микротроны на энергию ≈1 ГэВ).

Ускорение электронов по схеме разрезного микротрона или сходной с ней в настоящее время используется для генерации пучков электронов большой энергии в непрерывном режиме. Дело в том, что ускорители, как правило, работают в импульсном режиме, т. е., например, электроны в них ускоряются в течение короткого временнoго промежутка ∆t, когда возможно ускорение, после чего следует сравнительно длительная пауза для возврата в режим нового цикла ускорения.

Период времени Т между циклами ускорения обычно много больше длительности электронного импульса (Т >> ∆t). Характерная величина D = ∆t/T, называемой рабочим циклом, ≈10-3. Таким образом, для физических экспериментов удается использовать лишь ≈0.1% времени работы ускорителя.

Ускорение электронов по схеме разрезного микротрона позволяет осуществить непрерывный режим работы ускорителя, когда D равен или близок к единице.

Это достигается непрерывностью режима работы основной ускорительной структуры (линейного ускорителя), расположенной между разделенными частями постоянного магнита микротрона.

В микротроне непрерывного действия вся ускорительная камера заполнена электронами, находящимися на всех стадиях ускорения - от начальной (т.е. с наименьшей энергией) до максимально возможной. Непрерывный режим работы такого ускорителя позволяет использовать для экспериментов все время его работы и, тем самым, повысить количество актов изучаемого взаимодействия за фиксированное время в ≈1/D103 раз, что особенно важно для исследования редких событий.

Крупнейшим ускорителем электронов, работающим в непрерывном режиме (D = 1) является ускоритель Национальной лаборатории им. Томаса Джеферсона (TJNAF) в г. Ньюпорт-Ньюс (США).

Он использует сверхпроводящие ускорительные структуры и позволяет ускорять электроны до энергии 5.71 ГэВ. Ток его электронного пучка 200 мкА.

Энергетическое разрешение ∆E/E = 2.5*10-5.

Синхротрон.

Рис. 50 - Схема синхротрона

Синхротрон - кольцевой циклический ускоритель заряженных частиц, в котором частицы двигаются по орбите неизменного радиуса за счёт того, что темп нарастания их энергии в ускоряющих промежутках синхронизован со скоростью нарастания магнитного поля на орбите. Он позволяет ускорять как лёгкие заряженные частицы (электроны, позитроны), так и тяжёлые (протоны, антипротоны, ионы) до самых больших энергий. В настоящее время все циклические ускорители на максимальные энергии - это ускорители синхротронного тип (их принцип предложен в 1944 г. В. Векслером (СССР) и независимо в 1945 г. Э. Макмилланом (США).

В синхротронах (рис. 1) магнитное поле переменное и частицы двигаются по одной и той же замкнутой траектории, многократно проходя прямолинейные промежутки с ускоряющим электрическим полем радиочастотного диапазона. Частицы, увеличивающие свою энергию, удерживаются на фиксированной орбите с помощью нарастающего поля мощных отклоняющих (в том числе и сверхпроводящих) кольцевых магнитов. Для удержания частиц на орбите постоянного радиуса темп нарастания поля синхронизован с темпом нарастания энергии частиц (отсюда происходит название этого типа ускорителя). По достижении максимального магнитного поля ускоренные частицы либо направляются на неподвижную мишень, либо (в коллайдерах) сталкиваются со встречным пучком, после чего цикл ускорения повторяется. В синхротронах есть два типа чередующихся кольцевых магнитов: отклоняющие двухполюсные (дипольные), удерживающие частицы на орбите, и фокусирующие четырёхполюсные (квадрупольные). Последние фокусируют частицы (как линзы свет), собирая их в узкий пучок, циркулирующий в вакуумной камере.

Когда скорость частицы близка к скорости света, соотношение между кинетической энергией частицы Е и радиусом траектории R имеет в системе СИ вид

= cqHR (1)

где H - величина напряженности магнитного поля, а q - заряд частицы. Поэтому максимально достижимая энергия частицы пропорциональна радиусу траектории и величине магнитного поля. Сократить размеры установки можно, увеличивая величину поля, а она ограничена эффектом насыщения металла (обычно, железа), используемого в качестве материала сердечника электромагнита. В самых современных ускорителях, в этой связи, используются электромагниты с катушкой из сверхпроводящего материала, работающие при температуре жидкого гелия.

Синхротроны используют как для ускорения тяжелых заряженных частиц (протонов, ионов), так и для ускорения электронов. Однако в случае электронов при высоких энергиях становятся существенными потери ими энергии на излучение (называемое синхротронным) при криволинейном движении по орбите. Мощность синхротронного излучения Р для релятивистской частицы следующим образом зависит от её массы m энергии Е и радиуса траектории R:

~ (2)

Таким образом, если электроны и протоны одинаковых энергий, двигаются по орбитам одного радиуса, то потери энергии на синхротронное излучение у электронов будут в (mp/me)4≈1013 раз больше. Поэтому на синхротронах пока не удалось ускорить электроны до энергий бoльших 100 ГэВ. Крупнейшим современным синхротроном является синхротрон в Батавии (США). Он ускоряет протоны и антипротоны до энергии 1 ТэВ = 1012 эВ и называется Теватрон. Радиус круговой орбиты в этом ускорителе 1 км.

В 80-е годы ХХ века было предложено сразу нескольких проектов строительства коллайдеров с энергией соударения, достигающей десятков ТэВ. Однако сложность их реализации привела к тому, что в настоящее время сооружается лишь один такой коллайдер, где будут сталкиваться протоны с суммарной энергией соударения 14 ТэВ в системе центра инерции. Он носит название “Большой адронный коллайдер” (LHC - Large Hadron Collider) и создается в CERN.

На рис. 2 показан фрагмент кольца протонного синхротрона на энергию 7 ТэВ в ЦЕРН (г. Женева, Швейцария), который входит в состав установки LHC (Large Hadron Collider). Длина его кольца 26.7 км.

Синхофазатрон.

Синхрофазотрон - циклический резонансный ускоритель тяжелых заряженных частиц (протонов, ионов), в котором объединяются свойства фазотрона и синхротрона. Здесь управляющее магнитное поле и частота ускоряющего электрического поля одновременно изменяются во времени так, чтобы радиус равновесной орбиты частиц оставался постоянным.

Рассмотрим действие лоренцевой силы и рассчитаем энергию протонного ускорителя, представляющего собой кольцевой магнит диаметром 2 км. Между полюсами этого магнита расположена тороидальная вакуумная камера, в которую инжектирован пучек протонов. Если смотреть на ускоритель сверху (рис. 4.6), то пучок протонов движется по часовой стрелке со скоростью υ, близкой к скорости света.