U |
ВХ |
,U |
ВЫХ |
|
|||
|
|
|
|
||||
|
|
|
|
|
|
U |
0 |
|
|
|
|
|
|
|
|
T |
|
|
U |
0 |
|
||
|
|
|
|
|
|
|
|
|
1 |
|
t |
|
t |
|
|
|
|
|
2 |
|
|||
|
|
|
|
|
1 |
|
|
t1
T |
|
|
U |
0 |
|
|
|
|
|||
1 |
|
t |
|
t |
|
|
|
2 |
|||
|
|
|
|
1 |
|
UВХ
t
t |
2 |
t |
3 |
t |
4 |
|
|
|
Рис. 2.14. Кривые переходных процессов с выхода реального Д-звена при линейно изменяющемся входном сигнале
|
|
Входное напряжение на промежутке времени |
t |
1 |
||||
|
|
|
|
|
|
|
|
|
нарастает, т.е. его можно представить, как |
U |
|
||||||
|
|
|
|
|
|
|
ВХ |
|
k |
|
U |
0 |
. |
|
|
|
|
|
|
|
|
|
|
|||
|
|
|
|
|
|
|
|
|
|
t |
2 |
t |
1 |
|
|
|
|
|
|
|
|
|
|
|
||
t2
k
линейноt , где
Продифференцировав эту зависимость, получим |
|
|
|
|||||||||||||||||
|
|
|
|
|
U0 |
|
|
|
|
|
|
|
U0 |
|
|
|
|
|||
|
|
|
|
|
|
|
|
|
|
|
|
|
||||||||
T1 UВХ |
|
|
|
|
|
|
t |
|
|
T1 |
|
|
|
|
|
|
. |
|
||
|
t |
|
t |
|
|
|
t |
|
|
|
t |
|
|
|||||||
|
|
|
|
2 |
1 |
|
|
|
|
2 |
1 |
|
|
|
||||||
|
|
|
|
|
|
|
|
|
|
|
|
|
||||||||
UВХ на промежутке |
|
|
t2 |
t3 |
|
постоянно, |
поэтому его |
|||||||||||||
производная равна нулю. На |
|
промежутке t3 t4 производная |
||||||||||||||||||
входного сигнала отрицательная |
|
|
|
|
|
|
|
|
|
|
|
|
|
|
|
|||||
|
|
|
|
|
U0 |
|
|
|
|
|
|
|
|
|
U0 |
|
|
|
||
|
|
|
|
|
|
|
|
|
|
|
|
|
|
|||||||
T1 UВХ |
|
|
|
|
|
|
|
|
|
T1 |
|
|
|
|
|
|
|
|
||
|
|
|
|
|
|
|
|
|
|
|
. |
|||||||||
|
t2 t1 |
t |
|
|
t |
2 t |
||||||||||||||
|
|
|
|
|
|
|
|
|
|
|
1 |
|
||||||||
68
2.3. Исследование свойств задатчика интенсивности (ЗИ)
Структурная схема задатчика интенсивности состоит из двух последовательно соединенных блоков – релейного элемента РЭ и интегрирующего звена И, охваченных единичной отрицательной обратной связью, рис. 2.15.
UВХ
U
РЭ |
|
|
U |
0 |
|
|
|
|
|
U |
0 |
|
|
|
UРЭ
И |
|
1 |
|
T |
р |
ЗИ |
|
UВЫХ
UВХ
Рис. 2.15. Структурная схема задатчика интенсивности
- входной сигнал ЗИ; |
U |
ВЫХ |
- выходное напряжение ЗИ; |
U |
|
|
|
|
-
разность между элемента.
UВХ
и UВЫХ ;
UРЭ
- напряжение с выхода релейного
ЗИ служит для ограничения темпа нарастания (спадания) входного напряжения. Если темп входного сигнала выше заданного задатчиком интенсивности, то задатчик ограничит темп. И, наоборот, если темп изменения входного сигнала ниже граничного темпа ЗИ, выходной сигнал будет повторять входной (режим слежения ЗИ).
Рассмотрим реакцию ЗИ на скачкообразное входное воздействие. Скачкообразный входной сигнал – это сигнал с крутым фронтом (момент времени t1), ЗИ отработает его с граничной интенсивностью, (рис. 2.16).
69
U
UВХ
U1 

UВЫХ
|
|
|
|
|
|
|
t |
t |
t |
t |
2 |
t |
3 |
t |
4 |
1 |
Н |
|
|
||||
|
|
|
|
|
|
|
Рис. 2.16. Переходные процессы ЗИ при скачкообразном входном сигнале
Время нарастания выходного напряжения до уровня входного можно определить по формуле
где
U |
0 |
|
|
T |
|
ЗИ |
|
tН U ВХ TЗИ ,
U0
-напряжение ограничения релейного элемента;
-постоянная времени ЗИ.
Граничный темп – это темп самого задатчика, работающего в режиме ограничения. Граничный темп ЗИ устанавливается двумя
параметрами:
U |
0 |
|
и TЗИ
.
На рис. 2.17 приведены переходные процессы реакции ЗИ на двойное ступенчатое воздействие.
70
U |
ВХ |
,U |
ВЫХ |
, |
|
|
|
||
U |
РЭ |
, U |
|
|
|
|
|
|
|
U |
2 |
|
|
U |
0 |
|
|
U |
|
|
1 |
t1
U |
0 |
|
U U |
2 |
|
t |
2 |
|
U |
|
|
|
ВХ |
|
|
|
|
|
граничная |
|
|
|
|
|
|
UВЫХ |
интенсивность |
|
UРЭ |
|
задатчика |
|
|
|
||
|
|
|
|
|
|
|
t |
t |
3 |
t |
4 |
t |
5 |
t |
6 |
|
|
|
|
||||
|
|
|
|
|
|
|
U |
Рис. 2.17. Переходные процессы ЗИ при скачкообразном входном сигнале
В момент
напряжения U |
1 |
|
времени , при этом
t |
на вход задатчика подается скачок |
||
1 |
|
|
|
U =U |
1 |
, релейный элемент РЭ заходит |
|
|
|
|
|
вположительное ограничение, его выходное напряжение равно
U0 , это напряжение подается на вход интегратора И, интегратор
начинает интегрировать постоянное напряжение U0 , выходное
напряжение ЗИ линейно увеличивается (участок времени |
t |
t |
2 |
), |
|
1 |
|
|
при этом уменьшается разность между входным и выходным
сигналами ЗИ |
U . Как только уровень |
выходного сигнала |
|||
достигнет уровня входного (момент времени |
t |
2 |
), разность |
U |
|
|
|
|
|
|
|
станет равной 0, при этом выходное напряжение РЭ станет равным нулю, а интегратор перестанет интегрировать напряжение
на его входе до момента времени t3 . То же самое происходит в промежуток времени t3 t4 . В момент времени t5 входное
71
напряжение скачком уменьшается до нуля, при этом разница
напряжений |
U |
становится |
отрицательной, РЭ заходит в |
|||
отрицательное ограничение, на |
его выходе напряжение |
U |
0 |
, |
||
|
|
|
|
|
|
|
которое подается на вход интегратора И, интегратор начинает интегрировать отрицательное напряжение (участок времени
t5 t6 ), выходное напряжение ЗИ линейно уменьшается до нуля с интенсивностью, заданной самим задатчиком, при этом разностьU также линейно уменьшается до нуля.
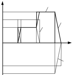
На рис.2.18 приведены переходные процессы реакции ЗИ на линейное входное воздействие.
U |
ВХ |
,U |
ВЫХ |
, |
|
|
|
||
U |
РЭ |
, U |
|
|
|
|
|
|
|
|
|
|
|
U |
|
|
|
|
ВХ |
U |
2 |
|
U |
0 |
U |
|
|
ВЫХ |
|
|
U |
|
|
РЭ |
|
|
U |
t1 t2
UРЭ
|
интенсивность U |
ВХ |
|
|
|
|
|
|
|
|
|
|
меньше граничной ЗИ |
||
t
t3 |
t4 |
Рис. 2.18. Переходные процессы ЗИ при линейном входном сигнале
На участке
t |
1 |
t |
2 |
|
|
интенсивность нарастания входного
напряжения выше граничной интенсивности ЗИ. На участке
t |
3 |
t |
4 |
|
|
интенсивность входного напряжения совпадает с интенсивностью выходного (режим слежения ЗИ).
72