Материал: konspekt_vpe

Внимание! Если размещение файла нарушает Ваши авторские права, то обязательно сообщите нам

41

Рисунок 3. Амплітудні характеристики пролітного дворезонаторного клістрона.

Вихідна потужність залежить від струму електронного пучка, напруги прискорення, потужності вхідного сигналу і налаштування резонаторів. Напруга прискорення підбирається таким чином, щоб забезпечити оптимальне групування електронного пучка в області вихідного резонатора.

Максимум характеристики рис.3а відповідає оптимальним умовам групування. Подальше збільшення вхідної потужності приводить до того, що в області вихідного резонатора відбувається розгрупування електронів, і

потужність на виході падає. Вихідна потужність багаторезонаторних клістронів в режимі безперервного генерування доходить до 100 кВт, а в імпульсному режимі — до десятків мегават.

Смуга робочих частот в дворезонаторному клістроні залежить від смуги пропускання резонаторів і складає менше 1%. У багаторезонаторних клістронах при взаємному розладі резонаторів смуга пропускання досягає 10%.

В цьому випадку вихідний резонатор також налаштовується на частоту коливань, що посилюються. Якщо попередні резонатори забезпечують смугу 5 - 10%, то навантажена добротність Qн вихідного резонатора має бути не більше 10 ... 20. У меншій мірі смуга пропускання пролітного клістрона залежить від напруги прискорення,

відстані між резонаторами і амплітудами вхідного сигналу.

Фазочастотна характеристика залежить від взаємного розладу резонаторів. Відповідним розладом резонаторів можна добитися досить лінійної фазочастотної характеристики клістрона, пульсації напруги прискорення приводять до паразитної фазової модуляції вихідного сигналу.

Електронний ККД дворезонаторного клістрона не перевищує 59%, в багаторезонаторних клістронах він може досягати 80%. У табл.1 приведені параметри типових підсилювальних пролітних клістронів.

Таблиця 1. Усереднені параметри пролітних клістронів.

ВИД клістрона

Діапазон частот,

Вихідна

U0, кВ

I0, A

Коефіцієнт

 

МГц

потужність,кВт

 

 

посилення, дБ

 

 

 

 

 

 

Дворезонаторний,

5965..-6385

0,004

0,6

0, 1

7... 10

безперервного режиму

 

 

 

 

 

 

 

 

 

 

 

Чотирихрезонаторний,

10 000..- 11 000

20

21

3,1

57

безперервного режиму

 

 

 

 

 

 

 

 

 

 

 

П'ятирезонаторний,

2650..-3950

500

63

140

56

безперервного режиму

 

 

 

 

 

 

 

 

 

 

 

42

Пролітні клістрони в основному застосовуються як вихідні підсилювачі радіолокаційних і телевізійних передавачів. Імпульсні клістрони великої потужності використовуються для живлення лінійних прискорювачів в плазматронах. Також широке застосування клістрони знайшли в технологічних процесах сушки діелектричних матеріалів, знезараження ґрунту та інших.

Клістрони помножувачі частоти використовуються головним чином в тих випадках, коли потрібно

отримати НВЧколивання високої стабільності. Збудником помножувача частоти служить стабілізований кварцом

генератор метрового діапазону. При коефіцієнті множення n = 10 і більш на виході помножувача можна отримати

високостабільні коливання дециметрового і сантиметрового діапазонів.

1.4. Відбивні клістрони

Відбивний клістрон — електровакуумний прилад, що працює за принципом короткочасної взаємодії

електронів з електричним полем одного резонатора в якому електрони, пролетівши в одному напрямку,

повертаються гальмівним полем відбивача і повторно пролітають зазор резонатора.

На рис.4 наведена загальна схема відбивного клістрона. Роботу відбивного клістрона можна пояснити

таким чином. Електрони, прискорені напругою Uрез, потрапляють у резонатор, де вони модулюються за швидкістю коливаннями високочастотного електричного поля. Пролетівши резонатор, електрони потрапляють в простір між

резонатором і відбивачем. Останній, маючи негативний потенціал, гальмує електрони і повертає їх назад в

резонатор. При гальмуванні і поверненні електрони формуються в згустки.

Рисунок 4. Загальна схема конструкції відбивного клістрона

Розгледимо процес групування електронів в згустки за допомогою просторово-часової діаграми, представленої на рисунку 5. Електрони пучка влітають в резонатор з однаковою швидкістю v0 і в різний час t. Електрон 1, що вилетів з резонатора у момент часу t1 і зазор резонатора, що пролетів, в прискорювальному НВЧ - полі u1, збільшує свою швидкість (v1> v0). Електрон 2, що влетів у резонатор трохи пізніше (момент часу t2) і зазор, що пролетів, у той момент, коли високочастотне поле було дорівнює нулю, не змінює свою швидкість (v2= v0). Електрон 3, що влетів у резонатор ще пізніше (момент часу t3) і резонатор, що пролетів, у гальмуючому НВЧполе, зменшує свою швидкість (v3 < v0). Як показано на рис. 5, електрони 1, 2, 3 залежно від часу вильоту пройдуть різні шляхи z і затратять на це різний час, але при певній напрузі на відбивачі можуть вернутися в резонатор у один і той же час tn.

z

 

 

 

 

 

D

d

 

 

 

 

 

2

 

 

 

U відб

 

 

 

 

 

 

v1 v0

 

 

 

 

 

 

v2 v0

v3 v0

 

 

 

t1

t 2

t3

tn

t

Рисунок 5. Просторово-часова діаграма руху електронів у відбивному клістроні.

43

Для того, щоб клістрон зміг генерувати незгасаючі НВЧ - коливання, згустки електронів, при зворотному

русі, повинні проходити через резонатор в гальмівну фазу високочастотного поля. Цьому режиму відповідають

оптимальний час прольоту tопт електронів в просторі групування і оптимальний кут прольоту:

опт = tопт = 3/2

(2)

Зміна кута прольоту приводить до зменшення часу ефективної взаємодії електронів, що повертаються зі НВЧ-

полем резонатора і, як наслідок, зменшення амплітуди коливань і, нарешті, зриву генерації. Природно, що зміна

кута прольоту на 2 знову відновлює оптимальну умову генерації. Таким чином, оптимальний кут прольоту

 

опт = tопт = 3/2 + 2 n

(1.9)

де п =1, 2, 3...—ціле число, що визначає номер зони генерації.

Кут прольоту міняється регулюванням напруги Uвідб на відбивачі.

Розгледимо основні параметри і характеристики відбивних клістронів.

Вихідна потужність відбивних клістронів не перевищує декількох ватів. На рис. 6,а показана залежність

цієї потужності від напруги на відбивачі в різних зонах генерації. Чим вище номер зони, тобто чим менше напруга

на відбивачі, тим менша вихідна потужність клістрона. Пояснюється це зменшенням модуляції пучка по щільності

із-за взаємного розштовхування електронів. Відбивні клістрони мають малий ККД (1... 3%), тому не можуть

розроблятися на великі потужності.

Рисунок 6. Характеристики відбивного клістрона: а — зміна потужності в зоні генерації; б — зміна частоти в

зоні генерації.

Частота коливань клістрона може мінятися в широких межах механічною перебудовою резонатора і у

вузькому діапазоні частот в межах зони генерації шляхом зміни напруги на відбивному електроді (рис. 6б).

Відхилення частоти генерації клістрона, при зміні напруги на відбивачі, пояснюється зміною реактивної

провідності, при проходженні електронного потоку резонатора клістрона.

Клістрони, що випускаються промисловістю, мають діапазон електронної перебудови f = 10.-..20 МГц на хвилях 0 = 10 см і f = 20-.50 МГц на хвилях 0 = 3 см. Діапазон механічної перебудови частоти в межах однієї зони генерації не перевищує ±25% середньої частоти. При зміні зони генерації діапазон механічної перебудови частоти можна збільшити до октави і більше. У таблиці. 2 приведені параметри типових відбивних клістронів.

Таблиця 2. Усереднені параметри відбивних клістронів

Потужність, що генерується, мВт

Робочий діапазон частот, ГГц

U0, B

Ia,mA

Uвідб, В

Діапазон

електричної настройки, Мгц

 

 

 

 

80... 140

1.15...3,75

300

30

110...230

 

20

 

 

 

 

 

 

 

44

20

...30

...8,5

9,6

300 .

25

...130

185

 

55

 

 

 

 

 

 

 

 

 

2. ..

700

3,5...

4,3

750

80

800

 

20

 

 

 

 

 

 

 

 

 

 

15...

30

48...

60

600

25

150...

450

60

. ..180

 

 

 

 

 

 

 

 

 

 

Відбивні клістрони застосовуються як гетеродини НВЧ - приймачів, задавальні генератори передавачів,

малопотужні однокаскадні генератори передавачів і у вимірювальній техніці.

Можливість електронної перебудови частоти клістрона дозволяє відносно просто вирішувати завдання автоматичного налаштування частоти гетеродина і стабілізації частоти задавального генератора передавача.

Відбивні клістрони можуть бути виконані в металевому оформленні з внутрішнім резонатором і в скляному балоні із зовнішнім резонатором. Найчастіше використовуються зовнішні резонатори тороподібної форми.

1.5. Лампи хвилі, що біжить.

Лампою хвилі що біжить (ЛБХ) називають прилад, який працює по принципу розподіленої взаємодії електронного потоку з прямою, рухомою уповільненою електромагнітною хвилею.

Це високоефективний підсилювач з широкою смугою посилення (порядку 20-30% від середньої робочої частоти), високим коефіцієнтом посилення (порядку 20-60дБ) та низьким рівнем технічних та природніх шумів.

Високий коефіцієнт посилення досягається завдяки тривалої взаємодії згустків електронного потоку з високочастотним полем уповільнюючих систем, які знижують фазову швидкість електромагнітної хвилі до швидкості електронів. Для різних частотних діапазонів використовуються різні уповільнюючі структури:

спіральні, циліндричні, гребінці та інші. Саме вони визначають частотний діапазон роботи приладу.

Спіральна уповільнююча система в ЛБХ використовується до 30 ГГц. При збільшенні частоти виникають труднощі пов‗язані з виводом енергії та відводом тепла, що частково знімається завдяки резонансним та планарним відкритим системам.

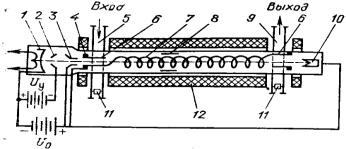
Конструкція ЛБХ, приведена на рис.7. Джерелом електронів є електронна гармата, утворена катодом,

керуючим електродом, першим та другим анаодами. Електронна гармата забезпечує необхідну швидкість,

начальне фокусування та керування струмом електронного потоку. Керування струму потоку відбувається за допомогою керуючого потенціалу Uкер. Швидкість потоку визначається прискорюючим потенціалом U0.

Рисунок 7. Лампа хвилі, що біжить: 1- катод; 2 – керуючий електрод; 3—перший анод; 4 — другий анод; 5

— вхідний хвилевід; 6 — перехід, що погоджує; 7—спіральна уповільнююча система; 8—локальний поглинач; 9—

вихідний хвилевід: 10 — колектор; 11 — пристрій узгодження; 12 — фокусуюча система.

Форма електродів гармати, їх взаємне розташування і потенціали на них відносно катода в сукупності діють як електронна лінза, що фокусує електронний пучок. Для фокусування електронного пучка при його русі всередині спіралі використовується магнітне поле.

Для створення магнітного поля застосовується соленоїд або кільцеві магніти фокусуючої системи (ЛБХ, що пакетуються), які не вимагають джерела живлення і дозволяють отримати кращу якість фокусування пучка.

45

У якості хвилеводно-коливної системи ЛБХ використовується спіраль, яка разом з кожухом складає спіральну уповільнюючу систему. Електронний пучок, усередині спіралі, спочатку модулюється по швидкості і щільності подовжньої складової НВЧполя хвилі, а потім віддає частку енергії своїх електронів цій хвилі, що приводить до посилення вхідного сигналу.

Перехід, що погоджує, є елементом спіральної уповільнюючої системи з вхідним і вихідним хвилеводами.

До вхідного хвилеводу підводиться сигнал посилення, а посилений відводяться вихідним хвилеводом. Для підстроювання узгодження вхідного і вихідного хвилеводів з уповільнюючою системою передбачені елементи налаштування пристрою узгодження. Для розв'язки виходу і входу ЛБХ, а також запобігання самозбудженню на систему кріплення спіралі (керамічні або кварцові стрижні) наносять шар поглинача (локальний поглинач).

Поглинач розташовують на достатньому видаленні від входу, щоб забезпечити хороше групування електронів, і на достатньому видаленні від виходу, щоб забезпечити максимальну передачу енергії пучка НВЧ - полю (отримати великий коефіцієнт посилення).

Розгледимо основні параметри і характеристики ЛБХ. Характер залежності вихідної потужності від потужності вхідного сигналу (амплітудна характеристика) і коефіцієнта посилення приведені на рис.8.

Рисунок8. Амплітудні характеристики лампи хвилі, що біжить Лінійний режим роботи лампи зберігається до тих пір, поки всі електрони згустків знаходяться протягом

всього часу взаємодії в гальмівному НВЧ - полі. При подальшому збільшенні амплітуди поля частина електронів, в

кінці інтервалу взаємодії, потрапляє в прискорююче НВЧ поле, що приводить до зменшення коефіцієнта посилення. Максимальна вихідна потужність ЛБХ відповідає режиму насичення.

Залежно від вхідної потужності ЛБХ розділяють на прилади малої потужності (Рвих в режимі насичення не перевищує 1 Вт), середньої потужності (Рвих= 1...100 Вт), великої потужності (Рвих >100 Вт) і надпотужні (Рвих>100 кВт).

Коефіцієнт посилення ЛБХ залежить від вхідної потужності, частоти сигналу, режимів живлення,

навантаження, а також інших факторів. Коефіцієнт посилення (у децибелах) в лінійному режимі роботи ЛБХ визначається рівнянням

 

(1.10)

де

параметр посилення; I0 — струм електронного пучка; U0 прискорювальний потенціал;

Rопір зв'язку (величина, що визначає ефективність зв'язку електронного пучка зі НВЧ - полем уповільнюючої системи); lе=l / зам електрична довжина уповільнюючої системи; l — геометрична довжина уповільнюючої системи; n загасання локального поглинача.

Із приведених формул і аналізу принципу дії відносно лінійного режиму роботи ЛБХ необхідно зробити наступні висновки:

а) посилення зростає із збільшенням струму пучка I0, оскільки збільшується кількість електронів, що взаємодіють з електромагнітною хвилею;