Материал: konspekt_vpe

Внимание! Если размещение файла нарушает Ваши авторские права, то обязательно сообщите нам

46

б) посилення зростає із збільшенням електричної довжини lе уповільнюючої системи, оскільки збільшується час взаємодії електронів з електромагнітною хвилею. Зазвичай 1= (10... ...30) зам. При подальшому збільшенні lе

виникає нелінійна залежність і коефіцієнт посилення не зростає;

в) локальний поглинач зменшує посилення. Проте це зменшення легко компенсується збільшенням довжини спіралі і відсутність загрози самозбудження лампи, що дозволяє підвищити коефіцієнт посилення;

г) зміна прискорюючої напруги викликає розсинхронізацію пучка і хвилі, що приводить до зменшення коефіцієнта посилення (рис.8). Різні типи ЛБХ мають коефіцієнт посилення в межах 15... 60 дБ.

Частотна характеристика лампи хвилі, що біжить, приведена на мал.9. Частотні властивості ЛБХ визначаються властивостями уповільнюючої системи, якістю узгодження виводів і локального поглинача,

режимом живлення та іншими. Якість частотної характеристики оцінюється нерівномірністю посилення в діапазоні частот. У широкосмугових ЛБХ (смуга біля однієї октави) різниця між максимальним і мінімальним посиленням досягає 6... 8 дБ. Діапазон робочих частот ЛБХ зазвичай відлічується на заданому рівні мінімального посилення ЛБХ.

Рисунок 9. Частотна характеристика лампи хвилі, що біжить.

Фазова характеристика залежить від прискорюючої напруги, якості узгодження входу і виходу ЛБХ і вхідній потужності. Зміна фази вихідної напруги при зміні прискорюючої напруги Uo приблизно виражається формулою

= -105 lе ( Uo /Uo ).

Зміна вхідній потужності ЛБХ змінює кінетичну енергію електронів і цим викликає фазовий зсув вихідного сигналу. Тому при посиленні амплітудно-модульованого сигналу за допомогою ЛБХ виникає невелика фазова паразитна модуляція.

Шуми ЛБХ виникають завдяки флуктуації швидкості електронів, зміною струморозподілення, іонізацією,

вторинною електронною емісією і тепловими шумами. Шуми ЛБХ можна зменшити вибором електричного режиму роботи (в основному зменшенням струму пучка), поліпшенням узгодження на вході і виході і поліпшенням фокусування пучка.

Шуми ЛБХ мають особливе значення при використанні їх як вхідні підсилювачі радіоприймачів. Лампи хвилі що біжить подібного застосування, називаються малошумлячими ЛБХ. Їх коефіцієнт шуму знаходиться в межах 4... 20 дБ. Широкого поширення набули малошумлячі ЛБХ як вхідні підсилювачі високої частоти приймачів, що дозволяє на 10...20 дБ збільшити чутливість приймача і захистити детектор змішувача від вигоряння.

Лампи хвилі що біжить середньої і великої потужності, застосовуються як проміжні, а інколи і крайові каскади підсилювачів потужності передавача. Відмітною особливістю таких підсилювачів є широка смуга частот і велике посилення на каскад. У табл.3 приведені усереднені електричні параметри ЛБХ.

47

Таблиця 3 Усереднені електричні параметри ЛБХ

 

Коеффіцієнт

Коефіцієнт

Коефіцієнт

Вихідна

Потенціал

Вид ЛБХ

перекриття

посилення,

потужність,

шуму, ДБ

живлення, В

 

діапазону

дБ

Вт

 

 

 

 

 

 

 

 

 

 

 

 

 

 

 

Малошумлячі

1,1...

2

4...

10

15...

35

10-3...10-2

250...

1200

 

 

 

 

 

 

 

 

 

 

Проміжні

1,1...

4

10...

30

25...

60

10-2...1,0

600...

2000

 

 

 

 

 

 

 

 

 

 

Малої потужності

1,5...

2

20...

30

20...

60

1,0

...10

103...4*103

 

 

 

 

 

 

 

 

 

 

Середньої потужності

1,5…2

 

 

25...

35

10...

102

1,5*103...

4*103

 

 

 

 

 

 

 

 

 

Великої потужності

1,5…2

 

 

13...

30

100

2*103...

2*104

 

 

 

 

 

 

 

 

 

 

 

1.6. Лампи зворотної хвилі

Лампою зворотної хвилі (ЛЗХ) називається електровакуумний прилад, заснований на принципі тривалої взаємодії електронів зі НВЧполем хвилі, рухомої у зворотному напрямі по відношенню до електронного потоку.

В якості коливально - хвилеводної системи в ЛЗХ використовуються широкосмугові уповільнюючі системи.

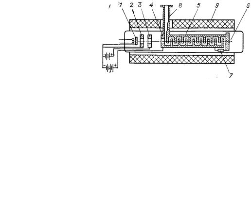
Пристрій ЛЗХ показано на рис.10. Електронний пучок формується гарматою, що складається з катода,

фокусуючого електроду першого і другого анодів. Сфокусований електронний пучок минає уздовж уповільнюючої системи типа «зустрічні штирі» і потрапляє на колектор. Фокусування електронів в процесі їх руху уздовж уповільнюючої системи здійснюється, як в ЛБХ, соленоїдом або кільцевими магнітами (пакетовані ЛЗХ).

Виведення НВЧенергії через ступінчастий перехід електрично сполученим із кінцем уповільнюючої системи, біля електронної гармати. Протилежний її кінець навантажений на узгоджений опір (поглинач). Узгоджений опір усуває паразитний зворотний зв'язок в ЛЗХ, що виникає за рахунок повторних віддзеркалень.

Рис.10. Лампа зворотної хвилі: 1 — катод; 2 — фокусуючий електрод; 3 — перший анод; 4 —другий анод;

5 — уповільнююча система; 6—колектор; 7—навантаження уповільнюючої системи; 8 —вивід енергії; 9 —

фокусуюча система.

Флуктуації електронного потоку спричиняють в уповільнюючій системі ЛЗХ слабкі електромагнітні коливання самих різних частот, енергії яких поширюються у бік виводу (зворотні хвилі). Подовжня електрична складова поля цих коливань в уповільнюючій системі може бути представлена сумою просторових гармонік.

Фазова швидкість однієї з яких може мати той же напрям і приблизно те ж значення, що і швидкість електронного потоку, задовольняючи цим умовам синхронізації. У ЛЗХ шляхом вибору параметрів уповільнюючої системи і електричного режиму створюються умови синхронізації для першої гармоніки зворотної хвилі, яка відрізняється тим, що напрям її групової швидкості (напрям поширення енергії) є протилежним фазовій швидкості.

48

Характерною особливістю використання цієї хвилі ЛЗХ є те, що умови синхронізації зберігаються у вузькому діапазоні частот. Для зміни частоти необхідно підбирати нові умови синхронізму і міняти швидкість пучка шляхом зміни прискорювального потенціалу.

Зворотний зв'язок в генераторі на ЛЗХ створюється за рахунок протилежних напрямів фазової і групової швидкостей за умови збігу напряму швидкості електронів і фазової швидкості хвилі.

Для кращого розуміння роботи ЛЗХ у якості генератора НВЧ діапазону, потрібно проаналізувати фазову умову виконання позитивного зворотного зв‗язку ЛБХ, яка визначає можливість самозбудження в системі:

çç Lçç L 2 n ,

де n=0,1,2,3…; Lзз, L – довжини системи зворотного зв‗язку та уповільнюючої системи відповідно; βзз, β – сталі розповсюдження хвиль в лінії зворотного зв‗язку та в уповільнюючій системі відповідно.

А для генерації в широкому інтервалі частот ω повинна виконуватись умова постійного значення фази хвилі в системі, при зміні частоти, або значення 0 похідної:

 

 

 

L

çç L

 

 

0 .

 

 

 

 

 

 

 

 

 

 

çç

 

 

 

 

 

 

1

 

 

 

 

 

 

 

 

 

За визначенням групової швидкості vãð

 

 

 

маємо:

 

 

 

 

 

 

 

 

 

 

 

 

 

 

 

 

 

 

 

 

 

 

 

 

 

 

 

 

 

 

 

 

L

 

 

 

 

L

0 .

 

 

 

 

 

 

çç

 

 

 

(1.11)

 

 

 

 

 

vãð

çç

vãð

 

 

 

 

 

 

 

 

 

 

 

Останнє рівняння і дає відповідь на питання, чому ЛБХ – генератор не може змінювати частоту в широких межах. В ЛБХ застосовуються уповільнюючі системи з позитивною дисперсією (фазова швидкість хвилі спрямована в одному напрямку з напрямком розповсюдження енергії), тому обоє складових рівняння мають позитивний знак. Зміна частоти приведе до зміни фазового кута в одному напрямку і значення 0 (1.11) неможливе.

Навпаки, якщо використовувати уповільнюючі системи з негативною дисперсією (фазова швидкість хвилі спрямована в зворотному напрямку з напрямком розповсюдження енергії), то при зміні частоти обоє складові рівняння можуть компенсувати одне одного, що збереже умову самозбудження генератора. ЛЗХ має декілька зон генерації, що характеризуються різними значеннями п. Збудження коливань в тій або іншій зоні залежить від струму пучка (рис.11). Струм пучка, при якому зачинається збудження ЛЗХ, називається пусковим струмом Iпуск.

При струмах менших за пусковий умова балансу амплітуд не задовольняється, і ЛЗХ працює як вузькосмуговий підсилювач.

Рисунок 11. Залежність вихідної потужності та коефіцієнта посилення лампи зворотної хвилі від струму електронного потоку.

Як робочий вид коливання ЛЗХ вибирається основний тип п=0. Для того, щоб забезпечити впевнений режим генерації при n = 0, робочий струм Iраб (рис.11) вибирають в 2—5 разів більше пускового струму робочого

49

типу коливання ЛЗХ п=0, але менше пускового струму першої зони. Очевидно, що частота залежатиме від прискорюючої напруги U0, оскільки остання визначає швидкість електронів ve. Збільшення U0 збільшує частоту.

Розглянемо основні характеристики і параметри ЛЗХ.

Вихідна потужність ЛЗХ в основному залежить від змінних при перебудові прискорюючої напруги і узгодження. Залежність вихідної потужності ЛЗХ від прискорюючої напруги показана на рис.12. Основною причиною нерівномірності і неоднорідності цієї кривої є погане узгодження з причини віддзеркалення електромагнітної хвилі від навантаження і вихідного кінця уповільнюючої системи. Хвиля, відображена від виходу, йде до колектора і її поле не взаємодіє з електронним потоком. При поганому узгодженні поглинача біля колекторного кінця уповільнюючої системи хвиля, що прийшла, знову відбивається і прямує до вихідного кінця,

цього разу взаємодіючи з електронним потоком. Якщо при цьому фази прямих і відображених хвиль збігаються, то вихідна потужність зростає, якщо протилежні — зменшується. Оскільки зсув фаз залежить від частоти, то повинно спостерігатися коливання вихідної потужності при перебудові ЛЗХ.

Рисунок 12. Залежність вихідної потужності ЛЗХ від прискорюючої напруги Ступінь нерівномірності кривої вихідної потужності в діапазоні перебудови оцінюється перепадом

потужності

м = 10 lg (Pmax / Pmin )

(1.12)

де Ртах і Pmin — максимальне і мінімальне значення вихідної потужності в діапазоні електронної перебудови.

УЛЗХ перепади потужності не перевищують 5 дБ. Для зменшення перепадів потужності ЛЗХ удаються до

їїстабілізації. Стабілізацію можна здійснити за рахунок негативного зворотного зв'язку з регулюванням потужності за рахунок зміни струму пучка напругою на фокусуючому електроді. Недоліком цього методу є спотворення характеристики електронної перебудови із-за зміни струму пучка. Кращі, але складніші методи стабілізації потужності ґрунтуються на використанні керованих обмежувачів і атенюаторів, автоматично регульованих по ланцюгу зворотного зв'язку.

Лампи зворотної хвилі є малопотужними генераторами, їх вихідна потужність не перевищує декількох сотих міліватт.

Діапазон електронної перебудови характеризується коефіцієнтом перекриття діапазону

К д f m ax / f m in

де fmах і fmin максимальна і мінімальна граничні частоти діапазону перебудови.

Коефіцієнт перебудови ЛЗХ з коаксіальними виводами енергії Кд=2, а з хвилеводними виводами Кд ~1,5—

1,6.

Спектр коливань, що генеруються в ЛЗХ, як і коливання більшості генераторів, не є монохроматичними. Їх спектр розширений за рахунок амплітудної і частотної модуляції вихідного сигналу, яку можна пояснити поганим вакуумом, дискретним характером струму електронного пучка і ефектами розподілу струму між окремими електродами і елементами уповільнюючої системи.

50

У ЛЗХ рівень бічних (паразитних) складових спектру в порівнянні з рівнем несучої частоти понижений до 60 дБ. Рівень бічних складових можна понизити поліпшенням фокусування пучка, зменшенням струму пучка і хорошою фільтрацією живлячої напруги.

Лампи зворотної хвилі застосовуються як гетеродини приймачі, задавальні генератори передавачів і у вимірювальній техніці як свипгенератори.

Застосування ЛЗХ як гетеродинів спільно з ЛБХ, які використовуваються як підсилювач високої частоти на вході приймача, дозволяє створити приймачі із широким діапазоном швидкої електронної перебудови. В цьому випадку велике значення має монохроматичність сигналів ЛЗХ, оскільки розширення спектру на виході приймача проявляється у вигляді частотних і амплітудних шумів. Недоліками гетеродинів на ЛЗХ є високий рівень шумів і високовольтні живлячі напруги.

Використання ЛЗХ як свіпгенераторів сприяло розвитку автоматизації вимірів, зокрема, панорамних вимірювальних пристроїв для виміру Кст, загасання і ін. В цьому випадку серйозним недоліком ЛЗХ є велика непостійність вихідної потужності по діапазону при електронній перебудові, що вимагає вживання спеціальних заходів для її стабілізації.

У таблиці. 4 приведені основні усереднені електричні параметри ЛЗХ.

Та6ліця 4. Усереднені параметри ЛЗХ

Робочий діапазон частот, Ггц

Прискорююча

Струм пучка,

Потужність,

 

 

напруга, кВ

мА

що

 

 

 

 

 

генерується,

 

 

 

 

 

мВт

2,4...

4,8

0,17

...1,4

40

50...

500

14,0. .

.15,0

3,3...

4,6

45

 

5

48,5.-.61,5

2 ...

4

50

1...

7

 

 

 

 

 

 

 

1.7. Магнетрони

Магнетроном називається генераторний прилад М-типу, в якому анод і катод є коаксіальними циліндрами,

постійне магнітне поле є аксіальним та перпендикулярним електричному полю прискорення, а уповільнююча система є резонансною.

Принцип дії багаторезонаторного магнетрона базується на поєднанні методів короткочасної і тривалої взаємодії електронів із високочастотним електричним полем системи резонаторів, які утворюють замкнуту на себе уповільнюючу систему з вузькою смугою частот. Загальна схема багаторезонаторного магнетрона показаний на рис.13,а.

Рисунок 13. Загальна схема магнетрону: а) схема-переріз приладу: 1 — анодний блок; 2 — катод; 3 —

резонатори; 4 — простір взаємодії; 5 — петля зв язку для виводу НВЧ енергії; б) форма електронного потоку та