Материал: konspekt_vpe

Внимание! Если размещение файла нарушает Ваши авторские права, то обязательно сообщите нам

56

В електронних і іонних фотоелементах використовується явище зовнішнього фотоефекта. Не кожний квант здатний викликати фотоемісію. Тому зовнішній фотоефект оцінюють квантовою чутливістю або квантовим виходом Y. Квантова чутливість (вихід) показує, яка кількість фотоелектронів припадає на один квант. З досвіду відомо, що Y значно менший одиниці і залежить від властивостей фотокатода та від енергії кванта. У фотоелементах практично доводиться мати справу із селективним фотоефектом, коли квантова чутливість набуває максимальне значення на певній частоті. На частотах, що лежать нижче порога фотоефекта емісія неможлива. Зі збільшенням частоти зростає імовірність надання електронам емітера енергії, достатньої для виходу, і квантова чутливість збільшується. На ще більш високих частотах чутливість зменшується. Це пояснюється відбиттям квантів від поверхні фотокатода і збудженням електронів на більшій глибині, звідки їх вихід до поверхні є ускладненим.

Залежність кількості фотоелектронів, що виходять із фотокатода, тобто фотоемісійного струму jfe від величини світлового потоку Ф (від кількості квантів) при відповідній частоті v світлового потоку визначається законом Столетова Г.О.

jfe = ( )

(1.1)

де коефіцієнт пропорційності ( ) називається спектральною віддачею фотокатода.

Очевидно, що ( ) пропорційний квантовому виходу Y і характеризується тією ж частотною залежністю. Якщо світловий потік складається з коливань різних частот, у (1.1) ( ) замінюють на інтегральну віддачу . Величина світлового потоку виміряється в люменах, струм фотоемісії у мікроамперах, коефіцієнти ( ) і мають розмірність мкА/лм , або А/Вт.

На (рис. 1.1) представлена будова основних фотокатодів, які виконуються по типу оксидних катодів. Кисневоцезієвий фотокатод (рис. 1.1а) наноситься на шар срібла, яким звичайно покривається скло балона. Він складається з напівпровідного покриття окислів цезію й срібла, усередині і на поверхні якого розташовуються атоми чистого цезію. Останні виконують роль атомів барію в оксидному катоді.

Киснево-цезієвий фотокатод характеризується низькою роботою виходу (мінімальна величина 0,72 еВ) і малою квантовою чутливістю (порядку 0,005—0,05). Цей катод має досить високу термоемісійну здатність, що приводить до необхідності врахування емісії електронів навіть при кімнатній температурі. Чутливість вакуумних киснево-цезієвих фотоелементів дорівнює 2030 мкА/лм, доходячи в деяких зразках до 50 - 60 мкА/лм, у газонаповнених фотоелементах робочий струм внаслідок іонізації газу збільшується і чутливість дорівнює в середньому 150-200 мкА/лм.

Cs

Cs2O3Ag2O

Ag

скло

а)

Cs

SbCs3

скло

б)

Рисунок 1.1 Будова фотокатодів: а) киснево-цезієвого; б) сурмяно-цезієвого.

На рис.1.2 показана залежність спектральної віддачі киснево-цезієвого фотокатода від частоти або спектральна характеристика. Як видно, вона має два максимуми. Низькочастотний максимум лежить в інфрачервоній частині спектра, а високочастотний – в ультрафіолетовій (у видимій частині спектра характеристика має провал). Ультрафіолетовий максимум визначається вириванням електронів зі срібної підкладки фотокатода, а довгохвильовий – з напівпровідника.

Киснево-цезієвий фотокатод чутливий до іонного бомбардування, перегріву і легко окисляється. Крім того, його фотоемісійна здатність залежить від часу опромінення. Чим більше часу фотокатод опромінюється, тим менше його фотоемісійний струм (явище стомлюваності). У процесі роботи інтегральна віддача також падає.

Сурм'яно-цезієвий фотокатод (рис.1.1б) складається з напівпровідного шару, що складається із сполуки сурми і цезію (імовірний склад SbСs3). Він наноситься безпосередньо на скло.

57

Cs2O3Ag

SbCs

Рисунок 1.2 Залежність спектральної віддачі киснево-цезієвого і сурмяно-цезієвого фотокатодів від частоти Емісійні властивості сурм'яно-цезієвого катода значно гірші, ніж у киснево-цезієвого, а значить вплив термоемісії

на фотострум практично відсутній. Робота виходу його порядку 1,4 еВ. Зате квантова чутливість досягає 0,25-0,3 і катод має інтегральну віддачу більше 100 мкА/лм.

Максимум спектральної характеристики (рис.1.2) лежить у видимій області спектру. Сурм'яно-цезієві катоди більш стабільні і менше чутливі до перегрівів ніж киснево-цезієві. Проте вони більш чутливі до іонного бомбардування і працюють при понижених напругах на аноді. У сурм'яно-цезієвих фотоелементах спектральна віддача дорівнює 60 - 90 мкА/лм, досягаючи в газонаповнених фотоелементах величини 150-200 мкА/лм.

Фотоелектронні елементи

Розглянемо найпростіший фотоелемент, схема підключення та загальна конструкція якого представлена на рис.1.3 У ланцюг аноду включається джерело постійної напруги (150 -200 В) і опір навантаження R. При опроміненні фотоелемента в анодному ланцюзі виникає струм, що створює на опорі R падіння потенціалу. При зміні світлового потоку, що діє на фотоелемент, змінюється величина струму у фотоелементі і, отже, різниця потенціалів на опорі R, відтворюючи своїми змінами зміни світлового потоку.

Ra

Ea

Рисунок 1.3 Принципова схема включення фотоелементу Будова електровакуумного фотоелементу показане на рис.1.4а. У скляному балоні, з якого видалено

повітря, поміщені у вакуумі або в газі два електроди: катод К и анод А. Катод у вигляді тонкого металевого світлочутливого шару зазвичай наноситься на внутрішню поверхню скляного балона фотоелемента як показано на рис.1.4а. Анод виготовляють найчастіше у вигляді невеликого, дротового кільця, розташованого в центрі балона.

 

 

 

 

Фотокатод

 

А

 

 

 

 

 

К

Ложний

 

 

 

 

 

Анод

 

 

 

анод

 

 

 

 

 

 

 

 

 

 

 

 

 

 

 

 

 

 

 

а)

б)

Рисунок 1.4. Будова електровакуумного фотоелемента загального типу (а) та місткового типу (б)

58

Іноді у фотоелементах, призначених для роботи в місткових схемах, крім основно го анода, поміщають другий, додатковий анод із протилежної сторони катода (рис.1.4б).

Є також конструкції фотоелементів з однаковими електродами, їх називають двох-катодними. У такому приладі в балон поміщають дві однакові світлочутливі поверхні і живлять їх змінним струмом. Кожна поверхня, при опромінені одним джерелом по черзі стає катодом і анодом, щоб фотоелемент проводив струм в обох напрямках.

Основними характеристиками фотоелемента, необхідними для вибору його робочого режиму є:

1) вольт-амперні характеристики, що показують залежність струму фотоелемента від величини анодної напруги при постійному світловому потоці, тобто криві Iа = f(Ua), при різних = const (рис.1.5а);

2)світлові характеристики, що показують залежність струму фотоелемента від величини світлового потоку при постійній анодній напрузі, інакше, криві Ia = f( ), при різних Ua = const (рис.1.5б). Іонний фотоелемент має нелінійну характеристику — збільшення емісійного струму супроводжується більш інтенсивною іонізацією і непропорційним збільшенням струму на аноді. При використанні іонних фотоелементів неможливо уникнути нелінійних викривлень;

3)крутість світлової характеристики =dia/d мкА/лм характеризує роботу фотоелемента при змінному світловому потоці.

Ia

 

Ia

іонний

 

 

 

 

 

 

вакуумний

 

 

Ua

 

а)

 

б)

 

Ia

самостійний

 

 

 

 

розряд

Uз Ua

в)

Рисунок 1.5 Основні характеристики фотоелемента: а) вольт-амперна характеристика; б) світлова характеристика; в) вольт-амперна характеристика іонного фотоелемента

У газонаповнених фотоелементах вольт-амперна характеристика, на відміну від характеристики вакуумного фотоелемента, не має різко вираженої області насичення (рис.1.5в); при збільшенні струму Iа до величини струму емісії фотокатода крива злегка загинається, але при подальшім збільшенні анодної напруги внаслідок виникаючої іонізації газу струм починає різко збільшуватися. Розряд залишається несамостійним доти, поки напруга на аноді не буде дорівнювати потенціалу запалювання Uз, при якому в фотоелементі виникає самостійний тліючий розряд. Самостійний розряд у фотоелементі приводить до руйнування катода, що неприпустимо.

Відношення струму при робочому режимі (Ua 220 – 240 В) у газонаповненому фотоелементі до струму насичення, який був би в цьому фотоелементі при відсутності в ньому газу (ця величина визначається легким вигином характеристики), називається коефіцієнтом газового посилення Кг=Iгаз/Iвак. Для збільшення газового посилення необхідно вводити у фотоелемент більше газу; але, у той же час, при великому тиску газу легко виникає самостійний розряд. Тому тиск газу у фотоелементах беруть порядку 10 -2 мм рт. ст, що забезпечує коефіцієнт газового посилення від 5 до 8.

Необхідно також відзначити, що вольт-амперні характеристики електронних фотоелементів із сурм'яноцезієвим катодом при більшому освітлювані не мають насичення, тобто зі збільшенням напруги струм продовжує зростати. Це пояснюється більшим поздовжнім опором шару сурм'яно-цезієвого катода. При значному струмі,

59

між віддаленими областями поверхні катода виникає різниця потенціалів. В результаті частина емітованих електронів переходить не на анод, а вертається до катода. Збільшення анодної напруги, що перешкоджає поверненню електронів, приводить до збільшення струму. Електрони, що вертаються, бомбардуючи катод, вибивають із нього вторинні електрони.

Фотоелектронні помножувачі

Часто, із-за спектральних характеристик фотокатодів та із-за малих значень велечин світлових потоків, необхідно суттєво посилити фотострум. Для цього можна використовувати надчутливі електронні схеми посилення, які можуть спотворити сигнал, або використовувати фотоелектронні помножувачі.

При реєстрації слабких світлових сигналів фотострум малий (наприклад, при Ф = 10 - 10 лм і = 100 мкA/лм Ia = 10-14 A) і для його посилення доводиться використовувати багато каскадні підсилювачі. Цього можна уникнути, якщо у фотоелемент увести каскади вторинного-електронного множення потоку фотоелектронів. Такі прилади називаються фотоелектронними помножувачами (ФЕП). При п каскадах множення фотострум підсилюється в ап раз, і чутливість ФЕП по анодному струму, називана анодною чутливістю:

ia n ,

яка може приймати дуже великі значення. Так, наприклад, при = 30 мкА/лм, n=13 і =3, = 50 А/лм. Слід зазначити, що можливість реалізації такої високої чутливості обмежується областю слабких світлових сигналів. При надмірному збільшенні анодного струму робота емітерів (особливо останніх каскадів) порушується. Припустимий струм ФЕП не перевершує декількох одиниць мікроамперів.

У загальному випадку конструкція ФЕП повинна забезпечувати необхідне посилення, оптимальні умови влучення випромінювання на фотокатод, високу ефективність збору фотоелектронів на перший динод і вторинних електронів на кожний наступний динод, малі зміни часів прольоту електронів, що визначають швидкодію та лінійність світлових характеристик. Динодні системи ФЕП можна класифікувати по способу керування рухом електронів з динода на динод. Керування здійснюється за допомогою:

1)електростатичних полів;

2)електростатичних і магнітних полів;

3)високочастотних електричних і магнітних полів.

Конструкції динодних систем досить різноманітні, однак з урахуванням основних особливостей їх можна розділити на наступні групи:

а) системи на дискретних динодах; б) системи на розподілених динодах;

в) системи з напівпровідниковими елементами, що множать.

Основні вимоги, пропоновані до емітерів вторинних електронів (динодів), що використовуються у ФЕП:

1)коефіцієнт вторинної емісії динода повинен бути значним при порівняно малих енергіях первинних електронів (60-100 еВ);

2)коефіцієнт вторинної емісії повинен бути стабільним у робочому режимі;

3)динод не повинен мати фотоелектронну і термоелектронну емісії, що створюють додатковий шум;

4)виготовлення динодів повинне бути простим і не виявляти шкідливого впливу на параметри фотокатода;

5)емітери повинні мати достатню провідність.

Найпростішим по будові є однокаскадний помножувач -- фотоелемент із вторинною емісією, схема якого показана на рис.1.6. На фотокатод ФК падає світловий потік, що приводить до виникнення фотоелектронів. Фотоелектрони рухаються до сітчастого аноду А, і більша їх частина, пролітаючи крізь анод, бомбардує динод Д вибиваючи з нього вторинні електрони. Останні рухаються на анод і разом з первинними електронами, що потрапили на анод, утворюють у ланцюзі робочий струм, значно більший струму з фотокатода.

ФK А

Д

Ra

Рисунок 1.6 Схема найпростішого однокаскадного ФЕП

60

Принцип роботи багатокатодного ФЕП можна розглянути за допомогою його загальної схеми (рис.1.7). Фотокатод ФК опромінюється світлом скрізь «вікно» приладу. Фотоелектрони спрямовуються електричним полем на вторинний емітер –динод Д1 і вибивають із нього вторинні електрони. Якщо коефіцієнт вторинної емісії емітера> 1, то відбувається множення електронного потоку. З першого емітера вторинні електрони попадають на другий Д2 і знову множаться і т.д. Останній електрод-анод А є колектором, що збирають вторинні електрони.

+100В +300В

Д1

 

Д3

 

Дn

 

 

 

 

 

A

 

 

 

 

 

 

 

 

 

 

 

 

 

 

 

 

 

 

 

 

 

 

 

 

 

 

 

 

 

 

 

 

 

 

 

 

 

 

 

 

 

 

 

 

 

 

 

 

 

ФК Д2 Д4

+200В

Рисунок 1.7 Загальна схема багатокаскадного ФЕП Як коефіцієнт вторинної емісії, так і анодна чутливість сильно залежать від прикладеного до помножувача

напруги (живлення всіх електродів ФЕП здійснюється від загального джерела напруги, навантаженого на потенціометр; прикладена напруга рівномірно розподіляється між динодами приладу). Так, якщо ФЕП-19 живеться від джерела з напругою 950 В, те анодна чутливість не перевершує 1А/лм, а при 1940 В вона досягає 1000 А/лм. Звідси випливає, що для забезпечення стійкої роботи ФЕП слід живитися від стабілізованих випрямлячів.

Оскільки при переході з одного емітера на інший неминуче розсіювання електронів, те реальні значення анодної чутливості виходять менше розрахункових. Зменшення розсіювання досягається створенням між емітерами фокусуючих електричних або магнітних полів.

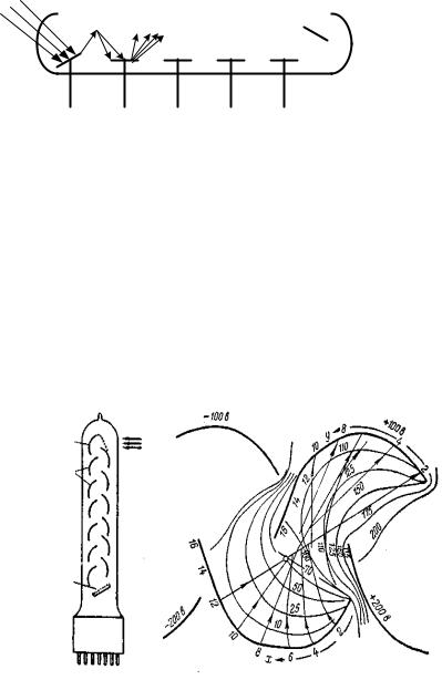
Фотоелектронні помножувачі з фокусуючими електродами

Фотоелектронні помножувачі з фокусуючими електродами призначені для фотоелектричних вимірів при слабких світлових потоках. Принцип дії помножувачів цієї групи можна розглянути на прикладі ФЕП-17 (рис.1.8).

фотокатод

диноди

анод

а)

б)

Рисунок 1.8 Конструкція багатокаскадного ФЕП з фокусуючими динодами (а), еквіпотенційні лінії та траєкторії електронів між динодами (б)

Емітери в цих приладах виконуються у вигляді ковшів і розташовуються так, щоб створювані ними електричні поля забезпечували майже повний перехід вторинних електронів, що випускаються даним емітером на наступний під гострими кутами атаки до поверхні . Картина поля і траєкторії електронів у такій системі електродів представлені на рис.1.8б. На кожний наступний емітер електрони попадають в основному в центральній частині його поверхні, так що в процесі переходу від одного електрода до іншого електронний потік виявляється усе більш концентрованим.

Фотоелектронні помножувачі наскрізної дії

Перші конструкції помножувачі наскрізної дії були розроблені С.А. Векшинским. У цих приладах вторинні електрони виходять із емітера з боку, протилежного напрямку первинних електронів. У цьому випадку відсутня необхідність вживати спеціальних заходів для корегування напрямку вторинного електронного потоку від одного