61
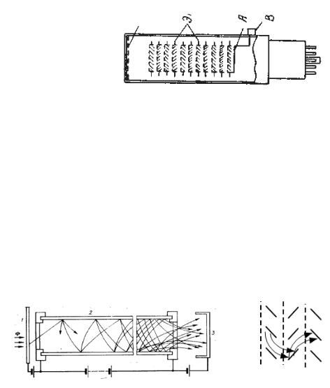
емітера до іншого. Емітери виконуються або у вигляді сіток, або у вигляді металевих нахилених пластин типу жалюзі. Принцип дії та загальна конструкція такого помножувача з емітерами у вигляді жалюзі представлені на рис.1.9. Вторинні електрони, що випускаються емітером-динодом, попадають на наступний щабель, під дією різниці потенціалів на цих щаблях. Однак деяка частина первинних електронів може пройти в жалюзі емітера, не потрапляючи на диноди і не створюють вторинні електрони, що приводить до зменшення посилення приладу. Помножувач цієї групи мають марку ФЕП-12.
фотокатод |
|
диноди |
|
|
|
|
|
|
анод |
|
|
||
|
|
|
|
|||
|
|
|
|
|
|
|
|
|
|
|
|
|
|
|
|
|
|
|
|
|
Рисунок 1.9 Конструкція ФЕП наскрізної дії.
Іноді між жалюзійними динодами розміщують сітку, яка екранує жалюзі від гальмівного поля попереднього динода, що збільшує кількість вторинних електронів які дійдуть до наступного диноду. В такій системі робоча поверхня є достатньою, а міждинодна відстань може бути малою. Поле між динодами можна вважати однорідним, тому відсутнє фокусування електронів при їх розштовхуванні, що збільшує робочу поверхню динодів та забезпечує стійкість сигналу при великих струмових навантаженнях. В той же час, напруженість електричного поля біля поверхні динодів є достатньою, що дозволяє отримати розкид часу прольоту між каскадами менше ніж 1 нс.
Перспективним для мініатюризації ФЕАП та систем їх застосування є безперервний динод з розподіленим опором, загальна конструкція якого наведена на рис.1.10. Множення фотоелектронів відбувається всередині каналу, внутрішня поверхня якого вкрита матеріалом з великим значенням коефіцієнта вторинної електронної емісії. Як правило, матеріал синодного покриття є напівпровідником, тому при прикладенні до торців каналу потенціалу, можна отримати подовжнє поле прискорення. Найбільшою ефективністю по посиленню та стабільності характеристик мають канали із співвідношенням їх діаметру до довжини приблизно 1:50. На основі таких систем створені мікраканальні пластини.
Рисунок 1.10 Пролітний безперервний канальний ФЕП з розподіленим опором: 1- фотокатод; 2- канальний безперервний динод; 3- колектор
Фотоелектронні помножувачі на мікраканальних пластинах
Мікраканальні пластини (МКП) являють собою стільникові структури (рис.1.11), утворені великою кількістю скляних трубок (каналів) діаметром 5-15 мкм із внутрішньою напівпровідною поверхнею, що має опір від 20 до 1000 МОм. Тобто МКП являє собою збірну конструкцію великої кількості (декілька мільйонів) канальних електронних помножувачів, що відносяться до помножувачів з безперервним динодом наскрізної дії. Фотоелектрон (іноді іон, фотон) попадає в канал і з його стінки вибиває вторинні електрони, які прискорюються електричним полем, створеними напругою на кінцях каналу (рис.1.11). Цей процес по мірі прольоту уздовж каналу повторюється багато разів і на виході формується електронна лавина.
62
Рис. 1.11 Конструкція, схема дії та фото МКП
Коефіцієнт підсилення МКП g визначається співвідношенням g = exp (σ(L/d)),
де σ - коефіцієнт вторинної електронної емісії, який залежить від властивостей матеріалу стінок каналу й прикладеного напруги, L і d - довжина й діаметр каналу.
Відношення L/d у стандартних МКП близько 40-80. Коефіцієнт підсилення в однокаскадних МКП ~104, у двокаскадних (шевронних) ~107, у трьохкаскадних - до 109. Щоб частки, що налітають, попадали на стінки каналів, вони розташовуються під деяким кутом до напрямку їх руху (звичай5 -15°).
Розміри МКП варіюються від декількох міліметрів до 10 см і більше. Форма МКП може бути найрізноманітніша - округла, прямокутна, практично будь-яка, необхідна для конкретного випадку застосування. Крім того, поверхня їх може бути зроблена сферичною або циліндричною, для того, наприклад, щоб відповідати фокальній площині магнітного або електростатичного спектрометру.
При множенні електронів у каналі утворюються іони, кількість яких залежить від залишкового газу. Інтенсивна іонізація газу спостерігається на останніх 30% шляху в каналі, де щільність електронів найбільша. Іони прискорюються до фотокатоду, бомбардують його, а це спотворює характеристики та руйнує катод. При цьому значно скорочується термін служби. Щоб уникнути цього, удосконалюють технологію відкачки, поліпшують знегажування електродів, застосовують МКП із криволінійними каналами, установлюють дві або три пластини із прямолінійними похилими каналами, щоб утруднити рух іонів до катода. У результаті коефіцієнт підсилення знижується до 106, а термін служби зростає в декілька разів.
У передавальних сучасних трубках на вхід мікроканальної пластини методом розпилення наносять алюмінієву або кремінну плівку товщиною 13 нм (рис.1.12).
1 |
2 |
3 |
4 |
|
e |
|
+ Ua |
hv |
|
|
|
Рисунок 1.12 – Схема ФЕП на МКП із захисною плівкою: 1- фотокатод; 2- алюмінієва або керамічна пластина; 3- МКП; 4- колектор
На фотокатод 1 падає потік світла (п hv). Фотоелектрони з фотокатода попадають у прискорювальне поле анода (4). На їхньому шляху розташована алюмінієва плівка 2 і мікроканальна пластина 3. Електрони, прискорені до енергії 1,3 кеВ, проникають скрізь алюмінієву плівку і умножаються в каналах МКП. Внутрішня поверхня
каналу має коефіцієнт вторинної емісії 1. В одній пластині забезпечується коефіцієнт підсилення К 1010. Наприкінці шляху в каналі утворюються іони, які полем анода прискорюються в протилежному напрямку до фотокатода і затримуються алюмінієвою або керамічною пластиною У результаті захисна пластина розв'язала майже всі проблеми, що виникали у МКП.
Мікраканальні пластини мають унікальну комбінацію властивостей - великий коефіцієнт підсилення, високу просторову і часову роздільність. Просторова роздільність однокаскадних МКП визначається діаметром каналу, часова - часом прольоту електронної лавини каналу, який є меншим за 1 нс.
Зараз вони широко застосовуються в приладах нічного бачення, фотоелектронних посилювачах та перетворювачах, спектральній та вимірювальній апаратурі (електронна спектроскопія й мікроскопія, мас-
63
спектрометрія, рентгенівська астрономія, ядерні дослідження).. МКП розміщається перед екраном приладу, при цьому різко поліпшуються всі параметри приладу при значно менших струмах променя електронів, поліпшуються часові характеристики.
Убільшості випадків використовуються тільки деякі властивості МКП. Так для магнітних або електростатичних аналізаторів в основному важливо просторовий розділ. Детектори на базі МКП оптимізуються
зобліком розв'язуваних з їхньою допомогою завдань.
Узагальному випадку детектори на базі МКП складаються із трьох частин.
1.Конвертора, який перетворює вхідне випромінювання в інше і може ефективно взаємодіяти безпосередньо із МКП. Наприклад, так як і у ФЕП використовуються фотокатоди для зсуву довжин хвиль в область чутливу для МКП. Для електронів, іонів і ультрафіолету конвертерів звичайно не потрібно.
2.Системи посилення сигналу. Залежно від цілі, вони можуть мати від одного до трьох каскадів. Для короткотривалих вимірів оптимальними вважаються двокаскадні (шевронні).
3.Колектор. Для випадків, у яких просторовий розділ не має значення, для виводу сигналу можна використовувати суцільний металевий анод. Там, де важливо просторовий розділ анод може бути секційним або опорним і т.д.
Використання МКП накладає досить жорсткі вимоги до вакуумної системи. Для їх нормальної роботи потрібен тиск не менш 6.5*10-4 Па.
У порівнянні з іншими ФЕП, МКП мають малі габарити, кращі часові характеристики і помітно меншу чутливість до магнітних полів.
Електронно-оптичні перетворювачі та підсилювачі яскравості зображень
Електронно-оптичний перетворювач зображень (ЕОП) є приладом, що перетворять оптичне зображення, що відповідає одній області спектра в оптичне зображення в іншій області спектра. Електронно-оптичний підсилювач відрізняється від ЕОП тільки тим, що формує на виході зображення, яскравість якого значно перевищує яскравість первісного, вхідного, зображення. Як правило, електронно-оптичні перетворювачі є приладами які використовують принципи посилення яскравості зображення та фотоелектронні помножувачі. Тому , в загальному випадку, електроннооптичні перетворювачі та посилювачі оптичних зображень важко відокремити в окремі типи електронно-оптичних приладів.
Необхідність у таких приладах очевидна. Електронно-оптичні перетворювачі та посилювачі використовуються в якості приладів нічного бачення цивільного та військового застосування, різноманітних детекторах. Електроннооптичні підсилювачі використовуються в астрономії; для посилення рентгенівського зображення, що дозволяє різко знизити інтенсивність рентгенівських променів, що опромінюють об'єкт. Прилади цього класу використовуються у науково-фізичних дослідженнях для реєстрації різного роду сцинтиляцій, спалахів, траєкторій ядерних часток і т.п.
Загальний принцип дії ЕОП або посилювача полягає в тому, що у вакуумному об‘ємі розміщають напівпрозорий фотокатод і люмінесцентний екран, між якими знаходиться електронно-оптична система, схематично показана на рис. 1.13
увигляді лінзи.
2
z 
1
|
|
|
1 ФК 2 |
3 |
4 |
|
||
|
|
|
Рисунок 1.13 Загальна схема ЕОП або посилювача яскравості оптичного зображення: 1- оптичне зображення, 2- електронне зображення, 3-електро-оптична система, 4- екран
Оптичне зображення проектується на фотокатод, приводячи до фотоелектронної емісії, величина якої пропорційна освітленості тих або інших ділянок катода. Таким чином, на внутрішній стороні катода формується електронне зображення, яке за допомогою електронно-оптичної системи прискорюючись переноситься в площину екрана, яскравість якого у свою чергу пропорційна щільності струму в електроннім зображенні.
Перспективним є використання в конструкції електронно-оптичних перетворювачів та посилювачів мікраканальних пластин, схема фотоелектронного посилювача рис. 1.12 і є достатньою схемою для створення
64
ЕОП. Різниця в тому, що замість колектора можна використовувати люмінесцентний екран. Крім того, МКП часто використовують в якості каскадів посилення електронного зображення.
Звичайні електронно-оптичні підсилювачі дають посилення світла в кілька десятків разів. Однак у ряді випадків цього виявляється недостатньо і доводиться прибігати до розробки способів додаткового посилення яскравості зображення на екрані підсилювача.
Одним з таких способів є створення так званих багатокамерних електронно-оптичних перетворювачів та підсилювачів, які являють собою послідовне з'єднання двох або більше електрооптичних підсилювачів.
На рис.1.14 схематично показана конструкція двокамерного підсилювача, у якому електронне зображення, що виникає на вхідному фотокатоді 1, переноситься па проміжний екран 3, нанесений на тонку прозору перегородку, що розділяє камери. Світло цього екрана збуджує фотоелектронну емісію катода 4 другої камери, нанесеного із протилежної сторони перегородки першої камери. Електрони, що випускаються катодом 4, збуджують вихідний екран 6. Такий двокамерний підсилювач дає зусилля світла порядку 103. Застосування трьох камер підвищує посилення ще на порядок. При цьому ефект виявляється тем вище, чим краще погоджені спектральні характеристики проміжних екранів і фотокатодів.
5 |
4 |
2 |
1 |
6 |
|
3 |
|
|
|
|
Рисунок 1.14 Конструкція двокамерного підсилювача яскравості зображення Слід зазначити, що з ростом кількості камер роздільна здатність підсилювача помітно знижується через аберації і
розсіювання світла в перегородках між камерами, особливо в екранах. Так, звичайний порошковий екран, будучи застосований в однокамерному приладі, дає розв'язну здатність у центрі екрана близько 40, а у двокамерному до 18 пар ліній на міліметр.
Крім того, у ряді випадків недоліком багатокаскадних перетворювачів і підсилювачів зображення є інерційність, пов'язана з наявністю післясвітіння проміжних екранів.
Інший спосіб посилення яскравості полягає у використанні вторинної емісії тонких плівок «на простріл». Він заснований на тому, що бомбардування тонкого шару речовини пучком електронів певної енергії, підібраної так, що вони гальмуються поблизу протилежної сторони шару. Додатково з протилежного боку виникає і значна вторинна електронна емісія У результаті в такому вторинному емітері (диноді) виходить посилення первинного струму в кілька раз.
Параметри електронно-оптичних перетворювачів та посилювачів яскравості оптичних зображень
Припустимо, що на фотокатод площею Sк падає світловий потік Фк.
1. Чутливість фотокатода (Y) повинна бути однакової по всій його поверхні. Значення фотоструму фотокатода буде дорівнювати Iф= Фк. Якщо світловіддача екрана, яка вимірюється в люменах світлового потоку, що опромінює екран, на 1 Вт потужності електронного потоку , а анодна напруга ЕОП Ua, то екран-колектор випромінює
світловий потік Фe, рівний Фк |
Ua, а |
посилення світлового потоку ф (коефіцієнт перетворення по |
яскравості) складе |
|
|
|
|
ф = Uа . |
Наприклад, при інтегральній чутливості фотокатода =200 мкА/лм, анодній напрузі Ua = 10 кВ і світловіддачі
=30 лм/Вт в ЕОПі забезпечується посилення світлового потоку в 60 раз.
2.Якщо зображення переноситься з фотокатода на екран без зміни масштабу, то яскравість зображення на екрані зростає в стільки ж раз, у скільки зростає світловий потік. Якщо ж зображення на екрані зменшене в mе
= 1 |
раз, то яскравість екрана підвищується в Ге2 раз. Величину mе називають електронно-оптичним |
|
Ãå |
збільшенням ЕОП.
3. Перетворення спектрального діапазону обумовлене різними областями спектральних характеристик фотокатода і екрана.
65
4.Роздільна здатність, під якою розуміється максимальне число пар, які знаходяться на лінійному міліметрі і складаються із світлої і темної лінії, які спроектовані на фотокатод можуть бути помітні на екрані. Наявність широкого електронного пучка повинне приводити до помітних аберацій зображення. При цьому при віддаленні від осі слід очікувати значного росту астигматизму і дисторсії, малоістотних у звичайних електронно-променевих трубках. Цей факт є однією з істотних причин, що знижують роздільну здатність із ростом розміру зображення. Чіткість зображення на екрані ЕОП визначається як розсіюванням електронів, так і розсіюванням світла в екрані, скляних або слюдяних вікнах, у скловолоконних елементах і т.д. Дискретна структура мікроканальних і сткловолоконих пластин, які застосовуються в сучасних ЕОП, також обмежує чіткість зображення.
5.Найважливішою характеристикою ЕОП, що визначає якість зображення на екрані, є збереження контрасту
зображення, який визначається співвідношенням
χ Bñâ Âò ,
Âñâ Âò
де – контраст зображення на екрані ЕОП; Всв – яскравість світлових ділянок екрана, Вт – яскравість темних ділянок екрана.
6.Зонна характеристика – залежність чутливості фотокатода від координати точки опромінення, що обумовлюється нерівномірністю чутливістю фото емісійного шару та відмінністю збору електронів з різних точок фотокатоду на перший динод.
7.Темновий струм, що утворюється за рахунок термоелектронної емісії з перших динодів, струмами витіку між анодом та іншими електродами, іонним струмом. Ступінь вкладу складових темнового струму залежить від режиму роботи.
8.Світловий (енергетичний) еквівалент темнового струму визначається потоком світла (енергії) на фотокатод, що приводить до фотоструму еквівалентному темновому.
9.Граничний потік приладу залежить від чутливості до потоку випромінювання відповідного спектрального складу та сумарного струму шумів на виході фотоелектронного приладу.
Більшість перерахованих вище параметрів відносяться і до фотоелектронних помножувачів.
По способу переносу електронного зображення з фотокатода на екран ЕОП можна розділити на три типи: 1) ЕОП з паралельним переносом зображення в одноріднім електричнім полі (плоский); 2) ЕОП з електромагнітним фокусуванням; 3) ЕОП з електростатичним фокусуванням у неодноріднім полі.
Методи посилення яскравості зображення
Яскравість зображення на екрані ЕОП можна збільшити, змінюючи конструкцію електродів або вдосконалюючи технологію їх виготовлення і відповідно параметри:
1.Збільшення чутливості фотокатода.
2.Збільшення світлової віддачі екрана.
3.Збільшення енергії електронів.
4.Стиск електронно-оптичного зображення.
Світловий потік з екрана ЕОП завжди розходиться в тілесному куті незалежно від розмірів зображення. Тому його яскравість на екрані при однаковій освітленості фотокатода зростає як квадрат зменшення електроннооптичного зображення.
Покоління ЕОП по принципових технологічних відмінностях у конструкції:
I Покоління ЕОП у вигляді скляної колби з електростатичним фокусуванням. Відрізняється низьким коефіцієнтом підсилення яскравості і невисокою роздільною здатністю, нерівномірною чіткістю картинки. Ефективна робота в умовах низької освітленості можлива тільки з ІЧ підсвічуванням, що не забезпечує скритності спостереження. Однак, технологічний процес виробництва ЕОП досить простий, і трубки I покоління є самими доступними на ринку нічної техніки, забезпечуючи прийнятні характеристики спостереження і розпізнавання на відстані до 100 метрів. Застосування волоконно-оптичних пластин, дозволило досягти високого і рівномірної роздільної здатності по всьому полю зору. Металокерамічна колба ЕОП витримує високі ударні навантаження. Однак, недостатній коефіцієнт підсилення яскравості не дозволяє вести спостереження в умовах низької освітленості без зовнішньої ІЧ підсвічування
II покоління. Застосована мікраканальна пластина (МКП), що множить потік електронів, зроблених фотокатодом; має високу перешкодозахищеність при загальних і локальних засвіченнях, досягнуте високе посилення яскравості; можливість роботи без зовнішнього підсвічування в умовах низької освітленості. Використання біпланарної схеми дозволило зменшити поздовжні габаритні розміри; зменшити крок каналів МКП; застосувати прямий перенос зображення замість електростатичного фокусування, використовувати на