Материал: Изучение закономерностей формирования наночастиц кобальта в структуре полимерных матриц на основе модифицированного тетрафторэтилена

Внимание! Если размещение файла нарушает Ваши авторские права, то обязательно сообщите нам

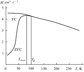
Для того чтобы определить температуру блокировки суперпарамагнитных частиц проводят два исследования: образец замораживают до низких температур при нулевом внешнем магнитном поле, а затем в процессе нагревания производят измерения намагниченности (Zero-Field-Cooling, ZFC); образец замораживают в присутствии внешнего магнитного поля, и производят измерения в процессе его нагревания (Field-Cooling, FC). Полученные зависимости называют ZFC- и FC-кривыми. Их качественный вид представлен на рисунке 5.

Рисунок 5 - Качественный вид ZFC- и FC-кривых, получаемых при исследовании температурной зависимости намагниченности на магнитометре

Процесс измерения проводят при включенном внешнем магнитном поле в обоих случаях. Видно, что кривые намагничивания при уменьшении температуры следуют по одной линии, а затем при температуре, соответствующей температурой блокировки, расходятся. После температуры блокировки дальнейшее уменьшение температуры приводит к росту кривой FC, кривая ZFC вначале еще немного растет, достигает максимального значения и затем уменьшается до небольших значений. Из этого следует, что при температуре ниже температуры блокировки однодоменные частицы ферромагнитны, а при температурах выше температуры блокировки они проявляют суперпарамагнитное поведение.

Для того чтобы получить кривую полного цикла перемагничивания и петлю гистерезиса, при постоянной температуре изменяют величину приложенного магнитного поля так, что образец вначале намагничивают до насыщения в одном направлении, а затем в другом. Так можно получить зависимость коэрцитивной силы, приведенную ранее на рисунке 4 [5, 6].

.3.2 Ферромагнитный резонанс

Ферромагнитный резонанс (ФМР) является разновидностью электронного магнитного резонанса. Особенность резонансного поглощения электромагнитного излучения ферромагнетика во внешнем поле заключается в том, что спины атомов не являются изолированными друга, а оказываются сильно связанными обменным взаимодействием. В этом случае рассмотрение механизма резонанса аналогичного парамагнитному невозможно, и поэтому для случая ферромагнетиков разработан метод спиновых волн, которые можно представить как распространение колебаний намагниченности в сплошном ферромагнетике. Можно также отметить, что в случае ФМР можнзмерять как поглощенное поглощение электромагнитной энергии, так и коэффициент отражения волны от поверхности образца, выбор подхода определяется исследуемым материалом [21, 22].

Для исследования ФМР образец помещается в постоянное магнитное поле. При помещении атомов в постоянное магнитное поле наблюдается Эффект Зеемана, связанный со снятием вырождения электронов по энергии и расщеплением их электронных уровней на два подуровня, разделенных энергией, величина которой зависит от напряженности приложенного поля. Помимо постоянного поля, прикладывают еще и высокочастотное переменное электромагнитное поле. Частота этого поля обычно имеет значения в диапазоне от 9 до 10 ГГц. На рисунке 6 показано расщепление энергетических уровней электронов, связанное с помещением образца в постоянное магнитное поле.

Рисунок 6 - Расщепление уровней электрона при помещении образца в постоянное магнитное поле.

Распределение электронов по подуровням подчиняется принципу Больцмана, поэтому на уровне с минимальной энергией количество электронов выше. Если частота внешнего переменного электромагнитного поля будет такая, что энергия кванта будет совпадать с энергетическим зазором между уровнями, то будет наблюдаться резонансное поглощение. Однако на практике чаще изменяют не частоту переменного поля, а величину приложенного постоянного поля [22].

На частоту резонанса оказывают влияние многие факторы: форма образца, магнитная анизотропия, доменная структура. Влияние формы образца и энергии магнитной анизотропии учитывается в модели Киттеля. Учет влияние формы образца сводится с вводом размагничивающих факторов , сумма которых в системе СГС равна 4р, а в системе СИ она равна 1, что показано в формуле (15):

. (15)

Предполагается, что сам ферромагнетик при этом имеет форму эллипсоида вращения. Дальнейший учет размагничивающих факторов и приводит к определению нескольких стандартных моделей, применяемых на практике: тонкая пластинка

,  или , ,

сфера

,

бесконечный цилиндр

,  или ,  [22].

Сама формула определения резонансной частоты выглядит следующим образом:

 (16)

где  - это переменная намагниченность вдоль оси приложенного внешнего постоянного магнитного поля;

 - напряженность внешнего магнитного поля.

В публикации [23] отражен результат исследования методом ФМР наночастиц Co размером от 5 до 9 нм, покрытых полимерной оболочкой. Полученный спектр ФМР и его первая производная показаны на рисунке 7.

Рисунок 7 - Спектр ФМР наночастиц Co в полимерной оболочке: (а) - первая производная спектра, (b) - спектр полученный интегрированием спектра (a)

Для измерения характеристик магнитной анизотропии ФМР спектрометры оборудованы механизмом вращения образца. Благодаря этому получают серию спектров, при разных углах подмагничивания (различных ориентациях постоянного магнитного поля к плоскости образца). При этом как правило поле, при котором наблюдается резонанс смещается от первоначального положения. Угловая зависимость резонансного поля, полученная для, например, ионов кобальта в полимерной матрице и описанная в работе [24], показана на рисунке 8.

Рисунок 8 - Угловая зависимость резонансного поля, полученная для серии полимерных образцов, содержащих наночастиц кобальта

Из рисунка 8 видно, что при определенных ориентациях образца будет наблюдаться максимальная резонансная частота, а для других минимальная. Это связано с явлением магнитной анизотропии, и наличии в образце осей легкого и трудного намагничивания. Намагниченность образца вдоль оси легкого намагничивания всегда выше. В данном случае представлена одноосная анизотропия, для которой характерно наличие одной оси легкого намагничивания.

.4 Методы получения наночастиц в полимерах

.4.1 Общая характеристика методов получения магнитных наночастиц

Все методы получения наночастиц магнитных металлов можно разделить на физические методы и химические. К физическим методам относят различные механические методы диспергирования, конденсационные методы осаждения из газовой фазы, и другие эпитаксиальные методы (с использованием явления самоорганизации), не связанные с химическими превращениями веществ. Все эти методы дают хорошие результаты, но как правило, такие методы связаны с использованием сложного технического оборудования и затрат высоких энергий. Также проблематичной является стабилизация готовых наночастиц, что ограничивает их использование в магнитных наноматериалах, в частности в магнитных системах записи информации. Химические методы получения наночастиц, могут предоставить более гибкие условия, позволяющие получать большое разнообразие наночастиц. Химический синтез можно проводить как в газовой, так и в жидких средах. Особое внимание следует уделить методам стабилизации наночастиц при синтезе в жидких средах, поскольку высокая площадь поверхности и большая избыточная поверхностная энергия может приводить к агрегации наночастиц. Чаще всего для стабилизации наночастиц используют поверхностно-активные вещества, которые окружают образующиеся наночастицы и оберегают их от агрегации. Особое место занимает синтез в, так называемых, нанореакторах, который еще иногда называют синтезом в водно-органических средах. Наночастицы в этом случае как правило получают химическим восстановлением при смешивании двух растворов, содержащих мицеллы, внутри которых находятся в одном мицеллярном растворе водный раствор соли необходимого металла, а в другом - водный раствор восстановителя. При смешивании мицеллы объединяются и образуют наночастицы металлов, ограничителем роста будет служить сама мицелла [6, 7].

Другим видом стабилизации наночастиц служит присутствие твердой полимерной матрицы. Как правило, такие структуры имеют поры, выступы, впадины и другие неровности, которые являются местом, на котором закрепляются образующиеся наночастицы и их перемещение ограничивается. При этом не обязательно использование именно органических полимеров, неогранические тела, обладающие ажурной структурой также могут служить хорошими стабилизаторами наночастиц. Примером использования неорганических стабилизаторов, может быть стабилизация наночастиц рения в цеолите [25].

Синтез может происходить на поверхности нерастворимых полимерных гранул. Наиболее часто в этом случае для получения наночастиц кобальта или железа применяют метод термического разложения октакарбонила кобальта или пентакарбонила желаза.

Далее можно подробнее рассмотреть химические методы, применяемые для получения наночастиц переходных металлов группы железа, наиболее встречаемые в литературе. Также подробный акцент будет сделан на управление магнитными свойствами изменением условий синтеза.

.4.2 Получение наночастиц переходных металлов методом термического разложения

Авторами [18] метод термического разложения ацетата кобальта и пентакарбонила железа были получены наночастицы кобальта на поверхности ультрадисперсного политетрафторэтилена. В емкость, содержащую минеральное масло, вначале добавляли необходимое количество металлсодержащего прекурсора, а затем гранулы политетрафторэтилена; синтез проводили методом термического разложения в атмосфере аргона. Авторами было замечено, что гранулы политетрафторэтилена вначале располагаются на поверхности, а затем по мере наполенения их поверхности наночастицами металла они переходили в более глубокие слои, постоянное перемешивание системы обеспечивало равномерность заполнения гранул политетрафторэтилена наночастицами. После получения необходимого количества материала, минеральное масло заменяли на бензоле и высушивали под вакуумом. Авторами было достигнуто содержание наночастиц в полимерной матрице 5% по массе.

Дальнейшее исследование наночастиц на просвечивающем электронном микроскопе показало, что средний размер наночастиц железа равен 6 нм, а средний размер наночастиц в случае кобальта равен 4,7 нм. Также показано, что частицы имеют сферическую форму. Данные элементарного анализа показали, что содержание кобальта и железа по массе равно соответственно 3,9%, и 4.1%. Исследование магнитных свойств образца содержащего кобальт показало, что при комнатной температуре коэрцитивная сила равна 300 Э и увеличивается до 600 Э при температуре 4.2 К. Наибольшее значение намагниченности около 0,4 emu/g (при 6 кЭ). Исследование кривых FC и ZFC показало типичное для однодоменных частиц поведение: с увеличением температуры магнитный момент растет и достигает максимального значения. Однако при температурах ниже 25 К было обнаружено нетипичное для наночастиц поведение, которое авторы объясняют возможным присутствием фазы CoF2. Исследования образца содержащего железо показало типичное ферромагнитное поведение при комнатной температуре с коэрцитивной силой 150 Э. При температуре 5 К коэрцитивная сила увеличивалась до 700 Э. Наивысшая намагниченность составляла 0,58 emu/g (при 7 кЭ). Также авторами были рассчитаны константы магнитной анизотропии для обоих образцов.

Анализ свойств полученного материала показывает, что он может быть использован в магнитных средствах записи информации и в других областях.

Другой пример использования метода термического разложения для получения наночастиц кобальта описан в работе [26]. В качестве прекурсора использовали формиат кобальта Co(HCOO)2·2H2O. В предварительно нагретое минеральное масло до температуры меньшей, чем необходимо для термического разложения, медленно по каплям добавляли формиат кобальта. Затем масло нагрели до необходимой температуры в атмосфере аргона, чтобы как можно снизить оксидацию. Полученные наночастицы затем отделяли центрифугированием. Размер полученных частиц затем был оценен с помощью просвечивающей электронной микроскопии и составил около 13,8 нм. С помощью рентгеновской дифракции размер частиц был уточнен и оказался равным 9,0 ± 0,8 нм. Также из рентгеноструктурного анализа видно, что в конечном продукте присутствуют оксиды кобальта. Исследований магнитных свойств авторы не проводили, но раз частицы имеют размер существенно меньший чем критический размер перехода в однодоменное состояние, то следует ожидать, что при комнатной температуре частицы могут иметь суперпарамагнитное состояние.

.4.3 Получение наночастиц методом химического восстановления

Большой раздел методов получения наночастиц занимают методы получения химическим восстановлением металлов из водных растворов их солей. Чаще всего для получения наночастиц переходных металлов в качестве восстановителя используют тетрагидроборат натрия и гидразин. Первый из них применяют в водных растворах, тогда как гидразин наиболее эффективен в спиртовых растворах.

В работе [27] описан способ получения наночастиц никеля восстановлением гидразином в чистом этаноле, стабилизатором служил поливинвилпирролидон. Порядок синтеза выглядел следующим образом: в колбу содержащую чистый этанол добавляли NiCl2·6H2O и поливинилпирролидон и перемешивали, добиваясь полного их растворения, затем добавляли гидразин. Для обеспечения прохождения реакции необходима щелочная среда (pH больше 8), и повышенная температура (60 °С), поэтому добавляли NaOH и емкость нагревали. Через 5 минут раствор приобретал черный цвет, что свидетельствовало об образовании наночастиц никеля. Полученные наночастицы отделяли центрифугированием и проводили исследование их свойств.

По данным исследования на просвечивающем электронном микроскопе видно, что частицы хорошо распределены внутри полимерной матрицы и имеют средний размер 3 нм. Исследование кривых ZFC и FC, полученных с помощью магнитометрии, показало, что частицы при комнатной температуре ферромагнитны, однако проявляют типичное для однодоменных частиц поведение с температурой блокировки 14 К.

Наночастицы никеля в такой же матрице, но которые представляют собой агрегаты более мелких частиц, получены другими авторами в работе [10]. Условия восстановления были примерно такие же, как и в предыдущем случае, однако вместо этанола был использован водный раствор. Авторы проводили серию опытов, варьируя количество полимера, что впоследствии приводило к различным результатам. Полученный материал затем отмывали водой и спиртом и сушили при температуре 50 °C.

По данным растровой электронной микроскопии размер полученных частиц был около 100 нм. Форма наночастиц была достаточно интересной, частицы имели сферическую форму и были покрыты остроконечными иглами длиной от 20 до 100 нм. По данным рентгеноструктурного анализа удалось подтвердить, что частицы размером 100 нм состоят из более мелких кристаллитов, средний размер которых увеличивался при увеличении количества вводимого полимера. Авторами были получены образцы со средним размером кристаллитов 15,6 нм, 16,3 нм, 17,0 нм и 17,9 нм.

При комнатной температуре материал показывает ферромагнитное поведение: коэрцитивная сила равна 304 Э, намагниченность

насыщения - 52,5 emu/g, остаточная намагниченность - 9,6 emu/g. Коэрцитивная сила заметно выше, коэрцитивной силы массивного никеля (100 Э), а намагниченность насыщения немного меньше.

Наночастицы кобальта или железа можно получить восстановлением CoCl2·6H2O и FeCl3·6H2O боргидридом в водном растворе в присутствии полимерной матрицы. Авторы [12] получали наночастиц Fe и Co, распределенные в полидиметилсилоксановой полимерной матрице. Однако сам процесс включал в себя несколько стадий: вначале получали наночастицы Fe или Co в водном растворе восстановлением боргидридом и при этом их стабилизировали олеиновой кислотой; потом полученные наночастицы переносили в растворенный полидиметилсилоксановый полимер, на следующем этапе полимер подвергали нагреванию до 100 °C, что приводило к его затвердеванию. В результате получали гибкие полимерные мембраны, содержащие магнитные наночастицы железа или кобальта.