Материал: Д6757 Балюбаш ВА Средства автоматизации Ч1

Внимание! Если размещение файла нарушает Ваши авторские права, то обязательно сообщите нам

Простейшие магнитные усилители без обратной связи выполняются в виде двух одинаковых трансформаторов (рис. 11).

Рис. 11

Изменяя степень магнитного насыщения сердечников путѐм подмагничивания их постоянным током, можно в широких пределах изменять индуктивность рабочих обмоток.

Усиливающий сигнал постоянного тока поступает (Iy) в управляющие обмотки у трансформаторов и вследствие нелинейности характера кривой намагничивания сердечников вызывает уменьшение их магнитной проницаемости и пропорциональное уменьшение индуктивности L1 рабочих обмоток.

Токи I1 и I2 протекающие соответственно в рабочей и управляющей обмотках трансформаторов, создают магнитные поля, которые в течение одного полупериода переменного тока в одном из сердечников имеют одинаковые, а в другом – противоположные направления.

В результате первый сердечник насыщается, а второй остаѐтся ненасыщенным.

Для ненасыщенного сердечника справедливо уравнение обычного трансформатора:

I1 p = I p + I2 у ,

где I– намагничивающий ток трансформаторов.

21

При отсутствии сигнала на входе усилителя I2 = 0 и I1 = I , среднее значение тока нагрузки имеет минимальное значение, равное току холостого хода трансформатора Iхх.

При наличии существенного сигнала Iу на входе усилителя можно пренебречь слагающей I p в правой части уравнения по сравнению с I2 у. Тогда, интегрируя, в пределах полупериода, в течение которого рассматриваемый сердечник не насыщен, получим

,

т.е. ток нагрузки определяется лишь током управления и конструктивными параметрами усилителя и не зависит от нагрузки.

Существенным недостатком таких магнитных усилителей является их относительно высокая инерционность, которую характеризуют постоянной времени Ту цепи управления.

Лучшими динамическими характеристиками, т.е. меньшей инерционностью при данном kр, обладают магнитные усилители с самонасыщением.

Основными различительными признаками магнитных усилителей являются:

статическая характеристика – однотактные (нереверсивные) и двухтактные (реверсивные);

способ осуществления обратной связи – без ОС и с ОС (внешней, внутренней, смешанной) и т.д.

Двухтактные магнитные усилители с выходом на несущей частоте применяются в основном для управления двигателями переменного тока и их реверсирования. Двухтактные магнитные усилители с выходом на постоянном токе используются для управления двигателями постоянного тока и их реверсирования, а также для управления полем генератора постоянного тока, поляризованными электромагнитными реле, муфтами и т.д.

Система управления магнитный усилитель-двигатель постоянного тока имеет недостаток, заключающийся в низких энергетических показателях реверсивных систем, поэтому промышленностью выпускаются только комплектные нереверсивные приводы системы магнитный усилитель-двигатель. Магнитные усилители применяют в приводах переменного тока для питания двухфазных двигателей.

22

5.1. Трансформаторы

Трансформатор служит для преобразования электрической энергии переменного тока с одними значениями параметров (напряжение, ток, их форма, число фаз) в электрическую энергию с другими значениями параметров при неизменной частоте.

По назначению трансформаторы подразделяются на:

Силовые – для передачи электроэнергии на большие расстояния; обеспечения стандартного выходного напряжения в вентильных преобразователях, выпрямляющих переменный ток или преобразующих постоянный ток в переменный (инверторы); сварка; питания электротермических установок и пр.

Малой мощности – трансформаторы питания для устройств автоматики и телемеханики, связи, цепей радио и телевизионной аппаратуры.

Пик трансформаторы – для преобразования синусоидальной формы напряжения в пикообразную.

Измерительные трансформаторы тока и напряжения для расширения пределов измерения амперметров, вольтметров, ваттметров и обеспечения безопасности обслуживающего персонала.

Импульсные трансформаторы для преобразования сигналов в импульсных схемах.

Трансформаторы питания работают на частоте 50 Гц и выше, рассчитываются на невысокие напряжения и мощность до нескольких кВА, выполняются 2-, 3-и многообмоточными.

Основные части трансформатора: магнитопровод (сердечник) и расположенные на нѐм обмотки.

Магнитопровод усиливает электромагнитную связь между обмотками. Для уменьшения потерь на вихревые токи сердечники делают шихтованными из изолированных пластин электротехнической стали или ленточными при частоте 50 Гц. В высокочастотных и импульсных трансформаторах применяют прессованные сердечники из ферритов. Направления ЭДС (Е), наводимых в обмотках, зависят от направления намотки их витков. Различают правые и левые обмотки. Если обмотки, находящиеся на одном магнитопроводе, имеют одинаковое направление намотки витков, то наведѐнное в них Е1 и Е2 совпадают по фазе, если же они имеют разные направления, то их ЭДС будут находиться в противофазе, т.е. сдвинуты на 180о. Применяются

23

различные системы охлаждения. В системах автоматики чаще всего применяют однофазные силовые трансформаторы малой мощности и трансформаторы питания с воздушным охлаждением.

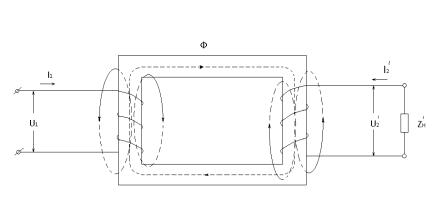
Работа любого трансформатора основана на явлении электромагнитной индукции (рис. 12).

Рис. 12

Если к первичной обмотке трансформатора подвести напряжение U1 при разомкнутой вторичной обмотке (холостой ход), то по первичной обмотке потечѐт ток холостого хода io, который вызовет появление МДС iow1 первичной обмотки, а последняя в свою очередь создаст магнитный поток Ф в сердечнике.

Этот поток сцеплен с обеими обмотками, поэтому в первичной обмотке наводится ЭДС

,

а во вторичной

.

Если ко вторичной обмотке подключить нагрузочное сопротивление z’н, то по обмотке потечѐт ток I2, а его МДС i2w2 создаст магнитный поток Ф2, направленный встречно по отношению к основному потоку Ф. Появляется результирующий поток, который почти равен потоку Ф, при холостом ходе, т.к. размагничивающее действие потока Ф2 компенсируется увеличением МДС i1w1 на величину i2w2. Помимо основного потока в трансформаторе существуют потоки

24

рассеивания, так как потоки рассеивания и активные сопротивления обмоток трансформатора малы, действующие значения напряжения U1 и ЭДС Е1 приближѐнно равны

U1

Е1

= 4,44 w1

U2

Е2

= 4,44 w2

Е1/ Е2 = w1/w2 = k - коэффициент трансформации.

Автотрансформаторы – трансформаторы у которых часть обмотки принадлежит одновременно и первичной и вторичной системам (рис. 13).

Рис. 13

В автотрансформаторе ток I1 течѐт только по части обмоток автотрансформатора. По общей обмотке в автотрансформаторах течѐт

ток Iах = I1 + I2 = I2 (1 – 1), т.к. I1 = – I2 /kат.

Таким образом в понижающем автотрансформаторе ток Iах течѐт по общей части обмотки а – х в направлении обратном току I1 и согласно с током I2. Преимуществом автотрансформатора является меньшие изменения (отклонения) трансформируемого напряжения и больший КПД.

Недостатками автотрансформаторов являются больший ток короткого замыкания и опасность попадания высокого напряжения в сеть низкого.

25