Материал: Д6757 Балюбаш ВА Средства автоматизации Ч1

Внимание! Если размещение файла нарушает Ваши авторские права, то обязательно сообщите нам

Рис. 2

Между статической и предельной динамической тяговыми электромеханическими характеристиками при одном и том же напряжении лежит множество динамических тяговых характеристик (Q1, Q2), определяемых видом механических характеристик ЭМ.

Под механической характеристикой ЭМ или, противодействующей, понимают зависимость Qмех ( ), результирующей силы сопротивления движению якоря, приложенной к нему и приведѐнной к рабочему зазору , от величины последнего (или момента сопротивления от угла поворота якоря).

2.3. Динамика электромагнита

Под инерционностью ЭМ понимают запаздывание перемещения якоря по сравнению с изменениями входного напряжения. Она определяется отставанием изменения тока в обмотке от изменения приложенного к ней напряжения и механической инерцией якоря, и связанных с ним подвижных частей. Динамические свойства ЭМ

11

как элемента дискретного действия характеризуются временными параметрами: временем срабатывания tсрб и временем отпускания tотп (рис. 3).

,

где н – электромагнитная постоянная времени обмотки.

Рис. 3

2.4. Электромагниты поляризованные

Принципиальное отличие поляризованных электромагнитов от нейтральных состоит в зависимости направления перемещения якоря от полярности управляющего напряжения Uр прикладываемого к рабочей обмотке (рис. 4).

12

Рис. 4

Это достигается наведением двух магнитных потоков: Фр – создаваемого постоянным напряжением полярность которого может меняться, и поляризующего Фп образуемого или постоянным магнитом, или электромагнитом постоянного тока с неизменной полярностью питающего напряжения.

Различают три основные конструктивные схемы магнитопроводов: последовательную, параллельную (дифференцированную) и мостовую.

2.5. Электромагниты переменного тока

Якорь ЭМ притягивается и в том случае, если на обмотку подаѐтся переменное напряжение. Учитывая, что магнитный поток в магнитопроводе будет синусоидальным и, использовав уравнение Максвелла определим:

,

где QТm – амплитуда тягового усилия, неизменного по знаку, но пульсирующего с удвоенной частотой.

Значит, в общем случае ЭМ постоянного тока при прочих равных условиях развивает большую силу притяжения, чем ЭМ переменного тока.

13

Вид тяговой характеристики ЭМ переменного тока определяется соотношением активного и индуктивного сопротивлений обмотки (рис. 5).

Рис.5

Так как зависимость тягового усилия от магнитного потока имеет синусоидальный характер, то в некоторые моменты времени тяговое усилие QТ обращается в 0. При наличии противодействующей силы Qмех., стремящейся оторвать якорь от сердечника и изменяющейся в соответствии с механической характеристикой ЭМ, может возникнуть вибрация якоря. При частоте переменного тока 50 Гц якорь совершает 100 колебаний в секунду, что нежелательно и приводит к повышенному износу при механическом взаимодействии якоря и сердечника, а также возникает шум.

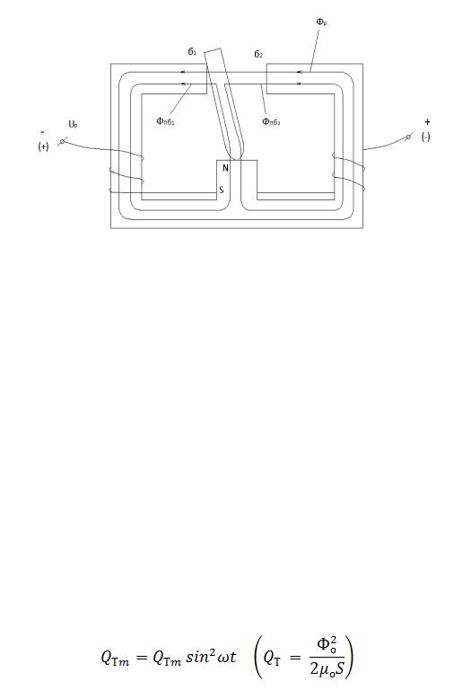
Одно из эффективных средств против вибрации якоря – уменьшение пульсаций тягового усилия с помощью магнитных экранов (коротко замкнутых витков), охватывающих часть сечения магнитопровода (рис. 6).

Можно доказать, что создаваемые ими тяговые усилия QТа и QТв сдвинуты на некоторый угол 2 и значит обращаются в 0 неод-

14

новременно, отсюда следует, что результирующее тяговое усилие QТ = QТа + QТв в любой момент времени не равно нулю.

Рис. 6

Для исключения вибрации якоря можно использовать 2-или 3-фазные ЭМ с токами в обмотках сдвинутыми по фазе по отношению друг к другу.

Если с якорем сочленены инерционные элементы (механизмы), то он утяжеляется, что предотвращает вибрацию с частотой 2 . Однако чувствительность ЭМ при этом снижается.

3. Электромагнитные муфты

Электромагнитные муфты осуществляют передачу вращающего момента с ведущего вала (вала приводного двигателя чаще всего) на соосный ведомый вал (вал приводимого механизма, механической нагрузки). Ниже (рис. 7) представлена их классификация.

15