Материал: Д6757 Балюбаш ВА Средства автоматизации Ч1

Внимание! Если размещение файла нарушает Ваши авторские права, то обязательно сообщите нам

отличаются тем, что запорное устройство имеет вид плоской пластины, полностью или частично перекрывающей сечение трубопровода.

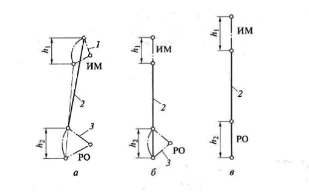
На рис. 50, а показана кинематическая схема соединения ИМ, выходной элемент которого имеет вращательное движение с РО, который также имеет вращательное движение. По такой схеме могут соединятся электродвигательный ИМ с РО типа «кран» или «вентиль». Кривошип 1 представляет собой диск или рычаг, закрепленные на выходном вале ИМ. Кривошип 3 - рукоятка крана или вентиля. Между собой они соединяются шатуном (штоком) 2. При соединении с вентилем применяют многооборотные ИМ.

На рис. 50, б показана кинематическая схема соединения ИМ, выходной элемент которого имеет поступательное движение (шток 2), с РО, имеющим вращательное движение (кривошип 3). По такой схеме соединяются пневматические ИМ с кранами.

На рис. 50, в показана кинематическая схема соединения пневматического ИМ с РО типа «клапан» или «задвижка». Передача движения происходит с помощью штока 2.

Рис. 50 (а–в)

66

СПИСОК ЛИТЕРАТУРЫ

1.Подлипенский В.С., Сабинин Ю.А., Юрчук Л.Ю. Элемен-

ты и устройства автоматики / Под ред. Ю.А. Сабинина. – СПб.: Политехника, 1995.

2.Юферов Ф.М. Электрические машины автоматических устройств. – М.: Высш. шк., 1998.

3.Шишмарев В.Ю. Типовые элементы систем автоматики. – М.: Изд. центр «Академия», 2004.

4.Коновалов Л.И., Петелин Д.П. Элементы и системы автоматики. – М.; Высш. шк., 1985.

5.Стегаличев Ю.Г., Васильев А.И. Технические средства ав-

томатизации для перерабатывающих производств Агропрома: Учеб. пособие. – СПб.: ЛТИ им. Ленсовета,1992.

6.Погорелов В.И. Элементы и системы гидропневмоавтоматики: Учеб. пособие.– Л.: Изд-во Ленингр. ун-та, 1979.

7.Селевцов Л.И. Автоматизация технологических процессов. – М.: Изд. центр «Академия», 2011.

67

СОДЕРЖАНИЕ

Введение ……………………………………………………………… 3

1.Исполнительные устройства ……………………………………. 9

2.Электромагниты …………………………………………………. 9

2.1.Электромагниты постоянного тока ……………………. 9

2.2.Тяговая и механическая характеристики ЭМ ………… 10

2.3.Динамика электромагнита ……………………………... 11

2.4.Электромагниты поляризованные ………...................... 12

2.5.Электромагниты переменного тока …………………… 13

3.Электромагнитные муфты ……………………………………… 15

3.1.Ферропорошковые муфты ……………………………… 18

3.2.Муфты скольжения ……………………………………... 19

4.Герконы (герметизированные магнитоуправляемые контакты) ………………………………………………………… 19

5.Магнитные усилители …………………………………………... 20

5.1.Трансформаторы ……………………………………….... 23

6.Феррорезонансные устройства ………………………………….26

6.1.Принципы построения феррорезонансных стабилизаторов напряжения …………………………… 27

6.2.Феррорезонансные преобразователи частоты ………... 32

7.Электромашинные устройства (ЭМУ)…………………………. 32

7.1.ЭМУ постоянного тока с преобразователями ………... 32

7.2.Электромашинные усилители …………………………. 33

7.3.Тиристорные приводы …………………………………. 37

7.4.Импульсное управление двигателями ………………… 40

7.5.Вентильные двигатели …………………………………. 41

8.Электрические машины переменного тока ………………….... 43

8.1.Управление трехфазными двигателями ………………. 44

8.2.Частотное управление ………………………………….. 44

8.3.Управление двухфазными двигателями ………………. 45

9.Шаговые двигатели ……………………………………………... 46

10.Моментные двигатели ………………………………………….. 48

11.Двигатели для микроперемещений …………………………..... 49

12.Тахогенераторы …………………………………………………. 51

68

13.Гидравлические и пневматические приводы …………………. 52

13.1.Насосы и двигатели ………………………………….. 54

13.2.Распределительная часть привода …………………... 61

14.Рабочие органы исполнительных устройств ………………….. 63

Список литературы …………………………………………………. 67

69

В 2009 году Университет стал победителем многоэтапного конкурса, в результате которого определены 12 ведущих университетов России, которым присвоена категория «Национальный исследовательский университет». Министерством образования и науки Российской Федерации была утверждена программа его развития на 2009–2018 годы. В 2011 году Университет получил наименование «Санкт-Петербургский национальный исследовательский университет информационных технологий, механики и оптики».

ИНСТИТУТ ХОЛОДА И БИОТЕХНОЛОГИЙ

Институт холода и биотехнологий является преемником СанктПетербургского государственного университета низкотемпературных и пищевых технологий (СПбГУНиПТ), который в ходе реорганизации

(приказ

Министерства

образования и науки

Российской

Федерации

№ 2209

от 17 августа

2011г.) в январе 2012

года был

присоединен

к Санкт-Петербургскому национальному исследовательскому университету информационных технологий, механики и оптики.

Созданный 31 мая 1931года институт стал крупнейшим образовательным и научным центром, одним их ведущих вузов страны в области холодильной, криогенной техники, технологий и в экономике пищевых производств.

В институте обучается более 6500 студентов и аспирантов. Коллектив преподавателей и сотрудников составляет около 900 человек, из них 82 доктора наук, профессора; реализуется более 40 образовательных программ.

Действуют 6 факультетов: холодильной техники;

пищевой инженерии и автоматизации; пищевых технологий; криогенной техники и кондиционирования;

70