Материал: Д6757 Балюбаш ВА Средства автоматизации Ч1

Внимание! Если размещение файла нарушает Ваши авторские права, то обязательно сообщите нам

Неуправляемые

Сэлектрическим

управлением

Со связью через поле

Скольжения

(индукционные, асинхронные)

Муфты

Управляемый

С электромеханической связью (ферропорошковые)

С электромагнитным управлением

С механическим управлением

Сгидравлическим

управлением

Смеханической связью (фрикционные)

Сэлектромагнитным управлением

С элек-

 

 

 

С магнитным

 

С магнитоэлектри-

 

 

 

управлением

 

ческим

троста-

 

Гис-

 

 

 

 

 

 

управлением

тиче-

 

тере-

 

 

 

 

 

 

 

 

 

 

 

ским

 

зис-

 

 

 

 

управ-

 

ные

 

 

 

 

лением

 

 

 

 

 

 

 

 

 

 

Рис. 7

 

 

 

 

 

 

 

 

16

Управляемые муфты по виду статической характеристики скорость вращения ведомого вала – сигнал управления бывают релейными и аналоговыми. Первые после подачи сигнала управления осуществляют жѐсткое сцепление валов, а вторые – гибкое сцепление (скорость ведомого вала нарастает плавно).

Фрикционные муфты (ФМ) – предназначены в основном для жѐсткого сцепления валов. Гибкое сцепление возможно только путѐм импульсного управления. Они являются муфтами сухого трения с механической связью, характеризуются большим разнообразием конструкций и схем управления.

На рис. 8 представлена однодисковая нереверсивная ФМ, состоящая из двух цилиндрических полумуфт.

Основное достоинство – простота конструкции, но при росте передаваемого вращающего момента, значительно увеличиваются еѐ размеры.

Рис. 8

При прочих равных условиях габариты значительно меньше у многодисковых ФМ. Больший передаваемый момент связан с необходимостью увеличивать ДН. Если же предусмотреть в ФМ несколько дисков m > 2, то при прочих равных условиях значение ДН существенно уменьшается с ростом m.

17

=

,

где kR = RВ/RН; доп. – допустимое удельное давление;

 

kтр. – коэффициент трения.

 

3.1. Ферропорошковые муфты

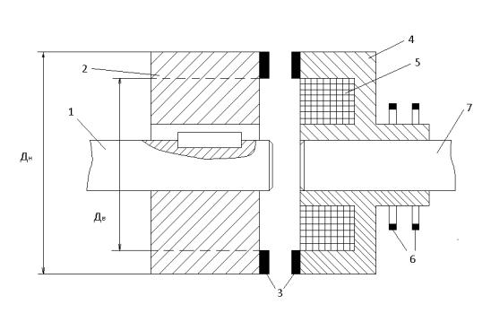
Предназначены для гибкого сцепления валов. Конструктивное отличие ферропорошковых муфт (ФПМ) с сухим или жидким наполнителем и электромагнитным управлением от рассмотренных выше фрикционных муфт заключается в том, что, во-первых, полумуфта на ведомом валу посажена жѐстко и, во-вторых, неизменный воздушный зазор заполнен магнитодиэлектриком (сталь, легированная хромом или никелем, карбонильное железо, пермаллой и др.) (рис. 9).

Рис. 9

В ФПМ при данном токе магнитные связки выдерживают определѐнный предельный момент сопротивления Мс; при М < Мс эти связки разрушаются, муфта начинает проскальзывать, связки опять восстанавливаются и рвутся и т.д. Из-за такого импульсного воздействия частоты вращения u1 и u2 неравны и ведомый вал вращается со скольжением.

18

3.2. Муфты скольжения

Они предназначены в основном для гибкого сцепления валов и регулирования частоты вращения ведомого вала при нерегулируемом приводном двигателе. Их называют также асинхронными, индукционными, муфтами со связью через поле с электромагнитным управлением.

4. Герконы (герметизированные магнитоуправляемые контакты)

Герконы могут быть замыкающими, размыкающими или переключающими: сухими (с твердыми контактами) и жидкометаллическими с контактами смоченными ртутью, что позволяет достичь наибольшей коммутируемой мощности до 250 Вт и максимальной износоустойчивости (число включений 108), избежать разрывов при вибрации контактов, стабилизировать их переходные сопротивления и др.; нейтральными и поляризованными, язычковыми, мембранными, с жѐстким подвижным контактным сердечником и возвратной пружиной и без неѐ (рис. 10, а–в).

В простейшем герконе пластины (стержни) выполняют функции участка магнитопровода, отключающих пружин, участка управляемой электрической цепи и контактов.

а

б

в

Рис. 10 (а–в)

19

Кроме рассмотренных в герконных реле применяют дифференциальные и мостовые магнитные системы, с помощью нескольких обмоток (или постоянных магнитов) реализуют различные логические функции; разработаны схемы силовых герконов (герсиконов), герконов с памятью (гезаконов), многоконтактных герконов и др.

Герконные реле в общем случае могут иметь несколько контактов и обмоток, внешние магнитопроводы, поляризующие постоянные магниты, экраны, от воздействия внешних магнитных полей и др. конструктивные элементы.

Ферриды – герметизированные магнитоуправляемые контакты с элементами магнитной памяти. В отличие от герконов, выполняющих функцию памяти с помощью постоянных магнитов и управляющих сигналов длительностью десятые доли миллисекунд, в ферридах длительность последних уменьшена до десятков микросекунд.

5. Магнитные усилители

Электромагнитное устройство, основной частью которого являются дроссели насыщения (ДН), соединенные по определенной схеме, представляют собой магнитный усилитель (МУ), если это устройство предназначено для усиления сигналов.

Дросселем насыщения называют ферромагнитный сердечник, с двумя обмотками, одна из которых предназначена для питания переменным током одной частоты, а другая постоянным током или переменным током другой, существенно отличной частоты. Обмотка более низкой частоты или постоянного тока называется обмоткой подмагничивания или управления, а более высокой частоты – рабочей обмоткой.

В магнитном усилители используется зависимость магнитной проницаемости ферромагнитных материалов для переменного магнитного потока от подмагничивающего постоянного магнитного поля или другого переменного поля отличной частоты (fp 5fy) с целью усилить входной сигнал.

Магнитным усилителем называется усилитель электрических сигналов, действие которого основано на использовании нелинейности характеристик ферромагнитных материалов.

20